公布日:2023.12.19
申請日:2023.08.24
分類號:F23G7/00(2006.01)I;F23G5/04(2006.01)I;F23G5/20(2006.01)I;F23G5/44(2006.01)I;F23G5/46(2006.01)I;C02F11/13(2019.01)I
摘要
本發明公開一種基于能量球和連續式外爐的焚燒污泥裝置,涉及焚燒法固廢處理設備技術領域,包括三回程連續式污泥處理裝置、進料裝置、回轉驅動裝置和燃燒加溫裝置,所述三回程連續式污泥處理裝置包括內焚燒爐、中干燥爐、外干燥爐、出氣封套和端部封套,所述中干燥爐套裝在內焚燒爐外,所述外干燥爐套裝在中干燥爐外,所述出氣封套和端部封套設置在外干燥爐的左右兩端。本發明通過將內焚燒爐、中干燥爐和外干燥爐三個爐體相互套裝,實現連續式的干燥焚燒一體處理流程,減小設備占地面積,提高了污泥處理產能;將內爐設為內焚燒爐,利用被干燥污泥自身燃燒的高溫反過來對外圍的中干燥爐和外干燥爐的濕污泥進行脫水,實現了熱量的重復利用。

權利要求書
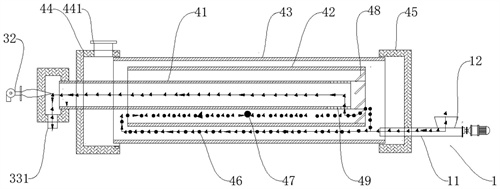
1.一種基于能量球和連續式外爐的焚燒污泥裝置,其特征在于:包括三回程連續式污泥處理裝置、進料裝置(1)、回轉驅動裝置(2)和燃燒加溫裝置(3),所述三回程連續式污泥處理裝置包括內焚燒爐(41)、中干燥爐(42)、外干燥爐(43)、出氣封套(44)和端部封套(45),所述中干燥爐(42)套裝在內焚燒爐(41)外,所述外干燥爐(43)套裝在中干燥爐(42)外,所述出氣封套(44)和端部封套(45)設置在外干燥爐(43)的左右兩端;所述進料裝置(1)設置在端部封套(45)一側,穿過端部封套(45)設置的進料孔,向外干燥爐(43)內輸送待處理污泥(46)和能量球(47);所述回轉驅動裝置(2)用于驅動內焚燒爐(41)、中干燥爐(42)和外干燥爐(43)一體旋轉;所述燃燒加溫裝置(3)設置在出氣封套(44)的端部,用于焚燒內焚燒爐(41)內的污泥。
2.根據權利要求1所述的一種基于能量球和連續式外爐的焚燒污泥裝置,其特征在于:所述三回程連續式污泥處理裝置還包括多個斜溜板(48)和能量球篩網(49),所述能量球篩網(49)設置在內焚燒爐(41)的進料端,用于通過分離待處理污泥(46)和能量球(47),多個斜溜板(48)分別設置在中干燥爐(42)的內側,用于將與待處理污泥(46)分離后的能量球(13)導溜到外干燥爐(43)內,與待處理污泥(46)再次混合運行。
3.根據權利要求2所述的一種基于能量球和連續式外爐的焚燒污泥裝置,其特征在于:能量球篩網(49)的網眼孔徑小于能量球(47)直徑的一半。
4.根據權利要求2所述的一種基于能量球和連續式外爐的焚燒污泥裝置,其特征在于:能量球(47)包括導熱外殼(471)和內核儲熱體(472),所述內核儲熱體(472)設置在導熱外殼(471)內部。
5.根據權利要求2所述的一種基于能量球和連續式外爐的焚燒污泥裝置,其特征在于:出氣封套(44)的側面設置內焚燒爐(41)通過孔,內焚燒爐(41)的尾部穿過通過孔,所述燃燒加溫裝置(3)設置在內焚燒爐(41)的尾部。
6.根據權利要求5所述的一種基于能量球和連續式外爐的焚燒污泥裝置,其特征在于:燃燒加溫裝置(3)包括燃燒室(31)和燃燒器(32),所述燃燒室(31)側面設置焚燒口,底部設置出渣口,所述燃燒器(32)設置在燃燒室(31)的側面,通過焚燒口對待處理污泥(46)進行焚燒。
7.根據權利要求6所述的一種基于能量球和連續式外爐的焚燒污泥裝置,其特征在于:還包括排氣管(441),出氣封套(44)頂部設置排氣口,所述排氣管(441)設置在排氣口處。
8.根據權利要求7所述的一種基于能量球和連續式外爐的焚燒污泥裝置,其特征在于:還包括排渣管(311),所述排渣管(311)設置在燃燒室(31)底部的出渣口處。
9.根據權利要求8所述的一種基于能量球和連續式外爐的焚燒污泥裝置,其特征在于:回轉驅動裝置(2)包括左輪托組件(21)、右輪托組件(22)和電機減速機裝置(23),所述左輪托組件(21)包括左軌道環(211)和一對左滾輪(212),所述左軌道環(211)套裝在外干燥爐(43)左側外壁,一對左滾輪(212)分別抵住左軌道環(211)的外壁,所述右輪托組件(22)包括主動右軌道環(221)、從動右軌道環(222)、一對右主動滾輪(223)和一對右從動滾輪(224),所述主動右軌道環(221)和從動右軌道環(222)分別套裝在外干燥爐(43)右側外壁,一對右主動滾輪(223)分別抵住主動右軌道環(221)的外壁,一對右從動滾輪(224)分別抵住從動右軌道環(222)的外壁,所述電機減速機裝置(23)驅動其中一個右主動滾輪(223)轉權 利 要 求 書1/2頁2CN117249439A2動,實現驅動內焚燒爐(41)、中干燥爐(42)和外干燥爐(43)一體旋轉。
10.根據權利要求9所述的一種基于能量球和連續式外爐的焚燒污泥裝置,其特征在于:進料裝置(1)包括進料絞龍(11)和料斗(12),端部封套(45)設有進料口,所述進料絞龍(11)的一端穿過端部封套(45)進料口伸入到外干燥爐(43)的進料口,所述料斗(12)設置在進料絞龍(11)位于端部封套(45)外設置的進料口處,待處理污泥(46)和能量球(47)從料斗(12)投入,進料絞龍(11)將待處理污泥(46)和能量球(47)混合物送入外干燥爐(43)。
發明內容
為了解決上述技術問題,本發明提供一種基于能量球和連續式外爐的焚燒污泥裝置。采用如下的技術方案:
一種基于能量球和連續式外爐的焚燒污泥裝置,包括三回程連續式污泥處理裝置、進料裝置、回轉驅動裝置和燃燒加溫裝置,所述三回程連續式污泥處理裝置包括內焚燒爐、中干燥爐、外干燥爐、出氣封套和端部封套,所述中干燥爐套裝在內焚燒爐外,所述外干燥爐套裝在中干燥爐外,所述出氣封套和端部封套設置在外干燥爐的左右兩端;
所述進料裝置設置在端部封套一側,穿過端部封套設置的進料孔,向外干燥爐內輸送待處理污泥和能量球;
所述回轉驅動裝置用于驅動內焚燒爐、中干燥爐和外干燥爐一體旋轉;
所述燃燒加溫裝置設置在出氣封套的端部,用于焚燒內焚燒爐內的污泥。
通過采用上述技術方案,內焚燒爐外側設置中干燥爐,在中干燥爐側設置外干燥爐;出氣封套設置在外干燥爐的外緣,出氣封套的左端設置有燃燒加溫裝置;端部封套設置在外干燥爐另外一端的外部,進料裝置固定在端部封套的下部并伸入到外干燥爐的進料口;
通過將內焚燒爐、中干燥爐和外干燥爐三個爐體相互套裝,延長了污泥焚燒處理運行過程,實現連續式的干燥焚燒一體處理流程,大大減小了整個處理系統的占地面積,提高了污泥處理產能;
將內爐設為內焚燒爐,利用被干燥污泥自身燃燒的高溫反過來對外圍的中干燥爐和外干燥爐的濕污泥進行脫水,實現了熱量的重復利用,整個焚燒污泥裝置更加節能。
可選的,所述三回程連續式污泥處理裝置還包括多個斜溜板和能量球篩網,所述能量球篩網設置在內焚燒爐的進料端,用于通過分離待處理污泥和能量球,多個斜溜板分別設置在中干燥爐的內側,用于將與待處理污泥分離后的能量球導溜到外干燥爐內,與待處理污泥再次混合運行。
通過采用上述技術方案,用進料裝置將待處理污泥和能量球一起輸送到進入外干燥爐,在按順時針設置的導向板作用下,待處理污泥和能量球向尾部運行,然后落入中干燥爐內部,再按逆時針設置的導向板作用下,待處理污泥和能量球繼續向進料裝置方向運行,在其尾部時待處理污泥被多個斜溜板揚起從能量球篩網中進入內焚燒爐,繼續再按順時針設置的導向板作用下待處理污泥向內焚燒爐尾部運行,并被焚燒,而能量球不能通過能量球篩網,與進入內焚燒爐的待處理污泥分離后翻越斜溜板后與待處理污泥再次混合運行。
可選的,能量球篩網的網眼孔徑小于能量球直徑的一半。
通過采用上述技術方案,可以在不影響待處理污泥進入內焚燒爐的情況下,將能量球與待處理污泥分離。
可選的,能量球包括導熱外殼和內核儲熱體,所述內核儲熱體設置在導熱外殼內部。
通過采用上述技術方案,導熱外殼一般采用導熱性能好的金屬球體外殼制成,可以在靠近內焚燒爐運行時受熱時將熱量快速傳導給內核儲熱體存儲,在外干燥爐運行時內核儲熱體將熱量傳導給導熱外殼,實現對濕污泥進行脫水。
可選的,出氣封套的側面設置內焚燒爐通過孔,內焚燒爐的尾部穿過通過孔,所述燃燒加溫裝置設置在內焚燒爐的尾部。
可選的,燃燒加溫裝置包括燃燒室和燃燒器,所述燃燒室側面設置焚燒口,底部設置出渣口,所述燃燒器設置在燃燒室的側面,通過焚燒口對待處理污泥進行焚燒。
可選的,還包括排氣管,出氣封套頂部設置排氣口,所述排氣管設置在排氣口處。
通過采用上述技術方案,污泥焚燒后的高溫煙氣從出氣封套頂部設置的排氣口排出,還可以在排氣管處設置脫硫脫硝凈化裝置,使排出的煙氣符合環保排放要求。
可選的,還包括排渣管,所述排渣管設置在燃燒室底部的出渣口處。
通過采用上述技術方案,排渣管用于排除焚燒處理后的渣料。
可選的,回轉驅動裝置包括左輪托組件、右輪托組件和電機減速機裝置,所述左輪托組件包括左軌道環和一對左滾輪,所述左軌道環套裝在外干燥爐左側外壁,一對左滾輪分別抵住左軌道環的外壁,所述右輪托組件包括主動右軌道環、從動右軌道環、一對右主動滾輪和一對右從動滾輪,所述主動右軌道環和從動右軌道環分別套裝在外干燥爐右側外壁,一對右主動滾輪分別抵住主動右軌道環的外壁,一對右從動滾輪分別抵住從動右軌道環的外壁,所述電機減速機裝置驅動其中一個右主動滾輪轉動,實現驅動內焚燒爐、中干燥爐和外干燥爐一體旋轉。
通過采用上述技術方案,回轉驅動裝置采用左輪托組件和右輪托組件來對一體設置的內焚燒爐、中干燥爐和外干燥爐進行承載,采用電機減速機裝置來驅動旋轉,具體工作時,電機減速機裝置驅動其中一個右主動滾輪,右主動滾輪驅動主動右軌道環轉動,從而實現驅動外干燥爐,及一體設置的內焚燒爐、中干燥爐旋轉;
左輪托組件主要起穩定支撐的作用,使整個回轉驅動裝置穩定可靠。
可選的,進料裝置包括進料絞龍和料斗,端部封套設有進料口,所述進料絞龍的一端穿過端部封套進料口伸入到外干燥爐的進料口,所述料斗設置在進料絞龍位于端部封套外設置的進料口處,待處理污泥和能量球從料斗投入,進料絞龍將待處理污泥和能量球混合物送入外干燥爐。
通過采用上述技術方案,進料裝置主要基于進料絞龍實現,可以高效地將待處理污泥和能量球輸送到外干燥爐。
可選的,整個連續式的污泥處理過程還可以設置基于PLC的自動化控制器,自動化控制器可以對三回程連續式污泥處理裝置、進料裝置、回轉驅動裝置和燃燒加溫裝置的各個電控執行器進行自動化控制。
通過采用上述技術方案,可以實現連續式污泥干燥焚燒處理工藝的自動化控制,提高產能和處理質量。
綜上所述,本發明包括以下至少一種有益技術效果:
本發明能提供一種基于能量球和連續式外爐的焚燒污泥裝置,通過將內焚燒爐、中干燥爐和外干燥爐三個爐體相互套裝,延長了污泥焚燒處理運行過程,實現連續式的干燥焚燒一體處理流程,省略了連續式干燥焚燒裝置之間的輸送裝置,大大減小了整個處理系統的占地面積,提高了污泥處理產能;將內爐設為內焚燒爐,利用被干燥污泥自身燃燒的高溫反過來對外圍的中干燥爐和外干燥爐的濕污泥進行脫水,實現了熱量的重復利用,整個焚燒污泥裝置更加節能。
(發明人:李藝;肖國華)






