公布日:2024.06.14
申請日:2024.03.12
分類號:C02F9/00(2023.01)I;B01F27/70(2022.01)I;C02F1/00(2023.01)N;C02F1/48(2023.01)N
摘要
本申請提供了一種機械加工用污水回收裝置,涉及污水回收技術領域,包括箱體,箱體的內側中部設置有處理箱和沉淀箱;處理箱的頂端中部設置有過濾機構,包括有過濾箱,過濾箱的內側上端設置有漏斗型的過濾筒,過濾箱的內側底部設置有電磁鐵,過濾箱的四周上側均設置有多組濾孔;處理箱的內側中部設置有攪拌機構,攪拌機構位于過濾機構的底端中部,攪拌機構包括有轉動軸,轉動軸轉動安裝在處理箱的內側中部。本發明通過設置有過濾箱和過濾筒可以對污水中的鐵屑粉末進行過濾分離,同時,在處理箱的內側中部設置有攪拌機構,可以對藥劑和污水進行均勻攪拌,通過上述機構,可以有效的提高對污水進行過濾凈化的效率和清潔度。

權利要求書
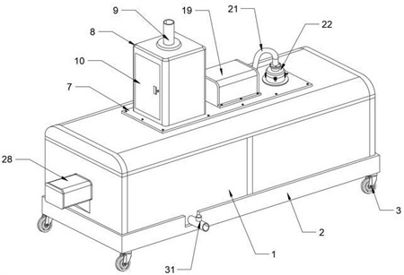
1.一種機械加工用污水回收裝置,包括箱體(1),其特征在于,所述箱體(1)的內側中部設置有處理箱(5)和沉淀箱(6);所述處理箱(5)的頂端中部設置有過濾機構,包括有過濾箱(12),所述過濾箱(12)的內側上端設置有漏斗型的過濾筒(17),所述過濾箱(12)的內側底部設置有電磁鐵(13),所述過濾箱(12)的四周上側均設置有多組濾孔(14);所述處理箱(5)的內側中部設置有攪拌機構,所述攪拌機構位于過濾機構的底端中部,所述攪拌機構包括有轉動軸(29),所述轉動軸(29)轉動安裝在處理箱(5)的內側中部,以及在轉動軸(29)的兩端中部均設置有多組攪棒(30),多組攪棒(30)呈等距分布,所述轉動軸(29)的左端中部設置有驅動電機(28),所述驅動電機(28)固定安裝在箱體(1)的左端中部。
2.根據權利要求1所述的一種機械加工用污水回收裝置,其特征在于,所述過濾箱(12)的外側設置有密封箱(8),所述密封箱(8)安裝在箱體(1)的頂端中部,所述密封箱(8)的頂端中部設置有進水管(9),所述進水管(9)的末端位于過濾筒(17)的內側上端,所述密封箱(8)的一側設置有密封門(10),所述密封箱(8)的內側兩端均設置有安裝滑槽(11),所述過濾箱(12)的兩端上側均設置有安裝滑塊(18),所述安裝滑塊(18)與安裝滑槽(11)之間進行滑動連接。
3.根據權利要求2所述的一種機械加工用污水回收裝置,其特征在于,所述過濾箱(12)的內側頂部設置有安裝環(16),所述安裝環(16)的四周中部通過連接桿與過濾箱(12)進行固定連接,所述過濾筒(17)的底部穿插在安裝環(16)的內側中部。
4.根據權利要求3所述的一種機械加工用污水回收裝置,其特征在于,所述過濾箱(12)的四周上側均設置有槽型的出水口(15),所述出水口(15)位于濾孔(14)的上端中部。
5.根據權利要求1所述的一種機械加工用污水回收裝置,其特征在于,所述箱體(1)的頂端中部設置有水泵(19),所述水泵(19)位于密封箱(8)的右端中部,所述水泵(19)的吸水端連接有抽水管(20),所述抽水管(20)固定安裝在處理箱(5)的內側右端,所述水泵(19)的出水端連接有送水管(21),所述送水管(21)的末端連接有凈水筒(24),所述凈水筒(24)的內側中部設置有凈水器濾芯。
6.根據權利要求5所述的一種機械加工用污水回收裝置,其特征在于,所述凈水筒(24)通過安裝座固定安裝在沉淀箱(6)的內側上端,所述安裝座包括有上座(22)和底座(23),所述送水管(21)的末端與上座(22)之間通過法蘭(26)進行連接,所述凈水筒(24)插接在底座(23)的內側中部。
7.根據權利要求6所述的一種機械加工用污水回收裝置,其特征在于,所述上座(22)的內側中部設置有按壓環(25),所述上座(22)與底座(23)進行插接,且通過多組鎖扣進行固定連接;其中,當上座(22)與底座(23)進行連接時,按壓環(25)可對凈水筒(24)的頂部進行按壓固定。
8.根據權利要求5所述的一種機械加工用污水回收裝置,其特征在于,所述箱體(1)的底端中部設置有支撐架(2),所述支撐架(2)的底端四周均設置有滑輪(3)。
9.根據權利要求8所述的一種機械加工用污水回收裝置,其特征在于,所述箱體(1)的內側中部設置有分隔板(4),所述分隔板(4)位于處理箱(5)與沉淀箱(6)之間,所述處理箱(5)的底端一側設置有排污管(31),所述沉淀箱(6)的右端底部設置有出水管(27)。
10.根據權利要求9所述的一種機械加工用污水回收裝置,其特征在于,所述箱體(1)的頂端中部設置有加強板(7),所述密封箱(8)、水泵(19)和底座(23)均固定安裝在加強板(7)的上端表面。
發明內容
為解決背景技術中的問題,本發明提供一種機械加工用污水回收裝置。
為實現上述目的,本發明采取的技術方案為:一種機械加工用污水回收裝置,包括箱體,所述箱體的內側中部設置有處理箱和沉淀箱;所述處理箱的頂端中部設置有過濾機構,包括有過濾箱,所述過濾箱的內側上端設置有漏斗型的過濾筒,所述過濾箱的內側底部設置有電磁鐵,所述過濾箱的四周上側均設置有多組濾孔;所述處理箱的內側中部設置有攪拌機構,所述攪拌機構位于過濾機構的底端中部,所述攪拌機構包括有轉動軸,所述轉動軸轉動安裝在處理箱的內側中部,以及在轉動軸的兩端中部均設置有多組攪棒,多組攪棒呈等距分布,所述轉動軸的左端中部設置有驅動電機,所述驅動電機固定安裝在箱體的左端中部。
上述技術方案中,通過過濾筒可以對污水中包含的大顆粒鐵屑碎料進行過濾分離,然后通過在過濾箱的內側底部設置有電磁鐵,可以對污水中的鐵屑粉末進行電磁吸附,從而實現對污水中包含的鐵屑粉末雜質進行有效的分離,然后通過在處理箱中設置有攪拌機構,可以對藥劑和污水進行均勻攪拌混合,使得藥劑和污水之間進行快速的反應,從而有效的提高了對污水進行凈化處理的工作效率。
作為上述方案的進一步改進,所述過濾箱的外側設置有密封箱,所述密封箱安裝在箱體的頂端中部,所述密封箱的頂端中部設置有進水管,所述進水管的末端位于過濾筒的內側上端,所述密封箱的一側設置有密封門,所述密封箱的內側兩端均設置有安裝滑槽,所述過濾箱的兩端上側均設置有安裝滑塊,所述安裝滑塊與安裝滑槽之間進行滑動連接。
上述技術方案中,通過設置有密封門,便于工作人員往處理箱中加入藥劑,同時通過安裝滑塊在安裝滑槽的上端中部進行滑行,從而便于工作人員對過濾箱和過濾筒進行快速的安裝或拆卸工作。
作為上述方案的進一步改進,所述過濾箱的內側頂部設置有安裝環,所述安裝環的四周中部通過連接桿與過濾箱進行固定連接,所述過濾筒的底部穿插在安裝環的內側中部。
上述技術方案中,通過安裝環可以對過濾筒起到穩定支撐的作用,同時通過把過濾筒插接在安裝環的內側中部,便于對過濾筒進行快速的拆卸或安裝。
作為上述方案的進一步改進,所述過濾箱的四周上側均設置有槽型的出水口,所述出水口位于濾孔的上端中部。
作為上述方案的進一步改進,所述箱體的頂端中部設置有水泵,所述水泵位于密封箱的右端中部,所述水泵的吸水端連接有抽水管,所述抽水管固定安裝在處理箱的內側右端,所述水泵的出水端連接有送水管,所述送水管的末端連接有凈水筒,所述凈水筒的內側中部設置有凈水器濾芯。
上述技術方案中,通過水泵可以對處理箱中完成處理后的污水抽取到沉淀箱中進行沉淀,并且,在這個過程中,通過凈水筒可以對污水進一步進行過濾凈化,從而提高水源的潔凈度。
作為上述方案的進一步改進,所述凈水筒通過安裝座固定安裝在沉淀箱的內側上端,所述安裝座包括有上座和底座,所述送水管的末端與上座之間通過法蘭進行連接,所述凈水筒插接在底座的內側中部。
上述技術方案中,通過設置有上座和底座,從而便于工作人員對凈水筒進行快速的拆卸或安裝,從而為凈水器濾芯的更換提供便利性。
作為上述方案的進一步改進,所述上座的內側中部設置有按壓環,所述上座與底座進行插接,且通過多組鎖扣進行固定連接;其中,當上座與底座進行連接時,按壓環可對凈水筒的頂部進行按壓固定。
作為上述方案的進一步改進,所述箱體的底端中部設置有支撐架,所述支撐架的底端四周均設置有滑輪。
上述技術方案中,支撐架和滑輪的設置,可以對箱體的位置進行移動。
作為上述方案的進一步改進,所述箱體的內側中部設置有分隔板,所述分隔板位于處理箱與沉淀箱之間,所述處理箱的底端一側設置有排污管,所述沉淀箱的右端底部設置有出水管。
作為上述方案的進一步改進,所述箱體的頂端中部設置有加強板,所述密封箱、水泵和底座均固定安裝在加強板的上端表面。
與現有技術相比,本發明的有益效果是:1、本方案中,通過設置有過濾筒可以對污水中的大顆粒鐵屑碎料進行過濾分離,然后通過過濾箱和電磁鐵可以對污水中的鐵屑粉末進行磁吸分離,同時,在處理箱的內側中部設置有攪拌機構,通過攪拌機構對藥劑和污水進行均勻攪拌,可以提高藥劑與污水之間進行混合反應的效率,通過上述結構,可以有效的提高對污水進行過濾凈化的效率和清潔度;2、本方案中,在過濾箱的內側兩端均設置有安裝滑槽,在過濾箱的兩端上側均設置有安裝滑塊,通過安裝滑塊在安裝滑槽中進行滑動,從而方便工作人員對過濾箱進行快速的拆卸或安裝,從而為過濾箱內的鐵屑粉末回收清理提供便利性;3、本方案中,通過在送水管的末端設置有凈水筒,可以對污水進行進一步凈化過濾,從而有效的提高水源的清潔度,并且,通過把凈水筒插接在底座的內側中部,而上座與底座之間進行插接,且通過多組鎖扣進行固定連接,通過上述結構,從而方便工作人員對凈水筒進行快速的拆卸或安裝,從而為凈水器濾芯的更換提供便利性。
(發明人:胡翔)






