公布日:2023.12.15
申請日:2023.09.28
分類號:F16K3/24(2006.01)I;F16K3/314(2006.01)I;F16K27/04(2006.01)I
摘要
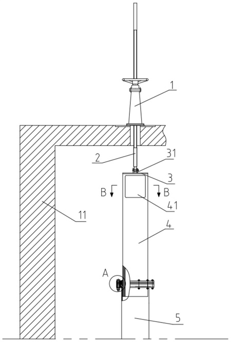
本發明公開了無堵塞雙向密封型套筒閥,包括與沉淀池排泥管固定安裝的套筒、設置在套筒內且與套筒滑動配合連接的調節筒,套筒上設置有對套筒和調節筒之間進行密封的密封組件;調節筒上端固定連接有與調節筒上端相匹配的連接板,且連接板與調節筒上端形成封閉空間,連接板上端通過絲桿與啟閉機固定連接,啟閉機固定在排泥井上;調節筒單側邊上端開設有供污泥流通的通孔。本發明通過在調節筒單側邊開設有供污泥流通的通孔,以供污泥流通,避免纖維類垃圾纏繞造成堵塞,同時連接板與調節筒上端形成封閉空間,連接板與調節筒之間連接點構成完整一圈,調節筒上端受力均勻,不易變形。

權利要求書
1.無堵塞雙向密封型套筒閥,其特征在于:包括與沉淀池排泥管固定安裝的套筒(5)、設置在套筒(5)內且與套筒(5)滑動配合連接的調節筒(4),套筒(5)上設置有對套筒(5)和調節筒(4)之間進行密封的密封組件;調節筒(4)上端固定連接有與調節筒(4)上端相匹配的連接板(3),且連接板(3)與調節筒(4)上端形成封閉空間,連接板(3)上端通過絲桿(2)與啟閉機(1)固定連接,啟閉機(1)固定在排泥井(11)上;調節筒(4)單側邊上端開設有供污泥流通的通孔(41)。
2.根據權利要求1所述的無堵塞雙向密封型套筒閥,其特征在于:所述套筒(5)上設置的密封組件包括固定在套筒(5)端部的法蘭(10)、內邊向下彎曲的下密封墊(72)、內邊向上彎曲的上密封墊(71)和壓板(6),且通過螺栓將壓板(6)、上密封墊(71)、下密封墊(72)、法蘭(10)依次連接。
3.根據權利要求2所述的無堵塞雙向密封型套筒閥,其特征在于:所述上密封墊(71)和下密封墊(72)之間設置有隔板(8)。
4.根據權利要求2所述的無堵塞雙向密封型套筒閥,其特征在于:所述下密封墊(72)和法蘭(10)之間設置有疊加板(9)。
5.根據權利要求4所述的無堵塞雙向密封型套筒閥,其特征在于:所述疊加板(9)與調節筒(4)之間設置有間隙,且間隙尺寸大于下密封墊(72)厚度。
6.根據權利要求2所述的無堵塞雙向密封型套筒閥,其特征在于:所述下密封墊(72)、上密封墊(71)材質均采用橡膠。
7.根據權利要求4所述的無堵塞雙向密封型套筒閥,其特征在于:所述疊加板(9)材質采用橡膠。
8.根據權利要求1所述的無堵塞雙向密封型套筒閥,其特征在于:所述通孔(41)縱截面為四角設置有圓角的矩形結構。
9.根據權利要求1所述的無堵塞雙向密封型套筒閥,其特征在于:所述調節筒(4)單側邊上的通孔(41)弧長小于調節筒(4)內壁周長的1/3。
10.根據權利要求1所述的無堵塞雙向密封型套筒閥,其特征在于:所述連接板(3)上固定安裝有吊耳(31),連接板(3)通過吊耳(31)與絲桿(2)連接。
發明內容
針對現有纖維類垃圾易纏繞在調節筒頂部的十字交叉板上,以及調節筒上端受到的力不均勻易導致調節筒上端變形的問題,提供了無堵塞雙向密封型套筒閥,通過在調節筒單側邊開設有供污泥流通的通孔,以供污泥流通,避免纖維類垃圾纏繞造成堵塞,同時連接板與調節筒上端形成封閉空間,連接板與調節筒之間連接點構成完整一圈,調節筒上端受力均勻,不易變形。
為實現上述目的,本發明提供如下技術方案:
無堵塞雙向密封型套筒閥,其特征在于,包括與沉淀池排泥管固定安裝的套筒、設置在套筒內且與套筒滑動配合連接的調節筒,套筒上設置有對套筒和調節筒之間進行密封的密封組件;調節筒上端固定連接有與調節筒上端相匹配的連接板,且連接板與調節筒上端形成封閉空間,連接板上端通過絲桿與啟閉機固定連接,啟閉機固定在排泥井上;調節筒單側邊上端開設有供污泥流通的通孔。
進一步的,套筒上設置的密封組件包括固定在套筒端部的法蘭、內邊向下彎曲的下密封墊、內邊向上彎曲的上密封墊和壓板,且通過螺栓將壓板、上密封墊、下密封墊、法蘭依次連接。
進一步的,上密封墊和下密封墊之間設置有隔板。
進一步的,下密封墊和法蘭之間設置有疊加板。
進一步的,上密封墊、下密封墊材質均采用橡膠。
進一步的,疊加板材質采用橡膠。
進一步的,通孔縱截面為四角設置有圓角的矩形結構。
進一步的,調節筒單側邊上的通孔弧長小于調節筒內壁周長的1/3。
進一步的,連接板上固定安裝有吊耳,連接板通過吊耳與絲桿連接。
本發明的有益效果是:
本發明所述無堵塞雙向密封型套筒閥通過在調節筒單側邊上端開設有供污泥流通的通孔,污泥從通孔流出時通暢無阻,纖維類垃圾不會發生纏繞,避免堵塞;且調節筒單側邊上的通孔弧長小于調節筒內壁周長的1/3,調節筒不易變形,保證調節筒強度。同時調節筒上端固定連接有與調節筒上端相匹配的連接板,且連接板與調節筒上端形成封閉空間,連接板與調節筒之間連接點構成完整一圈,調節筒上端受力均勻,不易變形。
本發明所述無堵塞雙向密封型套筒閥套筒和調節筒之間通過上密封墊和下密封墊實現雙向密封,既能防止排泥井內的水倒灌進入套筒內,又能防止套筒內的水漏進排泥井內,影響調節筒對水位的調節效果。
(發明人:潘慶權;龍靜;梁元廷;劉茜)






