申請日2017.10.10
公開(公告)日2018.02.02
IPC分類號B01D36/02
摘要
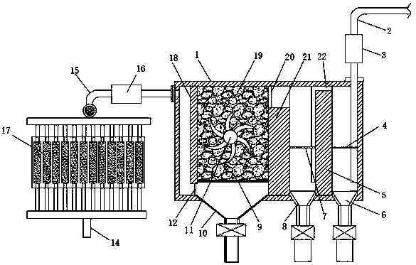
本發明公開了板框式污水處理設備,包括進水管,所述進水管連接在過濾箱的頂部一側,過濾箱的側面設有板框過濾器,過濾箱的內部設有多個相互平行的第一隔板、第二隔板和第三隔板,其中,第二隔板位于第一隔板與第三隔板之間,第一隔板、第二隔板和第三隔板將過濾箱的內部分割成四個不同大小的區域,位于第二防漏網上方的第三區域中填充有過濾介質,第三區域的中部安裝有攪拌裝置,位于第四區域的過濾箱的側面上部連接有管道,管道的下端連接有板框過濾器,板框過濾器的下端連接有出水管。本發明過濾效率高,效果好,更加節省成本,過濾介質使用壽命久,適合推廣。
權利要求書
1.板框式污水處理設備,包括進水管(2),其特征在于,所述進水管(2)連接在過濾箱(1)的頂部一側,過濾箱(1)的側面設有板框過濾器(17),過濾箱(1)的內部設有多個相互平行的第一隔板(5)、第二隔板(21)和第三隔板(18),其中,第二隔板(21)位于第一隔板(5)與第三隔板(18)之間,第一隔板(5)、第二隔板(21)和第三隔板(18)將過濾箱(1)的內部分割成四個不同大小的區域,第一隔板(5)與過濾箱(1)的側壁形成第一區域,第一隔板(5)與第二隔板(21)之間形成第二區域,第二隔板(21)與第三隔板(18)之間形成第三區域,第三隔板(18)與過濾箱(1)側壁形成第四區域,所述進水管(2)的下端延伸至第一區域的下部,第一區域的中部安裝有第一過濾網(4),第一隔板(5)的上端連接有連接管(22),連接管(22)的一端設在第一區域中,另一端延伸至第二區域的下部,第二區域的中部安裝有第二過濾網(7),所述第二隔板(21)的頂部安裝有第一防漏網(20),第三區域的下部設有第二防漏網(9),第三隔板(18)的下端安裝有第三防漏網(12),位于第二防漏網(9)上方的第三區域中填充有過濾介質(19),第三區域的中部安裝有攪拌裝置,位于第四區域的過濾箱(1)的側面上部連接有管道(15),管道(15)的下端連接有板框過濾器(17),板框過濾器(17)的下端連接有出水管(14)。
2.根據權利要求1所述的板框式污水處理設備,其特征在于,所述第一隔板(5)和第二隔板(21)的上端均與過濾箱(1)的內頂部之間留有間隙,而第三隔板(18)的下端與過濾箱(1)的內底部之間留有間隙。
3.根據權利要求1所述的板框式污水處理設備,其特征在于,所述攪拌裝置包括驅動電機(23)和攪拌葉片(11),其中驅動電機(23)安裝在過濾箱(1)的側面中部,驅動電機(23)的輸出軸延伸至箱體內部并安裝有攪拌葉片(11)。
4.根據權利要求1所述的板框式污水處理設備,其特征在于,所述過濾介質(19)采用石英砂、活性炭、稀土瓷砂和活性氧化鋁中的一種。
5.根據權利要求1所述的板框式污水處理設備,其特征在于,所述板框過濾器(17)包括不銹鋼中空殼體,中空殼體內設有多個濾芯管,濾芯管中填充有石英砂、活性炭、稀土瓷砂和活性氧化鋁混合的填料。
6.根據權利要求1所述的板框式污水處理設備,其特征在于,所述進水管(2)和管道(15)上分別安裝有第一增壓泵(3)和第二增壓泵(16)。
7.根據權利要求1所述的板框式污水處理設備,其特征在于,所述第一區域、第二區域和第三區域的底部分別連接有第一出淤泥斗(6)、第二出淤泥斗(8)和第三出淤泥斗(10),第一出淤泥斗(6)、第二出淤泥斗(8)和第三出淤泥斗(10)的下端均安裝有調節閥門。
8.板框式污水處理設備的污水處理方法,其特征在于,首先將污水預進水管(2)連接,然后打開增壓泵(3),從而使水流進而過濾箱(1)的第一區域,污水中的淤泥經過第一過濾網4的過濾,淤泥沉積在第一出淤泥斗(6)中,過濾后的水流向連接管(22)中,再由第二過濾網進一步過濾,更細小的顆粒被攔截沉積下去,二次過濾的水進入過濾介質(19)中,當過濾介質(19)使用時間過長,打開驅動電機(23),將過濾介質(19)充分攪拌一下,使粘附在過濾介質(19)上的雜質能夠掉落出來,從而可以提高過濾介質(19)的使用壽命,過濾后的水經過最后的板框過濾器(17),徹底被過濾完全,經出水管(14)流出。
說明書
板框式污水處理設備及污水處理方法
技術領域
本發明涉及污水處理設備技術領域,尤其涉及板框式污水處理設備及污水處理方法。
背景技術
污水處理 (sewage treatment,wastewater treatment):為使污水達到排水某一水體或再次使用的水質要求對其進行凈化的過程。污水處理被廣泛應用于建筑、農業、交通、能源、石化、環保、城市景觀、醫療、餐飲等各個領域,也越來越多地走進尋常百姓的日常生活。關于水污染的話題不斷被提起,特別是地下水污染問題,浙江杭州、溫州等地有農民或者企業家出資請環保局長下河游泳,以此來引起大家對水污染嚴重程度的關注,雖然各個環保局長都選擇了沉默或者拒絕,但是民眾環保意識的覺醒,對水污染的關切程度達到了空前。
農村戶用污水一直沒有被充分利用起來,人們使用的污水被排放到江河中,造成生態的破壞,現有處理設備處理效率差,成本高,為此,本發明提出一種板框式污水處理設備及污水處理方法,用來解決現有技術的不足。
發明內容
本發明的目的是為了解決現有技術中存在的缺點,而提出的板框式污水處理設備及污水處理方法。
為了實現上述目的,本發明采用了如下技術方案:
板框式污水處理設備,包括進水管,所述進水管連接在過濾箱的頂部一側,過濾箱的側面設有板框過濾器,過濾箱的內部設有多個相互平行的第一隔板、第二隔板和第三隔板,其中,第二隔板位于第一隔板與第三隔板之間,第一隔板、第二隔板和第三隔板將過濾箱的內部分割成四個不同大小的區域,第一隔板與過濾箱的側壁形成第一區域,第一隔板與第二隔板之間形成第二區域,第二隔板與第三隔板之間形成第三區域,第三隔板與過濾箱側壁形成第四區域,所述進水管的下端延伸至第一區域的下部,第一區域的中部安裝有第一過濾網,第一隔板的上端連接有連接管,連接管的一端設在第一區域中,另一端延伸至第二區域的下部,第二區域的中部安裝有第二過濾網,所述第二隔板的頂部安裝有第一防漏網,第三區域的下部設有第二防漏網,第三隔板的下端安裝有第三防漏網,位于第二防漏網上方的第三區域中填充有過濾介質,第三區域的中部安裝有攪拌裝置,位于第四區域的過濾箱的側面上部連接有管道,管道的下端連接有板框過濾器,板框過濾器的下端連接有出水管。
優選的,所述第一隔板和第二隔板的上端均與過濾箱的內頂部之間留有間隙,而第三隔板的下端與過濾箱的內底部之間留有間隙。
優選的,所述攪拌裝置包括驅動電機和攪拌葉片,其中驅動電機安裝在過濾箱的側面中部,驅動電機的輸出軸延伸至箱體內部并安裝有攪拌葉片。
優選的,所述過濾介質采用石英砂、活性炭、稀土瓷砂和活性氧化鋁中的一種。
優選的,所述板框過濾器包括不銹鋼中空殼體,中空殼體內設有多個濾芯管,濾芯管中填充有石英砂、活性炭、稀土瓷砂和活性氧化鋁混合的填料。
優選的,所述進水管和管道上分別安裝有第一增壓泵和第二增壓泵。
優選的,所述第一區域、第二區域和第三區域的底部分別連接有第一出淤泥斗、第二出淤泥斗和第三出淤泥斗,第一出淤泥斗、第二出淤泥斗和第三出淤泥斗的下端均安裝有調節閥門。
板框式污水處理設備的污水處理方法,首先將污水預進水管連接,然后打開增壓泵,從而使水流進而過濾箱的第一區域,污水中的淤泥經過第一過濾網的過濾,淤泥沉積在第一出淤泥斗中,過濾后的水流向連接管中,再由第二過濾網進一步過濾,更細小的顆粒被攔截沉積下去,二次過濾的水進入過濾介質中,當過濾介質使用時間過長,打開驅動電機,將過濾介質充分攪拌一下,使粘附在過濾介質上的雜質能夠掉落出來,從而可以提高過濾介質的使用壽命,過濾后的水經過最后的板框過濾器,徹底被過濾完全,經出水管流出。
與現有技術相比,本發明的有益效果是:首先將污水預進水管連接,然后打開增壓泵,從而使水流進而過濾箱的第一區域,污水中的淤泥經過第一過濾網的過濾,淤泥沉積在第一出淤泥斗中,過濾后的水流向連接管中,再由第二過濾網進一步過濾,更細小的顆粒被攔截沉積下去,二次過濾的水進入過濾介質中,當過濾介質使用時間過長,打開驅動電機,將過濾介質充分攪拌一下,使粘附在過濾介質上的雜質能夠掉落出來,從而可以提高過濾介質的使用壽命,過濾后的水經過最后的板框過濾器,徹底被過濾完全,經出水管流出,過濾效率高,效果好,更加節省成本,過濾介質使用壽命久,適合推廣。



