申請日2016.05.29
公開(公告)日2017.01.18
IPC分類號C02F9/02
摘要
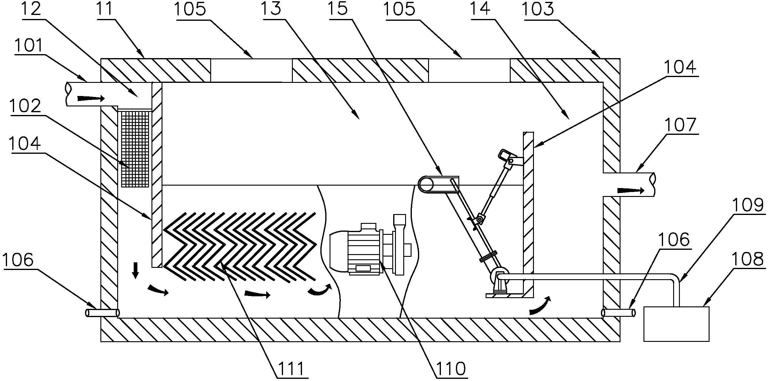
本實用新型公開了一種污水處理用油水分離器,包括殼體、隔渣區、油水分離區、清水區、撇油裝置,所述殼體包括圍板、隔板,所述隔板將殼體內部分為隔渣區、油水分離區、清水區,所述油水分離區內部一側設有撇油裝置,所述撇油裝置包括浮筒、撇油筒、液壓推桿、支撐座、排油支管、排油主管、通氣管、撇油槽、防水套管、回轉軸座,所述油水分離區一側設有清水區。本實用新型結構簡單,生產制造成本低,設備中采用氣浮機及撇油裝置,能將含油污水中的油污與廢水徹底分離并清除,油水分離效果好,油水分離效率高。
摘要附圖
權利要求書
1.一種污水處理用油水分離器,包括殼體、隔渣區、油水分離區、清水區、撇油裝置,其特征在于所述殼體包括圍板、隔板,所述殼體由圍板圍成,所述殼體內部設有兩個隔板,所述隔板將殼體內部分為隔渣區、油水分離區、清水區,所述隔渣區內部設有隔渣濾網,所述殼體一側上部設有進水口,下部設有排渣口,所述殼體另一側上部設有清水出水口,下部設有排渣口;所述殼體上部設有觀察口,所述殼體外部一側設有集油槽,所述殼體外部一側設有氣浮機,所述氣浮機的氣管通入油水分離區;
所述油水分離區內部一側設有撇油裝置,所述撇油裝置包括浮筒、撇油筒、液壓推桿、支撐座、排油支管、排油主管、通氣管、撇油槽、防水套管、回轉軸座,所述撇油裝置安裝在隔板一側,所述隔板一側設有若干液壓推桿,所述液壓推桿一端與支撐座活動連接,所述液壓推桿另一端設有若干排油支管,所述液壓推桿與排油支管通過支撐座活動連接,所述排油支管一側設有通氣管,所述排油支管一端設有撇油筒,所述撇油筒一側設有撇油槽,所述撇油槽一側設有浮筒,所述排油支管另一端與排油主管連接,所述排油主管一端安裝在支承座上,所述排油主管另一端設有回轉軸座,所述回轉軸座一側設有防水套管,所述排油主管通過管道與集油槽連接,所述油水分離區一側設有清水區。
2.根據權利要求1所述的一種污水處理用油水分離器,其特征在于所述油水分離區內部設有格柵,所述格柵為W形。
3.根據權利要求1所述的一種污水處理用油水分離器,其特征在于所述撇油裝置上設有電磁閥。
說明書
一種污水處理用油水分離器
技術領域
本實用新型屬于污水處理設備技術領域,特別涉及一種污水處理用油水分離器。
背景技術
含油廢水主要來源于石油、石油化工、鋼鐵、焦化、煤氣發生站、機械加工等工業部門,含油廢水對人類、動物和植物乃至整個生態系統都產生不良的影響,其危害主要表現在以下兩方面:1)對企業的危害:含乳化油的廢水,會在工藝設施和管道設備中與廢水中懸浮顆粒及氧化鐵皮一起沉降,形成具有較大黏性的油泥團,堵塞管道和設備影響生產的正常進行;2)對環境的危害:油類物質對環境的影響是多方面的,如污染水體,在水面上形成油膜,能阻礙水體復氧作用,水體中由于溶解氧減少,藻類光合作用受到限制,影響水生生物的正常生長,使水生動植物有油味或毒性,甚至使水體變臭,破壞水資源的利用價值;油類黏附在魚鰓上,可使魚窒息,濃度為200mg/L時,魚類不能生存;黏附在藻類、浮游生物上,可使它們死亡;油類會抑制水鳥產卵和孵化,嚴重時使鳥類大量死亡;用含油廢水灌溉農田,油分及其衍生物將覆蓋土壤和植物的表面,堵塞土壤的孔隙,阻止空氣透入,使土壤和微生物不能正常進行新陳代謝,使農產品質量和實用價值下降,嚴重時會造成農作物減產或死亡,油類在土壤中向下遷移,還可能造成嚴重的地下水污染;綜上所述,含油廢水污染對生態系統可能造成毀滅性的破壞,對人體健康也造成潛在的危害。
油水分離器主要工作原理是應用流體力學理論,在含油污水大流量不間斷同步(油水同速即相對紊流)流經的瞬間,油珠借助污水高速流動時的動能,連續碰撞,由小變大,由此加速運動,使不同比重的油與水分流、分層和分離,最終實現油水分離的目的。
經過檢索,申請號為201010284509.5的發明公開了一種油水分離器,包括機箱,上部為分離腔、中間設有橫隔板,過濾腔中設有豎橫板,分離腔中裝有由蓄油池、混合池和蓄水池組成的組合池,其上部裝有導流槽,蓄油池下部設有蓄油池排污口及蓄油池排污閥,蓄水池上部設有溢流口,蓄水池排污閥、蓄油池排污閥均與總排水口連接,蓄油池排水閥與混合池進水口連接,混合池排污閥與蓄水池排污口連接,并與蓄水池排污閥連接;但在實際應用中,往往有部分油污不能與廢水分離,造成油水分離不徹底,油水分離效果不理想。
發明內容
本實用新型的目的是克服現有技術中不足,提供一種污水處理用油水分離器,結構簡單,生產制造成本低,設備中采用氣浮機及撇油裝置,能將含油污水中的油污與廢水徹底分離并清除,油水分離效果好,油水分離效率高,適宜推廣。
為了實現上述目的,本實用新型采用的技術方案是:
一種污水處理用油水分離器,包括殼體、隔渣區、油水分離區、清水區、撇油裝置,所述殼體包括圍板、隔板,所述殼體由圍板圍成,所述殼體內部設有兩個隔板,所述隔板將殼體內部分為隔渣區、油水分離區、清水區,所述隔渣區內部設有隔渣濾網,將含油廢水中的固體顆粒物與含油廢水分離,避免了設備阻塞;所述殼體一側上部設有進水口,下部設有排渣口,含油廢水中的廢渣經排渣口排出;所述殼體另一側上部設有清水出水口,下部設有排渣口;所述殼體上部設有觀察口,方便操作者觀察油水分離器中的水位高度和設備檢修,所述殼體外部一側設有集油槽,所述殼體外部一側設有氣浮機,所述氣浮機的氣管通入油水分離區;
所述油水分離區內部一側設有撇油裝置,所述撇油裝置包括浮筒、撇油筒、液壓推桿、支撐座、排油支管、排油主管、通氣管、撇油槽、防水套管、回轉軸座,所述撇油裝置安裝在隔板一側,所述隔板一側設有若干液壓推桿,所述液壓推桿根據水面高度調節撇油裝置的高度,及時將含油廢水中的油污排除,所述液壓推桿一端與支撐座活動連接,所述液壓推桿另一端設有若干排油支管,所述液壓推桿與排油支管通過支撐座活動連接,所述排油支管一側設有通氣管,所述排油支管一端設有撇油筒,所述撇油筒一側設有撇油槽,所述撇油槽一側設有浮筒,所述排油支管另一端與排油主管連接,所述排油主管將排油支管匯集的油污聚集排放,所述排油主管一端安裝在支承座上,所述排油主管另一端設有回轉軸座,所述回轉軸座一側設有防水套管,所述排油主管通過管道與集油槽連接,撇油裝置將含油廢水中的油污分離后經管道排放到集油槽進行下一步處理;所述油水分離區一側設有清水區,含油廢水中的油污經油水分離處理后流入清水區,經清水出水口排放。
優選的,所述油水分離區內部設有格柵,所述格柵為W形,增加了污水的流程,提高了油水分離效果,另外,W形隔柵對污水中的固體雜質進行有效沉淀,提高了油、水、固的分離效果。
優選的,所述撇油裝置上設有電磁閥,所述電磁閥配合不同的電路來實現遠程控制閥門液壓推桿拉伸,保證控制的精度和靈活性,提高了工作的安全性,自動化程度高,減輕了操作者的勞動強度,提高了工作效率。
本實用新型與現有技術相比較有益效果表現在:
1)本設備結構簡單,生產制造成本低,設備中采用氣浮機及撇油裝置,能將含油污水中的油污與廢水徹底分離并清除,油水分離效果好,油水分離效率高,適宜推廣;
2)油水分離區內部設有格柵,所述格柵為W形,增加了污水的流程,提高了油水分離效果,另外,W形隔柵對污水中的固體雜質進行有效沉淀,提高了油、水、固的分離效果;
3)撇油裝置上設有電磁閥,電磁閥配合不同的電路來實現遠程控制閥門液壓推桿拉伸,保證控制的精度和靈活性,提高了工作的安全性,自動化程度高,減輕了操作者的勞動強度,提高了工作效率。


