申請日2014.11.05
公開(公告)日2015.04.22
IPC分類號B08B13/00; B08B3/12
摘要
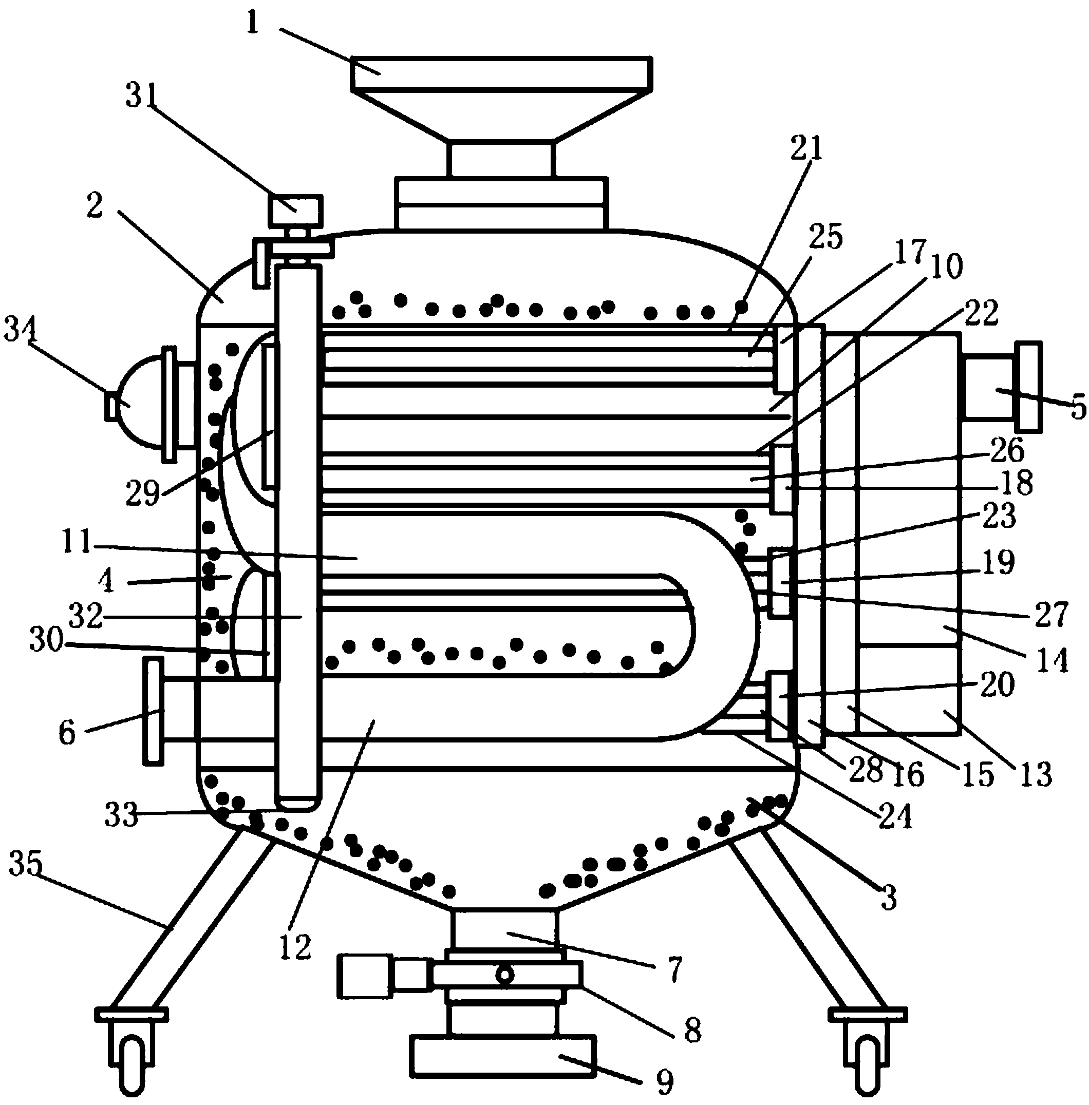
本實用新型屬于污水清理領域,尤其涉及一種污水處理超聲波振動發生裝置,包括污水入口、封頭、封底、熱交換筒、交換液入口、交換液出口、污水口、閥門、排放管、熱交換管A、熱交換管B、熱交換管C、超聲波電源、超聲波振動發生裝置、管道固定臺、熱交換筒密封板、電加熱管筒體密封A、電加熱管筒體密封B、電加熱管筒體密封C、電加熱管筒體密封D、鼓泡管A、鼓泡管B、鼓泡管C、鼓泡管D、電加熱管A、電加熱管B、電加熱管C、電加熱管D、電加熱管E、電加熱管F、數據傳輸器、數字溫度控制器、流量計、觀察口、支撐輪,所述交換液入口、超聲波振動發生裝置在所述熱交換筒的另一側。
權利要求書
1.一種污水處理超聲波振動發生裝置,其特征在于:包括污水入口、封頭、 封底、熱交換筒、交換液入口、交換液出口、污水口、閥門、排放管、熱交換 管A、熱交換管B、熱交換管C、超聲波電源、超聲波振動發生裝置、管道固定 臺、熱交換筒密封板、電加熱管筒體密封A、電加熱管筒體密封B、電加熱管筒 體密封C、電加熱管筒體密封D、鼓泡管A、鼓泡管B、鼓泡管C、鼓泡管D、電 加熱管A、電加熱管B、電加熱管C、電加熱管D、電加熱管E、電加熱管F、數 據傳輸器、數字溫度控制器、流量計、觀察口、支撐輪,所述熱交換筒在所述 封頭、封底之間,所述污水入口在所述封頭的上面,所述污水口在所述封底的 下面,所述交換液出口、觀察口在所述熱交換筒的一側,所述交換液入口、超 聲波振動發生裝置在所述熱交換筒的另一側,所述超聲波電源在所述超聲波振 動發生裝置的旁邊,所述超聲波電源連接所述超聲波振動發生裝置,所述超聲 波電源、超聲波振動發生裝置連接所述管道固定臺,所述熱交換筒密封板在所 述熱交換筒、管道固定臺之間,所述電加熱管A、電加熱管B、電加熱管C、電 加熱管D貫穿所述熱交換筒、管道固定臺、熱交換筒密封板,所述電加熱管A、 電加熱管B、電加熱管C、電加熱管D連接所述超聲波振動發生裝置,所述熱交 換管A、熱交換管B、熱交換管C、電加熱管筒體密封A、電加熱管筒體密封B、 電加熱管筒體密封C、電加熱管筒體密封D、鼓泡管A、鼓泡管B、鼓泡管C、鼓 泡管D在所述熱交換筒的里面,所述電加熱管筒體密封A、電加熱管筒體密封B、 電加熱管筒體密封C、電加熱管筒體密封D連接所述熱交換筒,所述熱交換管B 在所述熱交換管A、熱交換管C之間,所述熱交換管B的一端連接所述熱交換管 A,所述熱交換管B的另一端連接所述熱交換管C,所述熱交換管A連接所述交 換液入口,所述熱交換管C連接所述交換液出口,所述鼓泡管A、鼓泡管B在所 述熱交換管A的旁邊,所述鼓泡管B在所述鼓泡管A的下面,所述鼓泡管A連 接所述電加熱管筒體密封A,所述鼓泡管B連接所述電加熱管筒體密封B,所述 鼓泡管A連接所述鼓泡管B,所述電加熱管E在所述鼓泡管A、鼓泡管B的里面, 所述電加熱管A在所述鼓泡管A的里面,所述電加熱管B在所述鼓泡管B的里 面,所述電加熱管E的一端連接所述電加熱管A,所述電加熱管E的另一端連接 所述電加熱管B,所述鼓泡管C在所述鼓泡管B的下面,所述鼓泡管C、鼓泡管 D在所述熱交換管B、熱交換管C的旁邊,所述鼓泡管D在所述鼓泡管C的下面, 所述鼓泡管C連接所述電加熱管筒體密封C,所述鼓泡管D連接所述電加熱管筒 體密封D,所述鼓泡管C連接所述鼓泡管D,所述電加熱管F在所述鼓泡管C、 鼓泡管D的里面,所述電加熱管C在所述鼓泡管C的里面,所述電加熱管D在 所述鼓泡管D的里面,所述電加熱管F的一端連接所述電加熱管C,所述電加熱 管F的另一端連接所述電加熱管D。
2.根據權利要求1所述的一種污水處理超聲波振動發生裝置,其特征在于: 所述閥門在所述污水口、排放管之間,所述閥門的一側連接所述污水口,所述 閥門的另一側連接所述排放管。
3.根據權利要求1所述的一種污水處理超聲波振動發生裝置,其特征在于: 所述數據傳輸器在所述封頭的上面,所述數字溫度控制器在所述熱交換筒的里 面,所述數字溫度控制器在所述熱交換管B、熱交換管C、鼓泡管A、鼓泡管B 的旁邊,所述數字溫度控制器的一端連接所述數據傳輸器,所述數字溫度控制 器的另一端連接所述流量計。
4.根據權利要求1所述的一種污水處理超聲波振動發生裝置,其特征在于: 所述交換液入口在所述超聲波振動發生裝置的旁邊,所述觀察口在所述交換液 出口的上面,所述支撐輪在所述封底的下面,所述支撐輪連接所述封底。
說明書
污水處理超聲波振動發生裝置
技術領域
本實用新型屬于污水清理領域,尤其涉及一種污水處理超聲波振動發生裝 置。
背景技術
超聲波清洗主要利用超聲波在液體中的空化作用將物體表面的污物層剝離,從 而達到清洗的目的。超聲波在液體中產生的所謂超聲空化,是指液體在超聲波 作用下產生大量的非穩態的微小氣泡和空泡(直徑約50一500pat),這些氣泡 和空泡隨超聲波的振動反復生成、閉合并迅速變大,閉合時會產二生壓強高達 幾百乃至幾千Pa的微激波,因劇烈碰撞導致突然爆裂,使氣泡周圍產生上千個 大氣壓,這種現象稱為“空化”現象。超聲波在液體中產生的穩定空化和微聲 流可以在待清洗的物體表面提供一種溶解機制使沽染物溶解,從而在污染物和 被清洗物體表面形成使污染層脫落的穩態空化泡。穩態空化和微聲波有助于在 水中把剝離下來的油脂乳化,瞬態空化有可能擊碎污染層而將其剝落。由于空 化作用極易在固體與液體交界面進行,且空化瞬間在局部產生5000K以上的熱 點和上千個大氣壓,不僅能把附著在物體表面和死角內的污物打散,而且振動 加劇了溶液的脈動和攪拌,更加強化了清洗的作用效果因為茶青為較松軟的植 物,且有吸波的作用。所以,采用“適當的超聲波功率+氣泡發生器”的形式。 經過實驗驗證,表明這種方法比單純地用超聲波換能器能夠更加有效地把空化 作用擴散開,同時,在清洗茶青過程中進行攪拌,改善清洗效果。
污水源熱泵換熱系統均是利用沉淀、過濾技術去除污雜物的,可以有效的防堵。 但系統在長時間運行后,換熱池中將淤積污物,并且換熱管外側還容易結垢, 因此在系統運行一段時間后,要對換熱池中污物及換熱管外側的污垢的經行清 洗。
清洗技術主要有:
反沖洗技術:有系統通過利用A~D四個閥門來實現對過濾面的反沖洗。由于污 水雜質濃度太高,所要求的反沖洗周期很短,4個閥門切換時間無法滿足反沖洗 要求,所以此系統最終失敗。
機械過濾技術:日本上世紀80年代開發了自動清洗濾水裝置。該設備主要由筒 狀旋轉濾篩、刮刷、驅動電機和排污閥等部件組成,電機帶動濾篩旋轉,污水 中的污雜物經筒狀濾篩過濾,掛在濾篩上的污雜物被刮刷清除下來,然后在反 沖水的作用下排回污水干渠;蚴窃鬯诤Y濾筒的連續旋轉作用下,實現 污雜物的過濾和排除,刮刀刮掉篩濾筒表面的污雜物并且在反沖洗噴嘴噴出的 水流作用下實現篩濾筒濾面的清洗。這兩種設備都可以實現污水連續穩定的過 濾和濾面清洗再生,保證了后端熱泵機組運行的穩定性。此系統沒有反沖洗裝 置,因此,粘附在孔板上污雜物完全由旋轉橢圓管刮掉,但實際運行過程中, 旋轉橢圓管與孔板之間有一定的間隙,長時間運行后在腔體內會沉積大量的污 物,同時污水的排污量大。
發明內容
本實用新型提供一種污水處理超聲波振動發生裝置,以解決上述背景技術 中提出的熱交換管去污不利的問題。
本實用新型所解決的技術問題采用以下技術方案來實現:本實用新型提供 一種污水處理超聲波振動發生裝置,其特征在于:包括污水入口、封頭、封底、 熱交換筒、交換液入口、交換液出口、污水口、閥門、排放管、熱交換管A、熱 交換管B、熱交換管C、超聲波電源、超聲波振動發生裝置、管道固定臺、熱交 換筒密封板、電加熱管筒體密封A、電加熱管筒體密封B、電加熱管筒體密封C、 電加熱管筒體密封D、鼓泡管A、鼓泡管B、鼓泡管C、鼓泡管D、電加熱管A、 電加熱管B、電加熱管C、電加熱管D、電加熱管E、電加熱管F、數據傳輸器、 數字溫度控制器、流量計、觀察口、支撐輪,所述熱交換筒在所述封頭、封底 之間,所述污水入口在所述封頭的上面,所述污水口在所述封底的下面,所述 交換液出口、觀察口在所述熱交換筒的一側,所述交換液入口、超聲波振動發 生裝置在所述熱交換筒的另一側,所述超聲波電源在所述超聲波振動發生裝置 的旁邊,所述超聲波電源連接所述超聲波振動發生裝置,所述超聲波電源、超 聲波振動發生裝置連接所述管道固定臺,所述熱交換筒密封板在所述熱交換筒、 管道固定臺之間,所述電加熱管A、電加熱管B、電加熱管C、電加熱管D貫穿 所述熱交換筒、管道固定臺、熱交換筒密封板,所述電加熱管A、電加熱管B、 電加熱管C、電加熱管D連接所述超聲波振動發生裝置,所述熱交換管A、熱交 換管B、熱交換管C、電加熱管筒體密封A、電加熱管筒體密封B、電加熱管筒 體密封C、電加熱管筒體密封D、鼓泡管A、鼓泡管B、鼓泡管C、鼓泡管D在所 述熱交換筒的里面,所述電加熱管筒體密封A、電加熱管筒體密封B、電加熱管 筒體密封C、電加熱管筒體密封D連接所述熱交換筒,所述熱交換管B在所述熱 交換管A、熱交換管C之間,所述熱交換管B的一端連接所述熱交換管A,所述 熱交換管B的另一端連接所述熱交換管C,所述熱交換管A連接所述交換液入口, 所述熱交換管C連接所述交換液出口,所述鼓泡管A、鼓泡管B在所述熱交換管 A的旁邊,所述鼓泡管B在所述鼓泡管A的下面,所述鼓泡管A連接所述電加熱 管筒體密封A,所述鼓泡管B連接所述電加熱管筒體密封B,所述鼓泡管A連接 所述鼓泡管B,所述電加熱管E在所述鼓泡管A、鼓泡管B的里面,所述電加熱 管A在所述鼓泡管A的里面,所述電加熱管B在所述鼓泡管B的里面,所述電 加熱管E的一端連接所述電加熱管A,所述電加熱管E的另一端連接所述電加熱 管B,所述鼓泡管C在所述鼓泡管B的下面,所述鼓泡管C、鼓泡管D在所述熱 交換管B、熱交換管C的旁邊,所述鼓泡管D在所述鼓泡管C的下面,所述鼓泡 管C連接所述電加熱管筒體密封C,所述鼓泡管D連接所述電加熱管筒體密封D, 所述鼓泡管C連接所述鼓泡管D,所述電加熱管F在所述鼓泡管C、鼓泡管D的 里面,所述電加熱管C在所述鼓泡管C的里面,所述電加熱管D在所述鼓泡管D 的里面,所述電加熱管F的一端連接所述電加熱管C,所述電加熱管F的另一端 連接所述電加熱管D。
所述閥門在所述污水口、排放管之間,所述閥門的一側連接所述污水口, 所述閥門的另一側連接所述排放管。
所述數據傳輸器在所述封頭的上面,所述數字溫度控制器在所述熱交換筒 的里面,所述數字溫度控制器在所述熱交換管B、熱交換管C、鼓泡管A、鼓泡 管B的旁邊,所述數字溫度控制器的一端連接所述數據傳輸器,所述數字溫度 控制器的另一端連接所述流量計。
所述交換液入口在所述超聲波振動發生裝置的旁邊,所述觀察口在所述交 換液出口的上面,所述支撐輪在所述封底的下面,所述支撐輪連接所述封底。
本實用新型的有益效果為:
1本污水處理超聲波振動發生裝置,在熱交換管周圍設置帶鼓泡管的電加熱 管,并利用超聲波振動發生裝置,對熱交換筒內的污垢及沉積在熱交換管上的 污垢進行清污,達到快速潔凈的目的,使熱交換順利進行。
2鼓泡管緊貼熱交換管,可防止超聲波振動發生裝置因多個熱交換管疊加所 造成的空間障礙造成清污不利,在熱交換管周圍保證快速潔凈。
3數字溫度控制器上設有流量計,并通過數據傳輸器傳輸水質溫度流速,做 到實時監控。
4觀察口可以很好地觀測清污情況,及時開啟關閉相關裝置。







