申請日2014.11.05
公開(公告)日2015.04.22
IPC分類號C02F9/10; C02F1/38; C02F103/10; B01D45/16; B01D5/00
摘要
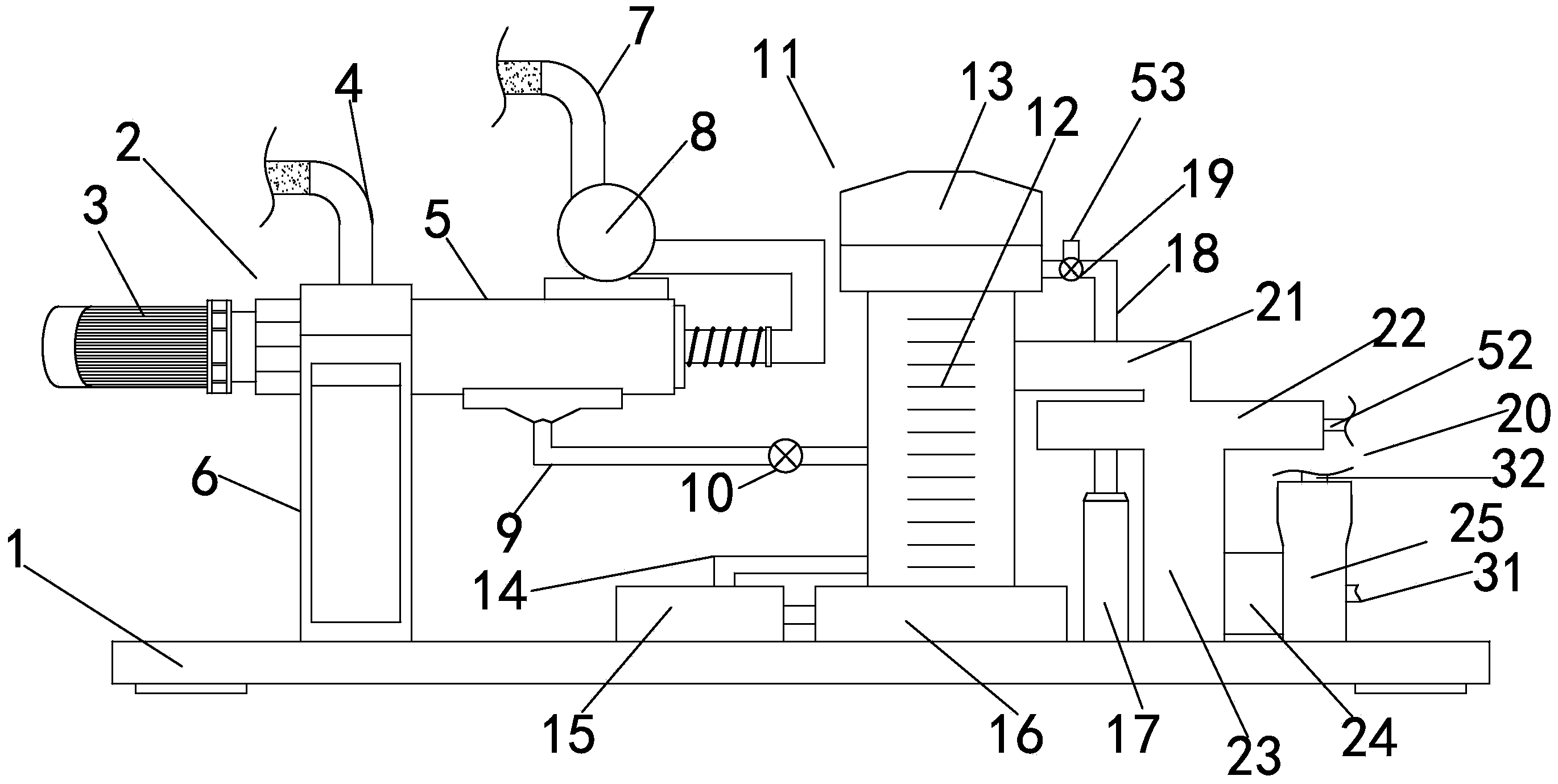
本發明公開了一種油田污水處理裝置,一種油田污水處理裝置,包括臥式離心分離機、一次分離裝置、二次分離裝置及底座,臥式離心分離機連接一次分離裝置,一次分離裝置連接二次分離裝置,臥式離心分離機、一次分離裝置及二次分離裝置均安裝于底座上。首先利用離心分離方法去除污水中的懸浮顆粒,從而獲得單一的液體介質,此法脫懸浮顆粒直接有效,懸浮顆粒殘留量極少。然后采用蒸餾的方法脫去污水中的其余雜質,該法較適用于脫去易溶于水的其余雜質,較現有的污水處理裝置具有顯著的優點。并利用天然氣過濾裝置不僅實現冷凝水汽,而且脫去水汽中的天然氣,一舉兩得。
權利要求書
1.一種油田污水處理裝置,包括臥式離心分離機、一次分離裝置、二次分離 裝置及底座,所述臥式離心分離機連接所述一次分離裝置,所述一次分離 裝置連接所述二次分離裝置,所述臥式離心分離機、所述一次分離裝置及 所述二次分離裝置均安裝于所述底座上,其特征在于:所述臥式離心分離 機包括電機及離心分離器,所述電機連接所述離心分離器,所述離心分離 器的上端連接有污水入管;所述離心分離器的下端連接有污水出管,所述 污水出管上設有二通電磁閥,所述污水出管的另一端連接所述一次分離裝 置;所述一次分離裝置包括蒸餾釜、加熱爐及穩壓腔,所述蒸餾釜的下端 連接所述加熱爐,所述蒸餾釜的上端連接所述穩壓腔;所述蒸餾釜的下端 連接有油料回收管,所述油料回收管的另一端連接有油料回收槽,所述油 料回收槽連接所述加熱爐;所述穩壓腔上連接有穩壓管,所述穩壓管上設 有三通電磁閥,所述穩壓管的另一端連接有氮氣瓶;
所述穩壓腔內安裝有穩壓閥,所述穩壓閥包括有通氣段與穩壓段,所述通 氣段連接所述蒸餾釜,所述穩壓段位于所述穩壓腔內;所述穩壓段上設有 進氣口與出氣口,所述進氣口位于所述穩壓段的左側,所述進氣口處設有 負壓閥芯,所述負壓閥芯與所述穩壓閥的內壁活動連接,所述負壓閥芯與 所述穩壓閥的內壁形成有第一通孔,所述第一通孔與所述進氣口相匹配; 所述出氣口位于所述穩壓段的右側的上端與下端,所述出氣口處設有正壓 閥芯,所述正壓閥芯與所述穩壓閥的內壁活動連接;所述正壓閥芯上設有 移動板件,所述移動板件架于所述出氣口上,所述移動板件活動連接于所 述出氣口;所述正壓閥芯的上端與下端均設有第二通孔,所述第二通孔與 所述出氣口相匹配;
所述蒸餾釜連接所述二次分離裝置,所述二次分離裝置包括抽氣室、天然 氣分離室、沉降室及積液室,所述抽氣室連接所述天然氣分離室,所述天 然氣分離室連接所述沉降室,所述沉降室固定于所述底座,所述沉降室連 接所述積液室,所述積液室固定于所述底座;所述抽氣室內安裝有冷凝管, 所述冷凝管的一端連接所述蒸餾釜,所述冷凝管的另一端連接有天然氣分 離器,所述天然氣分離器位于所述天然氣分離室內;所述天然氣分離器包 括渦流管、熱端管及冷端管,所述渦流管連接所述冷凝管,所述渦流管的 左側連接有所述熱端管,所述渦流管的右側連接有拉瓦爾噴管,所述拉瓦 爾噴管位于所述沉降室的上方,所述拉瓦爾噴管的右側連接有所述冷端管, 所述冷端管的右側連接有天然氣出管;所述沉降室與所述積液室之間安裝 有葉輪,所述積液室的上端設有出水管。
2.根據權利要求1所述一種油田污水處理裝置,其特征在于:所述離心分離器 的右側連接有沉渣出管,所述沉渣出管上設有第一抽料泵,所述第一抽料 泵固定于所述離心分離器的上端。
3.根據權利要求1所述一種油田污水處理裝置,其特征在于:所述進氣口的端 口處設有負壓封堵,所述負壓封堵與所述負壓閥芯之間設有第一密封圈; 所述正壓閥芯與所述移動板件之間設有第二密封圈。
4.根據權利要求1所述一種油田污水處理裝置,其特征在于:所述冷凝管上設 有第二抽料泵。
5.根據權利要求1所述一種油田污水處理裝置,其特征在于:所述冷端管內安 裝有解旋器,所述解旋器包括氣流導向葉片,所述氣流導向葉片相互連接; 所述熱端管內安裝有熱端調節閥。
6.根據權利要求1所述一種油田污水處理裝置,其特征在于:所述沉降室與所 述積液室之間連接有葉輪室,所述葉輪室內安裝有所述葉輪。
7.根據權利要求1所述一種油田污水處理裝置,其特征在于:所述葉輪上連接 有轉子,所述轉子的另一端貫穿所述積液室;所述葉輪包括有導向葉輪、 傳送葉輪和噴射葉輪,所述傳送葉輪位于所述導向葉輪與所述噴射葉輪之 間,所述導向葉輪靠近所述沉降室,所述噴射葉輪靠近所述積液室。
8.根據權利要求1所述一種油田污水處理裝置,其特征在于:所述拉瓦爾噴管 的外側包覆有透液套環,所述透液套環與所述沉降室相匹配。
9.根據權利要求8所述一種油田污水處理裝置,其特征在于:所述透液套環上 均勻設有排液口。
說明書
一種油田污水處理裝置
技術領域
本發明涉及一種污水處理裝置,尤其是一種油田污水處理裝置。
背景技術
油田是單一地質構造(或地層)因素控制下的、同一產油氣面積內的油氣 藏總和。一個油氣田可能有一個或多個油氣藏。在同一面積內主要為油藏的稱 油田,主要為氣藏的稱氣田。按控制產油氣面積內的地質因素,將油氣田分為3 類:①構造型油氣田。指產油氣面積受單一的構造因素控制,如褶皺和斷層。 ②地層型油氣田,區域背斜或單斜構造背景上由地層因素控制(如地層的不整 合、尖滅和巖性變化等)的含油面積。③復合型油氣田。產油氣面積內不受單 一的構造或地層因素控制,而受多種地質因素控制的油氣田。在油田開采中抽 油機為常見的機具設備。
油田污水成分比較復雜,油分含量及油在水中存在形式也不相同,且多數 情況下常與其他廢水相混合,因此單一方法處理往往效果不佳。同時,因各種 力法都有其局限性,在實際應用中通常是兩三種方法聯合使用,使出水水質達 到排放標準。另外,各油田的生產方式、環境要求以及處理水的用途的不同, 使油田污水處理工藝差別較大。在這些工藝流程中,常見的一級處理有重力分 離、浮選及離心分離.主要除去浮油及油濕固體;二級處理有過濾、粗粒化、化 學處理等,主要是破乳和去除分散油;深度處理有超濾、活性炭吸附、生化處 理等,主要是去除溶解油。故現有的油田污水處理裝置結構復雜,制造成本高, 且對污水的處理效果欠佳,處理后污水無法達到生活用水的使用標準。
發明內容
本發明的目的在于提供一種油田污水處理裝置,首先利用離心分離方法去 除污水中的懸浮顆粒,從而獲得單一的液體介質,此法脫懸浮顆粒直接有效, 懸浮顆粒殘留量極少。然后采用蒸餾的方法脫去污水中的其余雜質,該法較適 用于脫去易溶于水的其余雜質,較現有的污水處理裝置具有顯著的優點。并利 用天然氣過濾裝置不僅實現冷凝水汽,而且脫去水汽中的天然氣,一舉兩得。
為了解決上述技術問題,采用如下技術方案:
一種油田污水處理裝置,包括臥式離心分離機、一次分離裝置、二次分離 裝置及底座,臥式離心分離機連接一次分離裝置,一次分離裝置連接二次分離 裝置,臥式離心分離機、一次分離裝置及二次分離裝置均安裝于底座上,其特 征在于:臥式離心分離機包括電機及離心分離器,電機連接離心分離器,離心 分離器的上端連接有污水入管;離心分離器的下端連接有污水出管,污水出管 上設有二通電磁閥,污水出管的另一端連接一次分離裝置;一次分離裝置包括 蒸餾釜、加熱爐及穩壓腔,蒸餾釜的下端連接加熱爐,蒸餾釜的上端連接穩壓 腔;蒸餾釜的下端連接有油料回收管,油料回收管的另一端連接有油料回收槽, 油料回收槽連接加熱爐;穩壓腔上連接有穩壓管,穩壓管上設有三通電磁閥, 穩壓管的另一端連接有氮氣瓶;
穩壓腔內安裝有穩壓閥,穩壓閥包括有通氣段與穩壓段,通氣段連接蒸餾 釜,穩壓段位于穩壓腔內;穩壓段上設有進氣口與出氣口,進氣口位于穩壓段 的左側,進氣口處設有負壓閥芯,負壓閥芯與穩壓閥的內壁活動連接,負壓閥 芯與穩壓閥的內壁形成有第一通孔,第一通孔與進氣口相匹配;出氣口位于穩 壓段的右側的上端與下端,出氣口處設有正壓閥芯,正壓閥芯與穩壓閥的內壁 活動連接;正壓閥芯上設有移動板件,移動板件架于出氣口上,移動板件活動 連接于出氣口;正壓閥芯的上端與下端均設有第二通孔,第二通孔與出氣口相 匹配;
蒸餾釜連接二次分離裝置,二次分離裝置包括抽氣室、天然氣分離室、沉 降室及積液室,抽氣室連接天然氣分離室,天然氣分離室連接沉降室,沉降室 固定于底座,沉降室連接積液室,積液室固定于底座;抽氣室內安裝有冷凝管, 冷凝管的一端連接蒸餾釜,冷凝管的另一端連接有天然氣分離器,天然氣分離 器位于天然氣分離室內;天然氣分離器包括渦流管、熱端管及冷端管,渦流管 連接冷凝管,渦流管的左側連接有熱端管,渦流管的右側連接有拉瓦爾噴管, 拉瓦爾噴管位于沉降室的上方,拉瓦爾噴管的右側連接有冷端管,冷端管的右 側連接有天然氣出管;沉降室與積液室之間安裝有葉輪,積液室的上端設有出 水管。
進一步,離心分離器的右側連接有沉渣出管,沉渣出管上設有第一抽料泵, 第一抽料泵固定于離心分離器的上端。第一抽料泵啟動后,通過沉渣出管能夠 將離心分離器內殘留的懸浮顆粒抽取,實現排渣功能,使得每次離心分離操作 相對獨立,避免其由于上一次離心分離的沉渣殘留導致此次離心分離效果不理 想。
進一步,進氣口的端口處設有負壓封堵,負壓封堵與負壓閥芯之間設有第 一密封圈;正壓閥芯與移動板件之間設有第二密封圈。提高密封效果。
進一步,冷凝管上設有第二抽料泵。第二抽料泵作為動力源,能夠將蒸餾 產生的水汽完全抽入冷凝管內。
進一步,冷端管內安裝有解旋器,解旋器包括氣流導向葉片,氣流導向葉 片相互連接;熱端管內安裝有熱端調節閥。解旋器能夠解除天然氣的旋轉,使 天然氣平穩的進入冷端管,以便于下一步的液化工序。
進一步,沉降室與積液室之間連接有葉輪室,葉輪室內安裝有葉輪。葉輪 室將葉輪與外界隔絕,避免葉輪被人為損壞,延長葉輪的使用壽命。
進一步,葉輪上連接有轉子,轉子的另一端貫穿積液室;葉輪包括有導向 葉輪、傳送葉輪和噴射葉輪,傳送葉輪位于導向葉輪與噴射葉輪之間,導向葉 輪靠近沉降室,噴射葉輪靠近積液室。在導向葉輪、傳送葉輪、噴射葉輪的連 續輸送下,被加壓后排放,提高了葉輪的吸入能力、加壓能力、排放能力。
進一步,拉瓦爾噴管的外側包覆有透液套環,透液套環與沉降室相匹配。 形成的液體可通過透液套環進入沉降室內,進而實現其分離作用。
進一步,透液套環上均勻設有排液口。液體由排液口被排除,并在沉降室 內堆積。
由于采用上述技術方案,具有以下有益效果:
本發明為一種油田污水處理裝置,首先利用離心分離方法去除污水中的懸 浮顆粒,從而獲得單一的液體介質,此法脫懸浮顆粒直接有效,懸浮顆粒殘留 量極少。然后采用蒸餾的方法脫去污水中的其余雜質,該法較適用于脫去易溶 于水的其余雜質,較現有的污水處理裝置具有顯著的優點。并利用天然氣過濾 裝置不僅實現冷凝水汽,而且脫去水汽中的天然氣,一舉兩得。
離心分離器有電機控制其高速旋轉,污水進入離心分離器并隨著離心分離 器高速旋轉。污水在旋轉間,其內部的液相由于離心作用力被甩向離心分離器 的內壁,并由污水出管被排除,而污水中的懸浮顆粒則殘留于離心分離器內, 實現對懸浮顆粒的過濾。離心分離器結構簡單,過濾懸浮顆粒效果顯著。蒸餾 釜負責對污水進行蒸餾過濾,加熱蒸餾后水汽跑出,過濾了污水中易溶于水的 多組分雜質,實用性強,設計巧妙,經蒸餾后的水汽潔凈度大幅度提高,雜質 含量大幅度減少。同時,蒸餾過濾后蒸餾釜內產生含有油料的雜質,通過油料 回收管能夠將含油料雜質保存于油料回收槽內,并可在加熱爐內燃燒,為蒸餾 提供能源支持。實現油料的回收利用,變廢為寶,節約成本,符合節能環保的 生產理念。蒸餾釜內是一個低壓的環境,穩壓腔能夠對蒸餾釜保壓,并利用氮 氣填充蒸餾釜,為污水蒸餾提供一個穩定的、安全可靠的工作環境,避免油料 在熱環境下與空氣接觸而發生燃燒甚至爆炸。穩壓閥設計巧妙,保壓效果顯著, 制造成本低。二次分離裝置不僅用于冷凝水汽,而且將水汽中僅含的天然氣分 離,最終得到潔凈的水。天然氣分離器通過巧妙的設計使得進入該裝置內的水 汽形成渦流,通過渦流的運動實現冷凝和分離天然氣的作用,分離效果顯著。







