申請日2014.10.22
公開(公告)日2015.03.11
IPC分類號E03C1/12; C02F1/52; E03C1/01; E03C1/122
摘要
本實用新型屬于環保節水設備領域,具體來說是一種自動廢水沖廁系統。自動廢水沖廁系統,由多層房屋排水管網組成,還包括廢水箱及與之連接的沉積池,廢水箱與沉積池通過溢流槽相連;排水管接入沉積池中下部,排水管與房屋排水管網的洗手、洗衣、沐浴水收集系統相連;沉積池底部接排泥管,排泥管與房屋排水管網的排污管相連;廢水箱底部接廢水管,廢水管與沖洗管相連,沖洗管還與自來水支管相連,沖洗管末端與下一樓層的廁所沖洗系統相連。本實用新型充分利用上層相對潔凈的廢水,多余廢水能自動溢流到下層,并實現廢水的多層過濾,且沉積池的設計保證了廢水中污泥和沉積物的順利排出,充分保證了沖廁水質的相對潔凈,能有效節水并保護水資源。
權利要求書
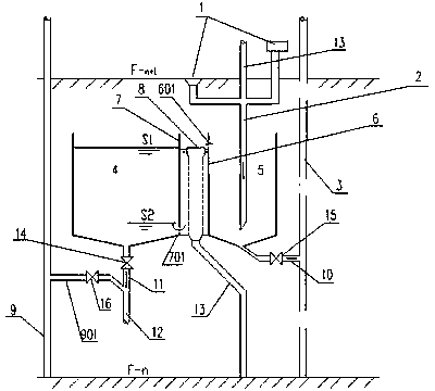
1.自動廢水沖廁系統,由多層房屋排水管網組成,其特征在于:還包括廢水箱(4)、沉積池(5)和溢流槽(6),溢流槽(6)與廢水箱(4)和沉積池(5)相連;排水管(2)接入所述沉積池(5),所述排水管(2)與房屋排水管網的洗手、洗衣、沐浴水收集系統(1)相連;沉積池(5)底部接排泥管(10),所述排泥管(10)與房屋排水管網的排污管相連;廢水箱(4)底部接有廢水管(11),所述廢水管(11)與沖洗管(12)的頂端相連,沖洗管(12)的末端與下一樓層的廁所沖洗系統相連,所述沖洗管(12)還與自來水支管(901)相連。
2.如權利要求1所述的自動廢水沖廁系統,其特征在于:所述廢水箱(4)和沉積池(5)底部均為錐形。
3.如權利要求1所述的自動廢水沖廁系統,其特征在于:所述廢水管(11)上有廢水閥(14),所述自來水支管(901)上有自來水閥(16),所述排泥管(10)上有排泥閥(15)。
4.如權利要求1所述的自動廢水沖廁系統,其特征在于:所述廢水箱(4)有過流板(7)和溢流管(8),所述溢流管(8)位于溢流槽(6)與過流板(7)之間,溢流管(8)底部與廢水匯集管(13)相連;所述廢水匯集管(13)與下一樓層的洗手、洗衣、沐浴水收集系統一起連接至下一樓層排水管。
5.如權利要求1所述的自動廢水沖廁系統,其特征在于:所述溢流槽(6)上有溢流孔(601),所述溢流孔(601)底部高于溢流管(8)管口。
6.如權利要求3所述的自動廢水沖廁系統,其特征在于:所述自來水閥(16)、廢水閥(14)和排泥閥(15)均為可控電磁閥。
7.如權利要求4所述的自動廢水沖廁系統,其特征在于:所述過流板(7)底部有過流孔(701)。
說明書
自動廢水沖廁系統
技術領域
本發明屬于環保節水設備領域,具體來說是一種自動廢水沖廁系統。
背景技術
隨著城市化進程的發展,城鎮人口越來越多,居民的生活用水量也越來越大,產生了大量的生活污水,其中,大部分污水來源于洗手、沐浴、洗衣、沖廁等,如完全使用潔凈自來水,會造成自來水資源的浪費。而洗手、洗澡和洗衣服的水屬于相對潔凈堿性廢水,具有一定的洗滌和去污功能,可以考慮利用起來,用于沖廁使用。因此,房屋建設的時候安裝廢水沖廁系統,充分利用水資源,對我國的節水工程具有積極意義。
實用新型內容
本實用新型的目的在于提供一種能充分利用水資源,利用上層居民洗手、沐浴、洗衣的廢水沖廁、節水保護環境的自動廢水沖廁系統。
本實用新型的目的是這樣實現的:自動廢水沖廁系統,由多層房屋排水管網組成,其特征在于:還包括廢水箱、沉積池和溢流槽,溢流槽連接廢水箱和沉淀池。沉積池排水管接入所述沉積池,所述排水管與房屋排水管網的洗手、洗衣、沐浴水收集系統相連;沉積池底部接排泥管,所述排泥管與房屋排水管網的排污管相連;廢水箱底部接有廢水管,所述廢水管與沖洗管的頂端相連,沖洗管的末端與下一樓層的廁所沖洗系統相連,所述沖洗管還與自來水支管相連。
優選的,所述廢水箱底部為錐形,使廢水箱中的沉積物能順利排出到下層,直至排到樓層底部的排污系統;沉積池底部也為錐形,使廢水中的沉積物能聚集并沉淀到沉積池底部通過排泥管釋放,從而保證廢水箱內廢水的相對潔凈。
優選的,所述廢水管上有廢水閥,所述自來水支管上有自來水閥,所述排泥管上有排泥閥,所述自來水閥、廢水閥和排泥均為可控電磁閥,可實現先廢水沖洗馬桶,后少量自來水二次清洗馬桶的功能,保證馬桶的清潔,還可實現定期排泥,保持沉積池的潔凈。
優選的,所述廢水箱有過流板和溢流管,所述溢流管位于溢流槽與過流板之間,且與溢流槽和過流板有一定空隙,保證溢流槽內的廢水通過過流孔優先提供給廢水箱,待水滿后再進入溢流管;溢流管底部與廢水匯集管相連,多余的廢水會溢流進入溢流管,流入廢水匯集管中;所述廢水匯集管與下一樓層的洗手、洗衣、沐浴水收集系統一起連接至下一樓層排水管,如下一樓層的廢水箱裝滿水后,廢水將自動溢流入再下一層,從而實現多層溢流;且通過多層沉積池的沉積作用,還可實現多層過濾,保證了廢水水質的清潔。
優選的,所述溢流槽上有溢流孔,所述溢流孔底部高于溢流管管口,使沉積池中的廢水裝滿后能從沉積池溢流至廢水箱中。
優選的,所述過流板底部設計有過流孔。
本實用新型優點:
充分利用上層相對潔凈的廢水,多余廢水能自動溢流到下層,并實現廢水的多層過濾,且沉積池的設計保證了廢水中污泥和沉積物的順利排出,充分保證了沖廁水質的相對潔凈,能有效節水和保護水資源。







