申請日2014.11.04
公開(公告)日2015.03.11
IPC分類號F04B53/08; F04B53/00
摘要
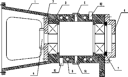
本實用新型公開了一種高溫廢水處理專用泵懸架,包括本體,端蓋下表面設有第一環形凹槽,第一環形凹槽內鑲嵌有第一金屬環,端蓋下表面螺紋連第一外螺紋圓柱,第一外螺紋圓柱上表面垂直定向設有第一六角棱形沉孔,第接一外螺紋圓柱下表面垂直定向設有第一沉孔,第一沉孔內插拔式連接有金屬片,金屬片與第一沉孔下表面之間固定連接有彈簧;蓋板上表面通過螺栓固定連接有第二金屬環,第二金屬環下表面垂直定向設有第二沉孔,第二沉孔下表面垂直定向設有第一通孔,第二沉孔內環形纏繞有硅膠繩。整體設計新穎,有效提升平穩性和密封能力,同時又良好散熱能力。
權利要求書
1.一種高溫廢水處理專用泵懸架,包括本體,所述本體包括連接端和軸承室,軸承室兩端通過螺栓固定連接有蓋板和端蓋,軸承室內軸孔配合有軸承,軸承室外表面設有注油口和排油口;其特征在于:所述端蓋下表面設有第一環形凹槽,第一環形凹槽內鑲嵌有第一金屬環,端蓋下表面螺紋連接第一外螺紋圓柱,第一外螺紋圓柱上表面垂直定向設有第一六角棱形沉孔,第一外螺紋圓柱下表面垂直定向設有第一沉孔,第一沉孔內插拔式連接有金屬片,金屬片與第一沉孔下表面之間固定連接有彈簧;所述蓋板上表面通過螺栓固定連接有第二金屬環,第二金屬環下表面垂直定向設有第二沉孔,第二沉孔下表面垂直定向設有第一通孔,第二沉孔內環形纏繞有硅膠繩。
2.根據權利要求1所述的高溫廢水處理專用泵懸架,其特征在于:所述第一金屬環的內徑小于軸承外圈的內徑,第一金屬環的外徑大于軸承外圈的外徑,第一金屬環的下表面與端蓋的下表面在同一個平面內。
3.根據權利要求1所述的高溫廢水處理專用泵懸架,其特征在于:所述第一外螺紋圓柱下表面在端蓋下表面上方。
4.根據權利要求1所述的高溫廢水處理專用泵懸架,其特征在于:所述第一外螺紋圓柱呈環形分布在端蓋的下表面上,金屬片的中軸線位于軸承外圈的內勁與外徑之間,第一金屬環的中軸線與軸承的中軸線在同一條直線上。
5.根據權利要求1所述的高溫廢水處理專用泵懸架,其特征在于:所述硅膠繩的截面呈長方形,硅膠繩上表面外八字形分布有唇口,唇口的上表面設有截面為弧形的第一凹槽。
6.根據權利要求1所述的高溫廢水處理專用泵懸架,其特征在于:所述第二沉孔的中軸線與第一通孔的中軸線在同一條直線上,第二金屬環的中軸線與第一金屬環的中軸線同一條直線上。
7.根據權利要求1所述的高溫廢水處理專用泵懸架,其特征在于:所述軸承室的外壁內設有環形通道,環形通道兩端設有進水口和出水口。
8.根據權利要求1所述的高溫廢水處理專用泵懸架,其特征在于:所述軸承室外表面還均勻分布有幅板。
9.根據權利要求1所述的高溫廢水處理專用泵懸架,其特征在于:所述軸承室外表面螺紋連接有觀測孔和吊環孔。
說明書
高溫廢水處理專用泵懸架
技術領域
本實用新型涉一種機械零件,具體涉及一種高溫廢水處理專用泵懸架。
背景技術
泵是輸送液體或使液體增壓的機械。它將原動機的機械能或其他外部能量傳送給液體,使液體能量增加。泵主要用來輸送水、油、酸堿液、乳化液、懸乳液和液態金屬等液體,也可輸送液、氣混合物及含懸浮固體物的液體。泵通常可按工作原理分為容積式泵、動力式泵和其他類型泵三類。除按工作原理分類外,還可按其他方法分類和命名。如,按驅動方法可分為電動泵和水輪泵等;按結構可分為單級泵和多級泵;按用途可分為鍋爐給水泵和計量泵等;按輸送液體的性質可分為水泵、油泵和泥漿泵等。泵懸架是泵的主要組成部分之一,但是在我們平時使用過程中發現一些不足之處:在處理高溫廢水時,經常會遇到密封性能不好,瞬間沖擊過大,問題過高等問題,造成損壞。
發明內容
針對上述現有技術存在的問題,本實用新型提供一種高溫廢水處理專用泵懸架。
為了實現上述目的,本實用新型采用的技術方案是:一種高溫廢水處理專用泵懸架,包括本體,本體包括連接端和軸承室,軸承室兩端通過螺栓固定連接有蓋板和端蓋,軸承室內軸孔配合有軸承,軸承室外表面設有注油口和排油口;端蓋下表面設有第一環形凹槽,第一環形凹槽內鑲嵌有第一金屬環,端蓋下表面螺紋連接第一外螺紋圓柱,第一外螺紋圓柱上表面垂直定向設有第一六角棱形沉孔,第一外螺紋圓柱下表面垂直定向設有第一沉孔,第一沉孔內插拔式連接有金屬片,金屬片與第一沉孔下表面之間固定連接有彈簧;蓋板上表面通過螺栓固定連接有第二金屬環,第二金屬環下表面垂直定向設有第二沉孔,第二沉孔下表面垂直定向設有第一通孔,第二沉孔內環形纏繞有硅膠繩。
作為優選,第一金屬環的內徑小于軸承外圈的內徑,第一金屬環的外徑大于軸承外圈的外徑,第一金屬環的下表面與端蓋的下表面在同一個平面內。
作為優選,第一外螺紋圓柱下表面在端蓋下表面上方。
作為優選,第一外螺紋圓柱呈環形分布在端蓋的下表面上,金屬片的中軸線位于軸承外圈的內勁與外徑之間,第一金屬環的中軸線與軸承的中軸線在同一條直線上。
作為優選,硅膠繩的截面呈長方形,硅膠繩上表面外八字形分布有唇口,唇口的上表面設有截面為弧形的第一凹槽。
作為優選,第二沉孔的中軸線與第一通孔的中軸線在同一條直線上,第二金屬環的中軸線與第一金屬環的中軸線同一條直線上。
作為優選,軸承室的外壁內設有環形通道,環形通道兩端設有進水口和出水口。
作為優選,軸承室外表面還均勻分布有幅板。
作為優選,軸承室外表面螺紋連接有觀測孔和吊環孔。
與現有技術相比,本實用新型的優點在于:
1.端蓋下表面設有第一環形凹槽,第一環形凹槽內鑲嵌有第一金屬環,端蓋下表面螺紋連接第一外螺紋圓柱,第一外螺紋圓柱上表面垂直定向設有第一六角棱形沉孔,第一外螺紋圓柱下表面垂直定向設有第一沉孔,第一沉孔內插拔式連接有金屬片,金屬片與第一沉孔下表面之間固定連接有彈簧,通過彈性變換來減少泵運行過程中瞬間的沖擊力,使得泵的運行更加的平穩,從而有利于提高使用壽命;
2.蓋板上表面通過螺栓固定連接有第二金屬環,第二金屬環下表面垂直定向設有第二沉孔,第二沉孔下表面垂直定向設有第一通孔,第二沉孔內環形纏繞有硅膠繩,起到良好的密封效果,同時在更換的過程中更加的方便,拆卸第二金屬環便可更換硅膠繩,有利于提高維修效率;
3. 軸承室的外壁內設有環形通道,環形通道兩端設有進水口和出水口,提高散熱能力,有利于保護軸承在良好的溫度下運行;
4.整體設計新穎,有效提升平穩性和密封能力,同時又良好散熱能力。







