申請日2014.10.21
公開(公告)日2015.01.21
IPC分類號C02F11/14; C02F11/00
摘要
本實用新型公開了一種含油污泥回收裝置,同時還涉及一種含油污泥濃縮脫水集裝化設備,屬多相分離和環保技術領域;所述含油污泥回收裝置包括罐體,所述罐體內依次設置有第一隔板、第二隔板、第三隔板和第四隔板,所述第一隔板、第二隔板、第三隔板和第四隔板依次將罐體劃分為進泥室、加藥攪拌室、電化學處理室、吸泥室和出水室;本實用新型的含油污泥分離回收裝置依靠自身獨特的結構,在罐體內流程內強化對污泥復雜穩定懸浮膠體體系的脫穩、破乳,并最終實現油、水、泥三相在小粒徑范圍內相互分離的工作原理,最終實現污泥的濃縮,省去了建造占地面積較大的地下污泥濃縮池(或緩沖池)及相關配套設備和設施,節省了空間,降低了成本。
權利要求書
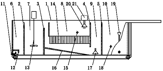
1.一種含油污泥回收裝置,其特征在于:包括罐體(1),所述罐體(1)內依次設置有第一隔板(2)、第二隔板(3)、第三隔板(4)和第四隔板(5),所述第一隔板(2)、第二隔板(3)、第三隔板(4)和第四隔板(5)依次將罐體(1)劃分為進泥室(6)、加藥攪拌室(7)、電化學處理室(8)、吸泥室(9)和出水室(10);所述進泥室(6)底部的罐體(1)上設置有進口(11),進泥室(6)和相鄰的加藥攪拌室(7)通過第一隔板(2)溢流連通;所述加藥攪拌室(7)內設置有攪拌裝置(13),加藥攪拌室(7)和相鄰的電化學處理室(8)通過第二隔板(3)溢流連通;所述電化學處理室(8)內設置有電極(14),電化學處理室(8)頂部的罐體(1)上設置有出油裝置,電化學處理室(8)和相鄰的吸泥室(9)通過第三隔板(4)底部缺口連通;所述吸泥室(9)設置有吸泥口(17);所述電化學處理室(8)的罐體(1)中上部設置有第一連通口(15),所述出水室(10)的罐體(1)上設置有第二連通口(18),且出水室(10)的罐體(1)上還設置有出水口(19)。
2.如權利要求1所述的含油污泥回收裝置,其特征在于:所述電化學處理室(8)的底部布置有向吸泥室(9)傾斜的傾斜板(16)。
3.如權利要求1所述的含油污泥回收裝置,其特征在于:所述進泥室(6)的進口(11)處設置有折流板(12)。
4.如權利要求1所述的含油污泥回收裝置,其特征在于:所述出油裝置包括位于電化學處理室(8)內的浮筒和設置于浮筒上設置有吸油口(20),所述吸油口(20)通過軟管穿過罐體(1)與抽油泵(21)連通。
5.如權利要求1所述的含油污泥回收裝置,其特征在于:所述吸泥室(9)和相鄰的出水室(10)通過第四隔板(5)溢流連通。
6.如權利要求1所述的含油污泥回收裝置,其特征在于:所述第一連通口(15)高于第二連通口(18)。
7.一種含油污泥濃縮脫水集裝化設備,其特征在于:包含如權利要求1至6任一項所述的含油污泥回收裝置,所述含油污泥回收裝置的加藥攪拌室(7)連接有加藥裝置,所述吸泥室(9)的吸泥口(17)依次連接有吸泥泵(24)和脫水裝置(25)。
8.如權利要求7所述的含油污泥濃縮脫水集裝化設備,其特征在于:所述加藥裝置包括加藥罐(22),所述加藥罐(22)和加藥攪拌室(6)通過加藥泵(23)連通。
9.如權利要求7所述的含油污泥濃縮脫水集裝化設備,其特征在于:所述脫水裝置(25)后段設置有污泥斗(26)。
10.如權利要求7所述的含油污泥濃縮脫水集裝化設備,其特征在于:所述加藥裝置、吸泥泵(24)和脫水裝置(25)設置于房體(27)內,所述房體(27)設置于含油污泥回收裝置的罐體(1)上部。
說明書
一種含油污泥回收裝置及含油污泥濃縮脫水集裝化設備
技術領域
本實用新型涉及一種含油污泥回收裝置,同時還涉及一種含油污泥濃縮脫水集裝化設備,屬多相分離和環保技術領域。
背景技術
含油污泥是石油勘探開發、運輸、煉制及含油污水處理工程中所產生的含油固體廢棄物,其中主要是石油勘探與其化工生產過程中產生的油泥、油砂,具有產生量大(僅原油生產每年200萬噸以上,不包括煉廠污泥),含水率高(達99%),含油量高(15%-20%)等特點。從節約生產成本,減少排污費和保護環境的角度,含油污泥處理的首要步驟是濃縮脫水,即壓縮污泥量。據測算,污泥含水率從99%降低到70%,其體積和重量僅為原來的1/30。
油田含油污泥組成成分極其復雜,一般有水包油、油包水及懸浮固體雜質組成,其中膠質、瀝青成分多,與大量殘余藥劑、破乳劑、表面活性劑等有機聚合物結合穩定,與固體顆粒吸附后,形成一種非常穩定的懸浮乳狀液體系,增加了破乳分離難度。這是含油污泥和其他污泥體系最重要的特征差異,決定了含油污泥脫水處理工藝應重點放在對含油污泥中原油破乳脫穩預處理上,即污泥“去油”。含油污泥“去油”后,不僅能回收原油避免資源浪費,同時,由于減少含油污泥中的原油含量,減少或消除了原油對泥、水分離效果的影響,使泥、水固液脫水分離變得相對容易得多。
污泥機械脫水通過物理化學方法,將污泥中大量顆粒物(>0.1 mm)分離出來,是目前應用最多的濃縮脫水處理措施。在常規不含油污泥,如自來水廠、市政污水污泥等其他行業應用較多的機械脫水技術主要有離心分離機(臥螺離心機)、板框式壓濾機、帶式壓濾機等。目前國內大部分油田,均從事過將三種機械脫水技術用于油田含油污泥脫水工程實踐,但由于技術和設備適應性原因無法定型,沒有得到大面積推廣應用。主要問題是:(1)現有脫水技術需預濃縮。離心分離機(臥螺離心機)、板框式壓濾機、帶式壓濾機對污泥固體含量最低含量有要求,都需要對進料污泥進行預濃縮才能達到要求大于1%。但限于占地原因,油田污水站配套濃縮池或濃縮罐容量都普遍較小,加上含油污泥體系穩定,含油污泥自然濃縮效果差,達不到要求的進料濃度,導致離心分離機(臥螺離心機)、板框式壓濾機、帶式壓濾機長時間空轉不出干泥,脫水效果差。(2)含油污泥脫穩“去油” 缺乏有效技術措施,單一的化學處理效果差,脫水后的泥中含油量大,油回收率利用低。泥中含油導致離心分離機(臥螺離心機)固液分離不徹底,出泥率低。帶式壓濾機板框和帶式壓濾機在粘性污油和在較高壓力操作下易造成跑料,濾布和濾帶刺漏損壞和其他設備故障,操作環境差,濾布、濾帶更換會帶來二次污染。
發明內容
本實用新型的發明目的在于:針對上述存在的問題,提供一種含油污泥回收裝置,用以解決現有油田污泥脫水系統必須用污泥濃縮池預濃縮,含油污泥脫穩“去油”缺乏有效技術措施,脫水后的泥中含油量大,油回收率利用低問題,同時還提供一種適合油田含油污泥的污油分離回收裝置。
本實用新型采用的技術方案如下:
一種含油污泥回收裝置,包括罐體,所述罐體內依次設置有第一隔板、第二隔板、第三隔板和第四隔板,所述第一隔板、第二隔板、第三隔板和第四隔板依次將罐體劃分為進泥室、加藥攪拌室、電化學處理室、吸泥室和出水室;所述進泥室底部的罐體上設置有進口,進泥室和相鄰的加藥攪拌室通過第一隔板溢流連通;所述加藥攪拌室內設置有攪拌裝置,加藥攪拌室和相鄰的電化學處理室通過第二隔板溢流連通;所述電化學處理室內設置有電極,電化學處理室頂部的罐體上設置有出油裝置,電化學處理室和相鄰的吸泥室通過第三隔板底部缺口連通;所述吸泥室設置有吸泥口;所述電化學處理室的罐體中上部設置有第一連通口,所述出水室的罐體上設置有第二連通口,且出水室的罐體上還設置有出水口。
進一步的,所述第一隔板、第二隔板、第三隔板和第四隔板頂部與罐體間均為溢流結構,以保證整個罐體內各室間的壓力平衡,保證物料流通性。
進一步的,所述電化學處理室的底部布置有向吸泥室傾斜的傾斜板。
進一步的,所述進泥室的進口處設置有折流板。
進一步的,所述出油裝置包括位于電化學處理室內的浮筒和設置于浮筒上設置有吸油口,所述吸油口通過軟管穿過罐體與抽油泵連通。
進一步的,所述吸泥室和相鄰的出水室通過第四隔板溢流連通。
進一步的,所述第一連通口高于第二連通口。
進一步的,所述吸泥口的進口靠近于罐體底部位置。
進一步的,所述出水口的進口位于罐體的中上部。
一種含油污泥濃縮脫水集裝化設備,包含所述的含油污泥回收裝置,所述含油污泥回收裝置的加藥攪拌室連接有加藥裝置,所述吸泥室的吸泥口依次連接有吸泥泵和脫水裝置。
進一步的,所述脫水裝置為螺旋壓濾脫水機
進一步的,所述脫水裝置的液體排出管道連通至電化學處理室。
進一步的,所述加藥裝置包括加藥罐,所述加藥罐和加藥攪拌室通過加藥泵連通。
進一步的,所述脫水裝置后段設置有污泥斗。
進一步的,所述加藥裝置、吸泥泵和脫水裝置設置于房體內,所述房體設置于含油污泥回收裝置的罐體上部。
綜上所述,由于采用了上述技術方案,本實用新型的有益效果是:本實用新型的含油污泥分離回收裝置依靠裝置自身獨特的過濾結構,采用化學藥劑破乳和電化學氣浮、凝聚、催化氧化等復合技術相結合,在罐體內流程內強化對污泥復雜穩定懸浮膠體體系的脫穩、破乳,并最終實現油、水、泥三相在小粒徑范圍內相互分離的工作原理,最終實現污泥的濃縮,省去了建造占地面積較大的地下污泥濃縮池(或緩沖池)及相關配套設備和設施,節省了空間,降低了成本,為污泥的脫水裝置脫水、污油回收、降低脫出泥的油含量提供了較好的工藝保障,在含油污泥脫水過程中,顯著提高了含油污泥中原油回收率,減少了原油資源浪費,既帶來經濟效益,同時也為后續污泥無害化處置減輕環境和技術風險。
該實用新型的含油污泥離回收裝置和含油污泥濃縮脫水集裝化設備,脫水裝置無需濃縮池,當聯合站需要污泥脫水時,將此一體化設備吊裝到轉運工具上并運送到現場就位組合后,接通污泥、水、電等入口和污水出口即可投入生產運行,這樣一臺一體化設備可以通過轉運就可完成不同聯合站的污泥脫水處理,減少了一次性投入,設備使用率高。同時脫水裝置可采用小功率電機驅動,以極低的轉速帶動螺旋軸和壓縮污泥實現濃縮和脫水,無須高壓和高速旋轉,因此高效節能,不采用濾布、無堵塞、清洗簡單,無須消耗大量沖洗水;無需更換濾布,減少了濾布的二次污染;運行噪音低、密閉無污泥惡臭,綠色環保。另外整套裝置集裝式,移運性好,安裝簡單快速。







