申請日2015.07.13
公開(公告)日2016.08.03
IPC分類號B01D36/04; B01D29/52; B01D35/30; B01D29/13
摘要
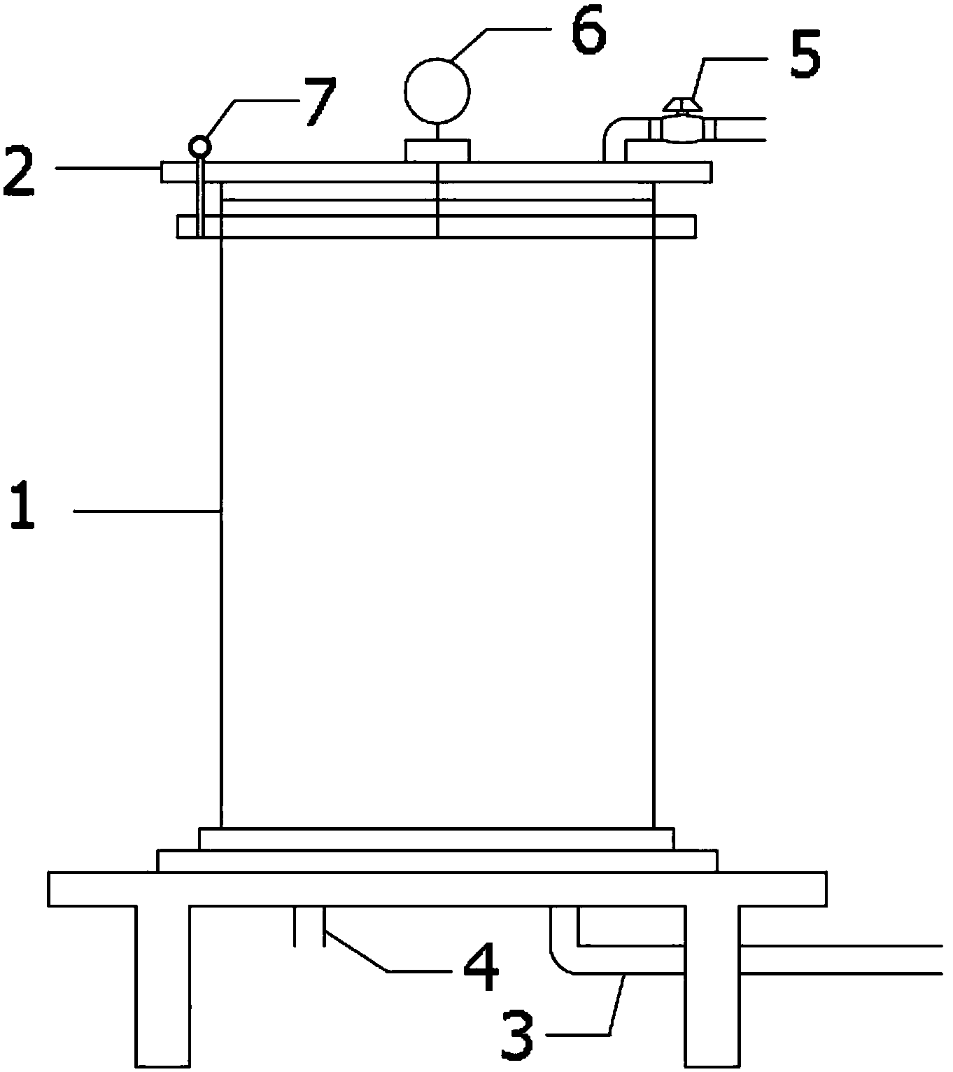
本實用新型提供了一種簡易重金屬污水處理微濾裝置,包括濾筒,筒蓋,進水管,出水管,放氣閥,壓力表和壓緊環,濾筒包括筒體和濾芯;筒蓋在濾筒頂部活動連接,進水管和出水管連接在濾筒外部,放氣閥和壓力表設置在濾筒頂部外側,壓緊環與濾筒和筒蓋相連;濾芯均勻垂直分布于筒體內部;濾芯由過濾介質纏繞在骨架外而成,骨架為聚丙烯材料,過濾介質為聚丙烯纖維,本實用新型的有益效果是:設備簡單,成本低廉,過濾效果好。
權利要求書
1.一種簡易重金屬污水處理微濾裝置,包括濾筒(1),筒蓋(2),進水管(3),出水管(4),放氣閥(5),壓力表(6)和壓緊環(7),其特征在于,所述濾筒包括筒體(11)和濾芯(12);所述筒蓋在濾筒頂部活動連接,所述進水管和出水管連接在濾筒外部,所述放氣閥和壓力表設置在濾筒頂部外側,所述壓緊環與濾筒和筒蓋相連;所述濾芯均勻垂直分布于筒體內部;所述濾芯由過濾介質(13)纏繞在骨架(14)外而成,所述骨架為中空,所述骨架為聚丙烯材料,所述過濾介質為聚丙烯纖維。
2.如權利要求1所述的一種簡易重金屬污水處理微濾裝置,其特征在于,所述進水管和出水管位于濾筒底部。
說明書
一種簡易重金屬污水處理微濾裝置
技術領域
本實用新型屬于污水處理領域,特別是涉及一種簡易重金屬污水處理微濾裝置。
背景技術
在污水處理行業,需要將固液分離,而很多污水治理企業為了節約成本,并沒有將微粒與液體進行分離,從而導致排放不符合國家標準。目前化學沉淀法處理重金屬污水,沉淀后,大都用填砂過濾器,但過細的沉淀(0.1-10微米),常常漏過,近年來,新的重金屬排放標準限值加嚴,雖然懸浮物SS達標,但卻致使重金屬排放超標。微濾范疇是0.1-10微米范圍,現在污水處理用微濾設備大都是中空纖維膜組件、陶瓷膜組件、PE膜組件為主組成。操作復雜成本高。
中國專利204121833U公開了一種污水微濾機,包括箱體、半球狀濾網和集水池,具有較好的除雜效果,但是對于微米級沉淀無法進行有效處理,不能解決行業問題。
發明內容
為解決污水處理行業對微米級沉淀過濾成本過高,操作復雜的問題,我們提出了一種簡易重金屬污水處理微濾裝置,采用本實用新型可以達到成本低廉,處理效果好,操作簡單的目的。
本實用新型是通過以下技術方案實現的:
為達到上述目的,一種簡易重金屬污水處理微濾裝置,包括濾筒,筒蓋,進水管,出水管,放氣閥,壓力表和壓緊環,濾筒包括筒體和濾芯;筒蓋在濾筒頂部活動連接,所述進水管和出水管連接在濾筒外部,所述放氣閥和壓力表設置在濾筒頂部外側,所述壓緊環與濾筒和筒蓋相連;濾筒為主要工作裝置,進出水管通過水泵控制進出濾筒液體的流量,根據流量不同獲得不同力度的過濾效果,放氣閥和壓力表控制濾筒內部環境,根據壓力表顯示實時壓力值,以放氣閥控制濾筒內氣壓,隨時調整;壓緊環控制筒蓋和濾筒之間的緊密程度,防止濾筒漏氣。
所述濾芯均勻垂直分布于筒體內部;所述濾芯由過濾介質纏繞在骨架外而成,所述骨架為聚丙烯材料,所述過濾介質為聚丙烯纖維。使用聚丙烯鉆孔骨架,外用聚丙烯拉毛線纏繞作為過濾介質,通過的微粒尺寸達到1微米,截留沉淀后,形成濾餅層,可使通過微粒尺寸達0.1-0.5微米,實現了重金屬污水化學法沉淀微過濾,截留了1微米以下的重金屬沉淀顆粒,確保了重金屬污染物達標。
優選地,上述進水管和出水管位于濾筒底部。進水管和出水管都設置在底部,可以通過水壓將污水沖至濾筒上部,然后隨重力自然下降,達到良好的過濾效果,且不易堵塞。
本實用新型的有益效果是:
1、設備簡單,成本低廉;
2、過濾效果好。







