申請日2016.05.28
公開(公告)日2016.08.03
IPC分類號C02F9/04
摘要
本發明公開了一種工業鋁制品生產產生的廢水處理系統,包括原料池,原料池設置于地面之下,原料池的上方設置中和池以及支撐架,中和池與原料池之間設置有動力泵,中和池的上方設置有堿液池,堿液池與中和池之間設置有第一控制閥,中和池的液體出口聯通有第一沉淀池,第一沉淀池位于支撐架的下方且第一沉淀池高于地面設置,第一沉淀池上設置有第一通流口,第一沉淀池與地面之間設置有壓濾機,第一沉淀池與壓濾機之間設置有第三控制閥,本發明旨在提供一種結構更加優化的工業鋁制品生產產生的廢水處理系統,利用高空勢能,減少動力泵的數量,并同時公開了一種更加高效率處理工業鋁制品生產產生的廢水的廢水處理方法。
摘要附圖
權利要求書
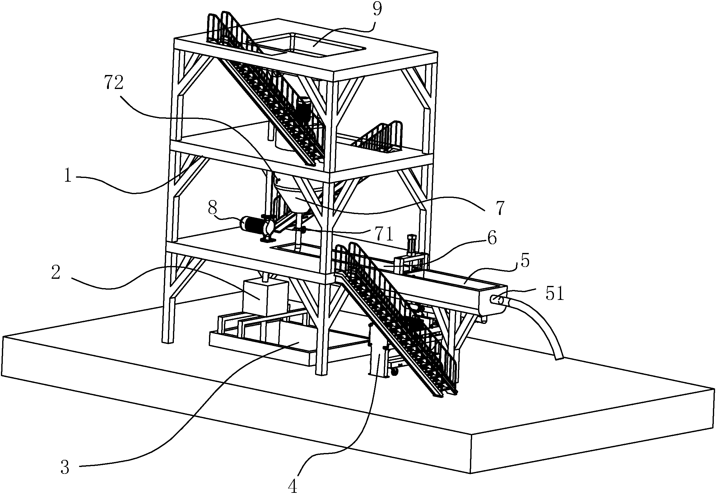
1.一種工業鋁制品生產產生的廢水處理系統,包括原料池(3),其特征是,所述的原料池(3)設置于地面之下,所述原料池(3)的上方設置有用于進行中和反應的中和池(7)以及用于支撐該中和池(7)的支撐架(1),所述的中和池(7)與原料池(3)之間設置有聯通管道以及用于將原料池(3)的液體抽送至中和池(7)的動力泵(8),所述的中和池(7)的上方設置有與中和池(7)聯通的堿液池(9),所述的堿液池(9)與中和池(7)之間設置有控制堿液進入中和池(7)的第一控制閥(91),所述的中和池(7)的液體出口聯通有第一沉淀池(6)且所述中和池(7)的液體出口處設置有控制液體出口啟閉的第二控制閥(71),所述的第一沉淀池(6)位于支撐架(1)的下方且第一沉淀池(6)高于地面設置,所述的第一沉淀池(6)上設置有用于供清液排出的第一通流口(14),所述的第一沉淀池(6)與地面之間設置有壓濾機(4)且所述第一沉淀池(6)與壓濾機(4)之間通過管道聯通,所述第一沉淀池(6)與壓濾機(4)之間設置有第三控制閥(61)。
2.根據權利要求1所述的工業鋁制品生產產生的廢水處理系統,其特征在于,所述的動力泵(8)與原料池(3)之間設置有密封的中間倉(2),所述中間倉(2)與動力泵(8)和原料池(3)之間均通過管道聯通。
3.根據權利要求1所述的工業鋁制品生產產生的廢水處理系統,其特征在于,所述第一沉淀池(6)相鄰設置有第二沉淀池(5),所述的第二沉淀池(5)與第一沉淀池(6)同高設置,所述的第二沉淀池(5)上設置有第二通流口(51),所述的第一通流口(14)的位置高于第二通流口(51)。
4.根據權利要求3所述的工業鋁制品生產產生的廢水處理系統,其特征在于,所述第一通流口(14)呈腰型孔設置且所述腰型孔沿第一沉淀池(6)的深度方向設置,所述的第一通流口(14)處設置有用于調節第一通流口(14)通流高度的調節組件(13)。
5.根據權利要求4所述的工業鋁制品生產產生的廢水處理系統,其特征在于,所述的調節組件(13)包括有帶有與第一通流口(14)孔徑相同的通孔(12)的擋板(11)以及用于驅動擋板(11)沿第一沉淀池(6)高度方向作往返運動的驅動源(10),所述驅動源(10)固定設置于第一沉淀池(6)池口邊緣處。
6.根據權利要求5所述的工業鋁制品生產產生的廢水處理系統,其特征在于,所述的中和池(7)設置為帶有攪拌槳的攪拌罐(7)。
7.根據權利要求6所述的工業鋁制品生產產生的廢水處理系統,其特征在于,所述的第一控制閥(91)、第二控制閥(71)和第三控制閥(61)均采用電控閥門,所述的第一控制閥(91)、第二控制閥(71)、第三控制閥(61)、動力泵(8)、攪拌槳以及驅動源(10)均信號連接于控制中心。
8.根據權利要求6所述的工業鋁制品生產產生的廢水處理系統,其特征在于,所述的攪拌罐(7)上設置有用于檢測攪拌罐(7)PH值的測試口(72)。
9.根據權利要求1所述的工業鋁制品生產產生的廢水處理系統,其特征在于,所述的中和池(7)與第一沉淀池(6)之間的聯通有管道且該管道于第一沉淀池(6)內的端口距離第一沉淀池(6)底部之間的距離小于三分之一第一沉淀池(6)的總深度,該管道于第一沉淀池(6)內的端口處設置有彎管(15)且所述彎管(15)朝向并靠近第一沉淀池(6)的池壁設置。
10.一種廢水處理方法,應用權利要求7中所述的工業鋁制品生產產生的廢水處理系統進行處理,其特征是:
S1:關閉第二控制閥(71),通過動力泵(8)將原料池(3)中的原液抽送至攪拌罐(7)內,同時打開第一控制閥(91),讓堿液池(9)內的堿液進入攪拌罐(7);
S2:待攪拌罐(7)內的液體至少高于三分之二攪拌罐(7)高度的時候,關閉動力泵(8)并關閉第一控制閥(91),啟動攪拌槳進行混合,攪拌1-3min;
S3:通過攪拌罐(7)上的測試口(72)檢測攪拌罐(7)內的PH值,若PH值低于6,則打開第一控制閥(91),進行進一步中和;
S4:待攪拌罐(7)內液體PH值處于6-8之間后,打開第二控制閥(71),讓攪拌罐(7)內的液體通入第一沉淀池(6),讓液體在第一沉淀池(6)內進行分層,控制驅動源(10)將第一通流口(14)的開口位置設置于最高位,讓位于最高層的清液通過第一通流口(14)進入第二沉淀池(5);
S5:在第一沉淀池(6)完成分層之后,控制驅動源(10)驅動擋板(11)第一通流口(14)的位置移動至最低位,待第一沉淀池(6)的液面下降至第一通流口(14)以下時,驅動源(10)驅動擋板(11)復位至第一通流口(14)處于最高位;
S6:重復S1-S5一至兩次之后,在新的一次循環S1至S4的步驟時,在S4步驟之后在第一沉淀池(6)內加入絮凝劑,靜置1-5分鐘;
S7:打開第三控制閥(61),將第一沉淀池(6)內所有的液體引入壓濾機(4)進行壓濾,收集壓濾之后的固體沉淀。
說明書
工業鋁制品生產產生的廢水處理系統以及廢水處理方法
技術領域
本發明涉及廢水處理系統,更具體地說,它涉及工業鋁制品生產產生的廢水處理系統。
背景技術
工業上在生產鋁制品的時候通常會產生很多工業廢水,這些工業廢水通常呈酸性,廢水中也會含有大量鋁離子以及一些微量的鋅、鎳銅離子,現代工藝中會對生產產生的廢水進行集中中和之后再進行排放,通常的處理工藝會在酸性廢水中加入片堿,將廢水的PH值中和至6-9,在中和反應過程中會產生氫氧化鋁等呈絮狀物的沉淀物,所以在中和反應完成之后會將該部分液體通入沉淀池進行固液分離,在固液分離之后,上層的清液可以直接進行排放,位于沉淀池下的沉淀物則進行統一的回收。
現有技術中通常會設置用于存放原料的原料池、用于進行中和反應的反應池和用于沉淀的沉淀池,原料池、反應池和沉淀池之間均通過設置動力泵抽送過去,在沉淀池上會設置有用于供沉淀完成的清液流走的通孔,所述的沉淀池上會設置有用于將沉淀物通走的管道,該管道通常會連接至壓濾機上,通過壓濾機的壓濾作用對于沉淀物進行濾干,將濾出的清液排走并對濾干的沉淀物進行回收,目前這套廢水處理系統中由于沉淀池,原料池、反應池等布置上的不合理,導致了動力泵比較多,管道也過于繁瑣復雜,不易于推廣使用。
發明內容
本發明的目的是提供一種結構更加優化的工業鋁制品生產產生的廢水處理系統,利用高空勢能,減少動力泵的數量。
本發明的上述技術目的是通過以下技術方案得以實現的:一種工業鋁制品生產產生的廢水處理系統,包括原料池,所述的原料池設置于地面之下,所述原料池的上方設置有用于進行中和反應的中和池以及用于支撐該中和池的支撐架,所述的中和池與原料池之間設置有聯通管道以及用于將原料池的液體抽送至中和池的動力泵,所述的中和池的上方設置有與中和池聯通的堿液池,所述的堿液池與中和池之間設置有控制堿液進入中和池的第一控制閥,所述的中和池的液體出口聯通有第一沉淀池且所述中和池的液體出口處設置有控制液體出口啟閉的第二控制閥,所述的第一沉淀池位于支撐架的下方且第一沉淀池高于地面設置,所述的第一沉淀池上設置有用于供清液排出的第一通流口,所述的第一沉淀池與地面之間設置有壓濾機且所述第一沉淀池與壓濾機之間通過管道聯通,所述第一沉淀池與壓濾機之間設置有第三控制閥。
通過采用上述技術方案,僅僅設置一個動力泵用于將原料池內的原液抽送至中和池內,堿液池內的堿液通過重力作用流動至中和池內,兩者進行混合之后,再次通過重力作用將液體排至第一沉淀池,在第一沉淀池進行重力分層沉淀,隨著液體的注入,位于上層的清液會通過第一通流口排走,在第一沉淀池之下還設置有壓濾機,當需要對沉淀物進行壓濾作用時,也只需要打開第三控制閥通過重力以及壓濾機自身配置的動力將第一沉淀池內的液體抽入壓濾機內進行濾水,整個廢水處理系統分為四層,位于最高層的堿液池,位于第二層的中和池,位于第三層的第一沉淀池、位于第四層的壓濾機以及位于地面之下的原料池,合理分配各個功能單元的位置,優化了廢水處理系統的結構,簡化了管路,降低了能源消耗,同時,也縮小了該廢水處理系統的占地面積。
優選的,所述的動力泵與原料池之間設置有密封的中間倉,所述中間倉與動力泵和原料池之間均通過管道聯通。
通過采用上述技術方案,將管道直接伸入原料池中如果用動力泵之間去吸液的話,經常會出現吸液的過程中帶入空氣而造成吸液困難的問題,所以在動力泵與原料池之間增加中間倉,中間倉為密封設置的,避免出現動力泵因為吸液的時候帶入空氣而造成的吸液效率低下的問題,進一步提高了該廢水處理系統能源利用效率。
優選的,所述第一沉淀池相鄰設置有第二沉淀池,所述的第二沉淀池與第一沉淀池同高設置,所述的第二沉淀池上設置有第二通流口,所述的第一通流口的位置高于第二通流口。
通過采用上述技術方案,打開第二控制閥之后中和池的液體會直接注入第一沉淀池,在中和池的液體注入過程中會反復沖擊第一沉淀池內的液體,很多時候已經分層的液體也會被攪渾,而且在液體一旦到達第一通流口的高度之后便會進行溢流,所以在第一沉淀池之后增設第二沉淀池,在未完全分層的液體進入第二沉淀池進行進一步的分層,保證了清液從第二沉淀池溢流出的液體更加符合標準。
優選的,所述第一通流口呈腰型孔設置且所述腰型孔沿第一沉淀池的深度方向設置,所述的第一通流口處設置有用于調節第一通流口通流高度的調節組件。
通過采用上述技術方案,一旦在中和池的液體全部通入第一沉淀池進行靜置,第一沉淀池的液面最后的高度就是第一通流口的高度,在下一輪的中和池的液體通入第一沉淀池的時候,第一沉淀池馬上會開始溢流,這樣很容易導致中和池剛進入的液體也一起溢流,利用調節組件的設置可以降低第一通流口的高度,在第一沉淀池完成靜置之后,調節組件將第一通流口的高度降低使得一部分的清液可以排出,然后再重新調高第一通流口的高度之后,可以接受下一次中和池的液體,給予一定的分層時間,這樣保證了從第一沉淀池出來的液體比較清潔。
優選的,所述的調節組件包括有帶有與第一通流口孔徑相同的通孔的擋板以及用于驅動擋板沿第一沉淀池高度方向作往返運動的驅動源,所述驅動源固定設置于第一沉淀池池口邊緣處。
通過采用上述技術方案,帶有通孔的擋板與腰型孔配合,擋板的滑移實現了第一通流口的高度的變化,結構簡單,操作方便。
優選的,所述的中和池設置為帶有攪拌槳的攪拌罐。
通過采用上述技術方案,原料池內的原液與堿液在中和池內混合,混合后中和池內的液體為懸濁液,生成帶有氫氧化鋁等沉淀物,在攪拌槳的作用下一方面可以加速中和效果,另一方面攪拌槳可以方式攪拌罐內的液體靜止分層,懸濁液更加容易從管道進入第一沉淀池,防止堵塞。
優選的,所述的第一控制閥、第二控制閥和第三控制閥均采用電控閥門,所述的第一控制閥、第二控制閥、第三控制閥、動力泵、攪拌槳以及驅動源均信號連接于控制中心。
通過采用上述技術方案,智能化控制使得該廢水處理系統節省了人力,根據不同的工況和需求對該系統進行控制,更加方便。
優選的,所述的攪拌罐上設置有用于檢測攪拌罐PH值的測試口。
通過采用上述技術方案,由于攪拌罐的密封,不容易檢檢測攪拌罐內的液體的PH值,所以設置測試口,在測試口處采樣小量液體進行PH檢測,在PH值達標之后再將攪拌罐內液體排走。
優選的,所述的中和池與第一沉淀池之間的聯通有管道且該管道于第一沉淀池內的端口距離第一沉淀池底部之間的距離小于三分之一第一沉淀池的總深度,該管道于第一沉淀池內的端口處設置有彎管且所述彎管朝向并靠近第一沉淀池的池壁設置。
通過采用上述技術方案,將管道深入第一沉淀池的底部且朝向第一沉淀池的池壁設置,這樣在液體通入第一沉淀池的時候可以減少通入液體對于第一沉淀池已經靜置液體的影響,防止已經靜置的液體再一次出現混合。
本發明的另一目的是提供一種更加高效率處理工業鋁制品生產產生的廢水的廢水處理方法。
一種廢水處理方法,應用所述的工業鋁制品生產產生的廢水處理系統進行處理,
S1:關閉第二控制閥,通過動力泵將原料池中的原液抽送至攪拌罐內,同時打開第一控制閥,讓堿液池內的堿液進入攪拌罐;
S2:待攪拌罐內的液體至少高于三分之二攪拌罐高度的時候,關閉動力泵并關閉第一控制閥,啟動攪拌槳進行混合,攪拌1-3min;
S3:通過攪拌罐上的測試口檢測攪拌罐內的PH值,若PH值低于6,則打開第一控制閥,進行進一步中和;
S4:待攪拌罐內液體PH值處于6-8之間后,打開第二控制閥,讓攪拌罐內的液體通入第一沉淀池,讓液體在第一沉淀池內進行分層,控制驅動源將第一通流口的開口位置設置于最高位,讓位于最高層的清液通過第一通流口進入第二沉淀池;
S5:在第一沉淀池完成分層之后,控制驅動源驅動擋板第一通流口的位置移動至最低位,待第一沉淀池的液面下降至第一通流口以下時,驅動源驅動擋板復位至第一通流口處于最高位;
S6:重復S1-S5一至兩次之后,在新的一次循環S1至S4的步驟時,在S4步驟之后在第一沉淀池內加入絮凝劑,靜置1-5分鐘;
S7:打開第三控制閥,將第一沉淀池內所有的液體引入壓濾機進行壓濾,收集壓濾之后的固體沉淀。
通過采用上述技術方案,在第一沉淀池中可以多次反復靜置沉淀,在第一沉淀池池底有足夠量的沉淀物之后在通過絮凝劑將液體和固定進行混合后通入壓濾機中進行壓濾,可以提高廢水處理的效率。


