申請日2016.05.28
公開(公告)日2016.08.17
IPC分類號C02F9/10
摘要
一種環保型醫療污水收集處理裝置,包括底板、收集裝置、第一過濾裝置、第二過濾裝置、加熱裝置及殺菌裝置,收集裝置包括收集箱、第一過濾網、清掃板、第一推動桿、第一氣缸、第一支架、第二支架、第一支撐桿、第二支撐桿及第一管道,第一過濾裝置包括第一框體、第一橫桿、密封框、第二過濾網、第一彈簧、第三過濾網、第一定位塊、第三支架及第一斜桿,第二過濾裝置包括第一橫板、第二框體、第四過濾網、彈性桿、第二推動桿、第三推動桿、第二氣缸、第四支架,加熱裝置包括加熱框、導熱板、第一導熱桿、第二導熱桿、散熱框、加熱棒、封閉塊、第一移動桿,本發明能夠對醫療廢水進行集中處理,并且可以對其進行高溫殺菌及紫外線殺菌。
摘要附圖
權利要求書
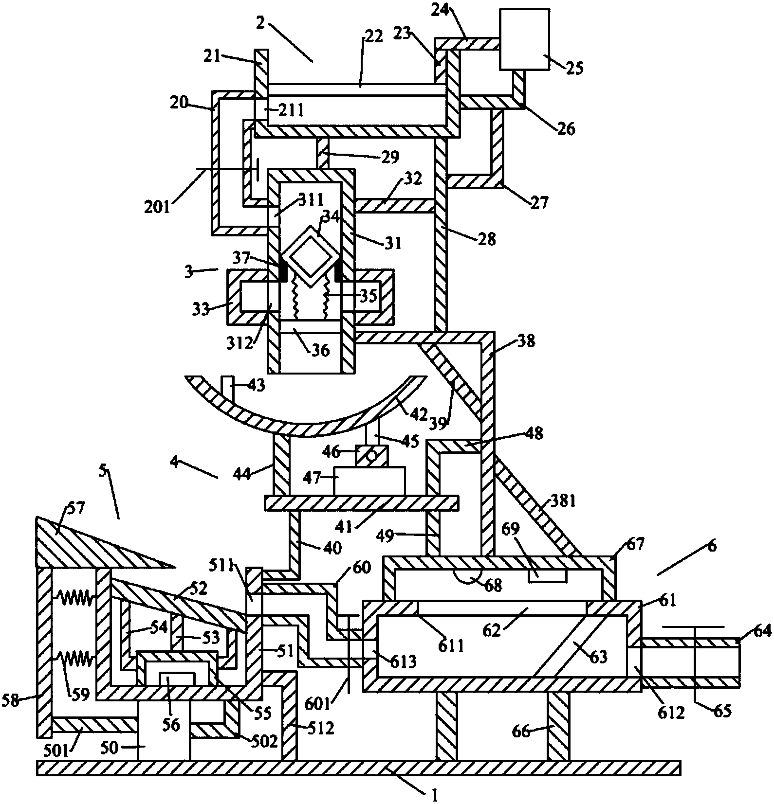
1.一種環保型醫療污水收集處理裝置,其特征在于:所述環保型醫療污水收集處理裝置包括底板、位于所述底板上方的收集裝置、位于所述收集裝置下方的第一過濾裝置、位于所述第一過濾裝置下方的第二過濾裝置、位于所述第二過濾裝置下方的加熱裝置及位于所述加熱裝置右側的殺菌裝置,所述收集裝置包括收集箱、收容于所述收集箱內的第一過濾網、位于所述第一過濾網上方的清掃板、位于所述清掃板上方的第一推動桿、位于所述第一推動桿右側的第一氣缸、位于所述第一氣缸下方的第一支架、位于所述第一支架下方的第二支架、位于所述第二支架左側的第一支撐桿、位于所述收集箱下方的第二支撐桿及位于所述第二支撐桿左側的第一管道,所述第一過濾裝置包括第一框體、位于所述第一框體右側的第一橫桿、位于所述第一框體左右兩側的密封框、位于所述第一框體內的第二過濾網、位于所述第二過濾網下方的第一彈簧、位于所述第一彈簧下方的第三過濾網、設置于所述第二過濾網下方的第一定位塊、位于所述第一框體右側的第三支架及設置于所述第三支架上的第一斜桿,所述第二過濾裝置包括第一橫板、位于所述第一橫板上方的第二框體、收容于所述第二框體內的第四過濾網、位于所述第二框體下方的彈性桿、位于所述彈性桿右側的第二推動桿、位于所述第二推動桿下方的第三推動桿、位于所述第三推動桿下方的第二氣缸、位于所述第二氣缸右側的第四支架、位于所述第一橫板下方的第三支撐桿及位于所述第三支撐桿左側的第五支架,所述加熱裝置包括加熱框、位于所述加熱框內的導熱板、位于所述導熱板下方的第一導熱桿、位于所述第一導熱桿左右兩側的第二導熱桿、位于所述第一導熱桿下方的散熱框、位于所述散熱框內的加熱棒、位于所述加熱框上方的封閉塊、位于所述封閉塊下方的第一移動桿、位于所述第一移動桿右側的第二彈簧及位于所述加熱框下方的第三氣缸,所述殺菌裝置包括殺菌框、設置于所述殺菌框上的玻璃板、位于所述殺菌框內的第五過濾網、位于所述殺菌框右側的排出管、設置于所述排出管上的第二閥門、位于所述殺菌框下方的第四支撐桿、位于所述殺菌框上方的第三框體、設置于所述第三框體內的紫外線燈、位于所述紫外線燈右側的電源及位于所述殺菌框左側的第二管道。
2.根據權利要求1所述的環保型醫療污水收集處理裝置,其特征在于:所述收集箱呈空心的長方體,所述收集箱上設有位于其左表面的第一通孔,所述第一過濾網呈長方體,所述第一過濾網水平放置,所述第一過濾網的側面與所述收集箱的內表面固定連接,所述清掃板呈長方體,所述清掃板豎直放置,所述清掃板的下表面與所述第一過濾網的上表面滑動連接,所述第一推動桿呈長方體,所述第一推動桿水平放置,所述清掃板的上表面與所述第一推動桿的下表面固定連接,所述第一推動桿的下表面與所述收集箱的上表面滑動連接,所述第一推動桿的右端與所述第一氣缸連接,所述第一支架呈L型,所述第一支架的一端與所述第一氣缸的下表面固定連接,所述第一支架的另一端與所述收集箱的右表面固定連接,所述第二支架呈L型,所述第二支架的一端與所述第一支架固定連接,所述第二支架的另一端與所述第一支撐桿的側面固定連接,所述第一支撐桿呈長方體,所述第一支撐桿豎直放置,所述第一支撐桿的上端與所述收集箱的下表面固定連接,所述第二支撐桿呈長方體,所述第二支撐桿豎直放置,所述第二支撐桿的上端與所述收集箱的下表面固定連接,所述第一管道呈凹字形,所述第一管道的一端對準所述第一通孔且與所述收集箱的左表面固定連接。
3.根據權利要求2所述的環保型醫療污水收集處理裝置,其特征在于:所述第一框體呈空心的長方體,所述第一框體的橫截面呈倒置的凹字形,所述第一框體豎直放置,所述第一框體上設有位于其左表面的第二通孔及位于其左右表面的第三通孔,所述第一管道的另一端對準所述第二通孔且與所述第一框體的左表面固定連接,所述第一橫桿呈長方體,所述第一橫桿水平放置,所述第一橫桿的右端與所述第一支撐桿固定連接,所述第一橫桿的左端與所述第一框體固定連接,所述第二支撐桿的下端與所述第一框體的上表面固定連接,所述密封框設有兩個且分別位于所述第一框體的左右兩側,所述密封框呈空心的長方體,所述密封框對準所述第三通孔且與所述第一框體的側面固定連接。
4.根據權利要求3所述的環保型醫療污水收集處理裝置,其特征在于:所述第二過濾網呈橫截面為口字型的柱體,所述第二過濾網水平放置,所述第二過濾網收容于所述第一框體內且與所述第一框體的內表面接觸且與其滑動連接,所述第三過濾網呈長方體,所述第三過濾網呈水平狀,所述第三過濾網的側面與所述第一框體的內表面固定連接,所述第一彈簧設有兩個,所述第一彈簧呈豎直狀,所述第一彈簧的上端與所述第二過濾網固定連接,所述第一彈簧的下端與所述第三過濾網固定連接,所述第一定位塊設有兩個且分別位于所述第二過濾網的左右兩側,所述第一定位塊呈豎直狀,所述第一定位塊的上端與所述第二過濾網固定連接,所述第一定位塊的側面與所述第一框體的內表面滑動連接,所述第三支架呈L型,所述第三支架的一端與所述第一框體的右表面固定連接,所述第三支架的另一端呈豎直狀,所述第一支撐桿的下端與所述第三支架固定連接,所述第三支架上設有第二斜桿,所述第二斜桿呈傾斜狀,所述第二斜桿的上端與所述第三支架固定連接,所述第一斜桿呈傾斜狀,所述第一斜桿的兩端與所述第三支架固定連接。
5.根據權利要求4所述的環保型醫療污水收集處理裝置,其特征在于:所述第一橫板呈長方體,所述第一橫板水平放置,所述第二框體呈空心的半圓柱體狀,所述第四過濾網呈豎直狀,所述第四過濾網與所述第二框體的內表面固定連接,所述彈性桿呈豎直狀,所述彈性桿的下端與所述第一橫板的上表面固定連接,所述彈性桿的上端與所述第二框體的下表面固定連接,所述第二推動桿的上端與所述第二框體的下表面固定連接,所述第二推動桿的下端與所述第三推動桿的上端軸轉連接,所述第三推動桿的下端與所述第二氣缸連接,所述第二氣缸的下表面與所述第一橫板的上表面固定連接,所述第四支架呈L型,所述第四支架的一端與所述第三支架固定連接,所述第四支架的另一端與所述第一橫板的上表面固定連接,所述第三支撐桿呈長方體,所述第三支撐桿豎直放置,所述第三支撐桿的上端與所述第一橫板的下表面固定連接,所述第五支架呈L型,所述第五支架的一端與所述第一橫板的下表面固定連接,所述第五支架的另一端呈水平狀。
6.根據權利要求5所述的環保型醫療污水收集處理裝置,其特征在于:所述加熱框呈空心的長方體,所述加熱框上設有位于其右表面的第四通孔及位于其右側的第六支架,所述第六支架呈L型,所述第六支架的一端與所述底板固定連接,所述第六支架的另一端與所述加熱框的右表面固定連接,所述導熱板呈傾斜狀,所述導熱板的側面與所述加熱框的內表面固定連接,所述散熱框呈空心的長方體,所述散熱框的橫截面呈倒置的凹字形,所述散熱框的下表面與所述加熱框的內表面固定連接,所述第一導熱桿呈豎直狀,所述第一導熱桿的下端與所述散熱框固定連接,所述第一導熱桿的上端與所述導熱板固定連接,所述第二導熱桿設有兩個且分別位于所述散熱框的左右兩側,所述第二導熱桿呈L型,所述第二導熱桿的一端與所述散熱框的側面固定連接,所述第二導熱桿的另一端與所述導熱板固定連接,所述封閉塊呈橫截面為直角三角形的柱體,所述封閉塊呈水平狀,所述封閉塊的下表面與所述加熱框的上表面滑動連接,所述第一移動桿呈長方體,所述第一移動桿呈豎直狀,所述第一移動桿的上端與所述封閉塊的下表面固定連接。
7.根據權利要求6所述的環保型醫療污水收集處理裝置,其特征在于:所述第二彈簧呈水平狀,所述第二彈簧的右端與所述加熱框固定連接,所述第二彈簧的左端與所述第一移動桿的右表面固定連接,所述第三氣缸的下表面與所述底板的上表面固定連接,所述第三氣缸的上表面與所述加熱框的下表面固定連接,所述第三氣缸上設有位于其左側的第四推動桿及位于其右側的第七支架,所述第四推動桿呈長方體,所述第四推動桿呈水平狀,所述第四推動桿的右端與所述第三氣缸連接,所述第四推動桿的左端與所述第一移動桿的右表面固定連接,所述第七支架呈L型,所述第七支架的一端與所述加熱框的下表面固定連接,所述第七支架的另一端與所述第三氣缸的右表面固定連接。
8.根據權利要求7所述的環保型醫療污水收集處理裝置,其特征在于:所述殺菌框呈空心的長方體,所述殺菌框呈水平狀,所述殺菌框上設有位于其上表面的方孔、位于其右表面的第五通孔及位于其左表面的第六通孔,所述玻璃板呈長方體,所述玻璃板水平放置,所述玻璃板收容于所述方孔內且與所述殺菌框固定連接,所述第五過濾網呈傾斜狀,所述第五過濾網的側面與所述殺菌框的內表面固定連接,所述排出管呈水平狀,所述排出管的左端對準所述第五通孔且與所述殺菌框的右表面固定連接,所述第四支撐桿設有兩個,所述第四支撐桿呈長方體,所述第四支撐桿呈豎直狀,所述第四支撐桿的下端與所述底板的上表面固定連接,所述第四支撐桿的上端與所述殺菌框的下表面固定連接。
9.根據權利要求8所述的環保型醫療污水收集處理裝置,其特征在于:所述第三框體呈空心的長方體,所述第三框體的下表面與所述殺菌框的上表面固定連接,所述第三框體位于所述方孔的上方,所述第三支架的下表面與所述第三框體的上表面固定連接,所述第二斜桿的下端與所述第三框體的上表面固定連接,所述第三支撐桿的下端與所述第三框體的上表面固定連接,所述第二管道呈Z字形,所述第二管道的一端對準所述第四通孔且與所述加熱框的右表面固定連接,所述第二管道的另一端對準所述第六通孔且與所述殺菌框的左表面固定連接,所述第二管道上設有第三閥門,所述紫外線燈與電源電性連接。
說明書
一種環保型醫療污水收集處理裝置
技術領域
本發明涉及醫療廢水處理技術領域,尤其涉及一種環保型醫療污水收集處理裝置。
背景技術
醫療廢水曾經多次引起公眾關注,醫療廢水的排放對水資源造成的危害巨大,已經成為危害群眾健康的一個源頭,部分地區真正能夠達到國家排放標準的只有屈指可數的幾家醫院,目前,法律的不規范,環保意識的薄弱,造成了醫療廢水直排和各大醫院存在的高污染低治理的現狀。
因此,需要提供一種新的技術方案解決上述技術問題。
發明內容
本發明的目的是提供一種可有效解決上述技術問題的環保型醫療污水收集處理裝置。
為了解決上述技術問題,本發明采用如下技術方案:
一種環保型醫療污水收集處理裝置,所述環保型醫療污水收集處理裝置包括底板、位于所述底板上方的收集裝置、位于所述收集裝置下方的第一過濾裝置、位于所述第一過濾裝置下方的第二過濾裝置、位于所述第二過濾裝置下方的加熱裝置及位于所述加熱裝置右側的殺菌裝置,所述收集裝置包括收集箱、收容于所述收集箱內的第一過濾網、位于所述第一過濾網上方的清掃板、位于所述清掃板上方的第一推動桿、位于所述第一推動桿右側的第一氣缸、位于所述第一氣缸下方的第一支架、位于所述第一支架下方的第二支架、位于所述第二支架左側的第一支撐桿、位于所述收集箱下方的第二支撐桿及位于所述第二支撐桿左側的第一管道,所述第一過濾裝置包括第一框體、位于所述第一框體右側的第一橫桿、位于所述第一框體左右兩側的密封框、位于所述第一框體內的第二過濾網、位于所述第二過濾網下方的第一彈簧、位于所述第一彈簧下方的第三過濾網、設置于所述第二過濾網下方的第一定位塊、位于所述第一框體右側的第三支架及設置于所述第三支架上的第一斜桿,所述第二過濾裝置包括第一橫板、位于所述第一橫板上方的第二框體、收容于所述第二框體內的第四過濾網、位于所述第二框體下方的彈性桿、位于所述彈性桿右側的第二推動桿、位于所述第二推動桿下方的第三推動桿、位于所述第三推動桿下方的第二氣缸、位于所述第二氣缸右側的第四支架、位于所述第一橫板下方的第三支撐桿及位于所述第三支撐桿左側的第五支架,所述加熱裝置包括加熱框、位于所述加熱框內的導熱板、位于所述導熱板下方的第一導熱桿、位于所述第一導熱桿左右兩側的第二導熱桿、位于所述第一導熱桿下方的散熱框、位于所述散熱框內的加熱棒、位于所述加熱框上方的封閉塊、位于所述封閉塊下方的第一移動桿、位于所述第一移動桿右側的第二彈簧及位于所述加熱框下方的第三氣缸,所述殺菌裝置包括殺菌框、設置于所述殺菌框上的玻璃板、位于所述殺菌框內的第五過濾網、位于所述殺菌框右側的排出管、設置于所述排出管上的第二閥門、位于所述殺菌框下方的第四支撐桿、位于所述殺菌框上方的第三框體、設置于所述第三框體內的紫外線燈、位于所述紫外線燈右側的電源及位于所述殺菌框左側的第二管道。
所述收集箱呈空心的長方體,所述收集箱上設有位于其左表面的第一通孔,所述第一過濾網呈長方體,所述第一過濾網水平放置,所述第一過濾網的側面與所述收集箱的內表面固定連接,所述清掃板呈長方體,所述清掃板豎直放置,所述清掃板的下表面與所述第一過濾網的上表面滑動連接,所述第一推動桿呈長方體,所述第一推動桿水平放置,所述清掃板的上表面與所述第一推動桿的下表面固定連接,所述第一推動桿的下表面與所述收集箱的上表面滑動連接,所述第一推動桿的右端與所述第一氣缸連接,所述第一支架呈L型,所述第一支架的一端與所述第一氣缸的下表面固定連接,所述第一支架的另一端與所述收集箱的右表面固定連接,所述第二支架呈L型,所述第二支架的一端與所述第一支架固定連接,所述第二支架的另一端與所述第一支撐桿的側面固定連接,所述第一支撐桿呈長方體,所述第一支撐桿豎直放置,所述第一支撐桿的上端與所述收集箱的下表面固定連接,所述第二支撐桿呈長方體,所述第二支撐桿豎直放置,所述第二支撐桿的上端與所述收集箱的下表面固定連接,所述第一管道呈凹字形,所述第一管道的一端對準所述第一通孔且與所述收集箱的左表面固定連接。
所述第一框體呈空心的長方體,所述第一框體的橫截面呈倒置的凹字形,所述第一框體豎直放置,所述第一框體上設有位于其左表面的第二通孔及位于其左右表面的第三通孔,所述第一管道的另一端對準所述第二通孔且與所述第一框體的左表面固定連接,所述第一橫桿呈長方體,所述第一橫桿水平放置,所述第一橫桿的右端與所述第一支撐桿固定連接,所述第一橫桿的左端與所述第一框體固定連接,所述第二支撐桿的下端與所述第一框體的上表面固定連接,所述密封框設有兩個且分別位于所述第一框體的左右兩側,所述密封框呈空心的長方體,所述密封框對準所述第三通孔且與所述第一框體的側面固定連接。
所述第二過濾網呈橫截面為口字型的柱體,所述第二過濾網水平放置,所述第二過濾網收容于所述第一框體內且與所述第一框體的內表面接觸且與其滑動連接,所述第三過濾網呈長方體,所述第三過濾網呈水平狀,所述第三過濾網的側面與所述第一框體的內表面固定連接,所述第一彈簧設有兩個,所述第一彈簧呈豎直狀,所述第一彈簧的上端與所述第二過濾網固定連接,所述第一彈簧的下端與所述第三過濾網固定連接,所述第一定位塊設有兩個且分別位于所述第二過濾網的左右兩側,所述第一定位塊呈豎直狀,所述第一定位塊的上端與所述第二過濾網固定連接,所述第一定位塊的側面與所述第一框體的內表面滑動連接,所述第三支架呈L型,所述第三支架的一端與所述第一框體的右表面固定連接,所述第三支架的另一端呈豎直狀,所述第一支撐桿的下端與所述第三支架固定連接,所述第三支架上設有第二斜桿,所述第二斜桿呈傾斜狀,所述第二斜桿的上端與所述第三支架固定連接,所述第一斜桿呈傾斜狀,所述第一斜桿的兩端與所述第三支架固定連接。
所述第一橫板呈長方體,所述第一橫板水平放置,所述第二框體呈空心的半圓柱體狀,所述第四過濾網呈豎直狀,所述第四過濾網與所述第二框體的內表面固定連接,所述彈性桿呈豎直狀,所述彈性桿的下端與所述第一橫板的上表面固定連接,所述彈性桿的上端與所述第二框體的下表面固定連接,所述第二推動桿的上端與所述第二框體的下表面固定連接,所述第二推動桿的下端與所述第三推動桿的上端軸轉連接,所述第三推動桿的下端與所述第二氣缸連接,所述第二氣缸的下表面與所述第一橫板的上表面固定連接,所述第四支架呈L型,所述第四支架的一端與所述第三支架固定連接,所述第四支架的另一端與所述第一橫板的上表面固定連接,所述第三支撐桿呈長方體,所述第三支撐桿豎直放置,所述第三支撐桿的上端與所述第一橫板的下表面固定連接,所述第五支架呈L型,所述第五支架的一端與所述第一橫板的下表面固定連接,所述第五支架的另一端呈水平狀。
所述加熱框呈空心的長方體,所述加熱框上設有位于其右表面的第四通孔及位于其右側的第六支架,所述第六支架呈L型,所述第六支架的一端與所述底板固定連接,所述第六支架的另一端與所述加熱框的右表面固定連接,所述導熱板呈傾斜狀,所述導熱板的側面與所述加熱框的內表面固定連接,所述散熱框呈空心的長方體,所述散熱框的橫截面呈倒置的凹字形,所述散熱框的下表面與所述加熱框的內表面固定連接,所述第一導熱桿呈豎直狀,所述第一導熱桿的下端與所述散熱框固定連接,所述第一導熱桿的上端與所述導熱板固定連接,所述第二導熱桿設有兩個且分別位于所述散熱框的左右兩側,所述第二導熱桿呈L型,所述第二導熱桿的一端與所述散熱框的側面固定連接,所述第二導熱桿的另一端與所述導熱板固定連接,所述封閉塊呈橫截面為直角三角形的柱體,所述封閉塊呈水平狀,所述封閉塊的下表面與所述加熱框的上表面滑動連接,所述第一移動桿呈長方體,所述第一移動桿呈豎直狀,所述第一移動桿的上端與所述封閉塊的下表面固定連接。
所述第二彈簧呈水平狀,所述第二彈簧的右端與所述加熱框固定連接,所述第二彈簧的左端與所述第一移動桿的右表面固定連接,所述第三氣缸的下表面與所述底板的上表面固定連接,所述第三氣缸的上表面與所述加熱框的下表面固定連接,所述第三氣缸上設有位于其左側的第四推動桿及位于其右側的第七支架,所述第四推動桿呈長方體,所述第四推動桿呈水平狀,所述第四推動桿的右端與所述第三氣缸連接,所述第四推動桿的左端與所述第一移動桿的右表面固定連接,所述第七支架呈L型,所述第七支架的一端與所述加熱框的下表面固定連接,所述第七支架的另一端與所述第三氣缸的右表面固定連接。
所述殺菌框呈空心的長方體,所述殺菌框呈水平狀,所述殺菌框上設有位于其上表面的方孔、位于其右表面的第五通孔及位于其左表面的第六通孔,所述玻璃板呈長方體,所述玻璃板水平放置,所述玻璃板收容于所述方孔內且與所述殺菌框固定連接,所述第五過濾網呈傾斜狀,所述第五過濾網的側面與所述殺菌框的內表面固定連接,所述排出管呈水平狀,所述排出管的左端對準所述第五通孔且與所述殺菌框的右表面固定連接,所述第四支撐桿設有兩個,所述第四支撐桿呈長方體,所述第四支撐桿呈豎直狀,所述第四支撐桿的下端與所述底板的上表面固定連接,所述第四支撐桿的上端與所述殺菌框的下表面固定連接。
所述第三框體呈空心的長方體,所述第三框體的下表面與所述殺菌框的上表面固定連接,所述第三框體位于所述方孔的上方,所述第三支架的下表面與所述第三框體的上表面固定連接,所述第二斜桿的下端與所述第三框體的上表面固定連接,所述第三支撐桿的下端與所述第三框體的上表面固定連接,所述第二管道呈Z字形,所述第二管道的一端對準所述第四通孔且與所述加熱框的右表面固定連接,所述第二管道的另一端對準所述第六通孔且與所述殺菌框的左表面固定連接,所述第二管道上設有第三閥門,所述紫外線燈與電源電性連接。
采用上述技術方案后,本發明具有如下優點:
本發明環保型醫療污水收集處理裝置能夠對醫療廢水進行集中處理,過濾掉其中的固體雜質,并且可以對其進行高溫殺菌及紫外線殺菌,從而可以保證其中的病菌得到全部的殺死,防止細菌的交叉感染,保護了環境,保障了人們的身體健康。



