申請日2016.05.13
公開(公告)日2016.11.30
IPC分類號B01D33/03; B01D33/41
摘要
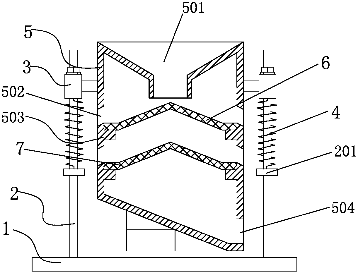
本實用新型涉及一種工業污水過濾裝置,包括固定底板,所述固定底板上端兩側設置有導向桿,所述導向桿上設置有限位環,所述限位環上側設置有彈簧,所述導向桿上側與滑套相連接,所述滑套與過濾箱相連接,所述過濾箱底部設置有偏振電機,所述過濾箱上側設置有進料孔,下側設置有下排料孔,所述過濾箱內側壁上設置有若干組限位板,所述限位板上設置有第一過濾網、第二過濾網,所述過濾箱側壁且位于第一過濾網、第二過濾網上側設置有上排料孔。本實用新使用時,偏振電機產生上下方向振動,實現過濾箱在彈簧的作用下實現振動,將污水經過第一過濾網、第二過濾網的過濾,可以將污水中的雜質過濾,且不易發生堵塞現象,同時過濾速度快、效果好。
權利要求書
1.一種工業污水過濾裝置,包括固定底板(1),所述固定底板(1)上端兩側設置有導向桿(2),其特征在于:所述導向桿(2)上設置有限位環(201),所述限位環(201)上側設置有彈簧(4),所述導向桿(2)上側與滑套(3)相連接,所述滑套(3)與過濾箱(5)相連接,所述過濾箱(5)底部設置有偏振電機,所述過濾箱(5)上側設置有進料孔(501),下側設置有下排料孔(504),所述過濾箱(5)內側壁上設置有若干組限位板(503),所述限位板(503)上設置有第一過濾網(6)、第二過濾網(7),所述過濾箱(5)側壁且位于第一過濾網(6)、第二過濾網(7)上側設置有上排料孔(502)。
2.根據權利要求1所述的一種工業污水過濾裝置,其特征在于:所述限位板(503)與過濾箱(5)之間為一體成型。
3.根據權利要求1所述的一種工業污水過濾裝置,其特征在于:所述第一過濾網(6)、第二過濾網(7)呈V形狀。
4.根據權利要求1所述的一種工業污水過濾裝置,其特征在于:所述第一過濾網(6)、第二過濾網(7)尖角朝向進料孔(501)方向。
說明書
一種工業污水過濾裝置
技術領域
本實用新型涉工業技術領域,尤其涉及一種工業污水過濾裝置。
背景技術
污水,通常指受一定污染的、來自生活和生產的排出水。污水主要有生活污水、工業廢水和初期雨水。污水的主要污染物有病原體污染物、耗氧污染物、植物營養物和有毒污染物等。
根據污水來源的觀點,污水可以定義為從住宅、機關、商業或者工業區排放的與地下水、地表水、暴風雪等混合的攜帶有廢物的液體或者水。污水由許多類別,相應地減少污水對環境的影響也有許多技術和工藝。按照污水來源,污水可以分為這四類。第一類:工業廢水來自制造采礦和工業生產活動的污水,包括來自與工業或者商業儲藏、加工的徑流活滲瀝液,以及其它不是生活污水的廢水。第二類:生活污水來自住宅、寫字樓、機關或相類似的污水;衛生污水;下水道污水,包括下水道系統中生活污水中混合的工業廢水。第三類:商業污水來自商業設施而且某些成分超過生活污水的無毒、無害的污。如餐飲污水。洗衣房污水、動物飼養污水,發廊產生的污水等。第四類:表面徑流來自雨水、雪水、高速公路下水,來自城市和工業地區的水等等,表面徑流沒有滲進土壤,沿街道和陸地進入地下水。
現有污水在處理過程中需要對污水中的雜質進行過濾,現有的過濾裝置在過濾過程中容易發生堵塞現象,且過濾效果差。
實用新型內容
本實用新型的目的是為了克服現有技術的不足,提供了一種工業污水過濾裝置。
本實用新型是通過以下技術方案實現:
一種工業污水過濾裝置,包括固定底板,所述固定底板上端兩側設置有導向桿,所述導向桿上設置有限位環,所述限位環上側設置有彈簧,所述導向桿上側與滑套相連接,所述滑套與過濾箱相連接,所述過濾箱底部設置有偏振電機,所述過濾箱上側設置有進料孔,下側設置有下排料孔,所述過濾箱內側壁上設置有若干組限位板,所述限位板上設置有第一過濾網、第二過濾網,所述過濾箱側壁且位于第一過濾網、第二過濾網上側設置有上排料孔。
作為本實用新型的優選技術方案,所述限位板與過濾箱之間為一體成型。
作為本實用新型的優選技術方案,所述第一過濾網、第二過濾網呈V形狀。
作為本實用新型的優選技術方案,所述第一過濾網、第二過濾網尖角朝向進料孔方向。
與現有的技術相比,本實用新型的有益效果是:本實用新型結構簡單,設計合理,本實用新型通過設置彈簧、第一過濾網與第二過濾網,這樣使用時,偏振電機產生上下方向振動,實現過濾箱在彈簧的作用下實現振動,將污水經過第一過濾網、第二過濾網的過濾,可以將污水中的雜質過濾,且不易發生堵塞現象,同時過濾速度快、效果好。



