申請日2016.05.13
公開(公告)日2016.10.19
IPC分類號C02F7/00
摘要
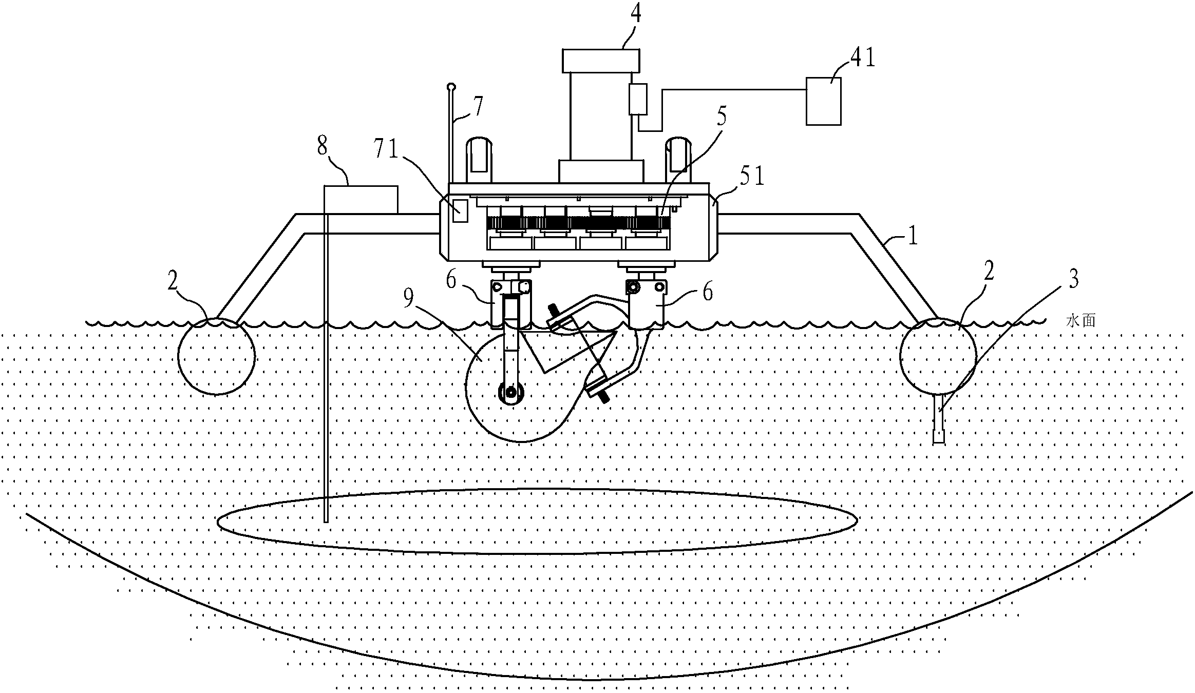
一種促進水體循環的水處理設備,包括支架、浮體、電機、機械夾組件、傳動箱及執行元件,機械夾組件能轉動地設于前述支架上;傳動箱設于前述支架的上端,該傳動箱的動力輸入端與前述的電機相連,動力輸出端與前述的機械夾組件相連;執行元件在水體里轉動狀態下能產生水力脈沖,該執行元件與前述的機械夾組件連接;其特征在于所述的支架上還設有微納米曝氣機,該微納米曝氣機的出氣端伸入到所述執行元件的工作區域。執行元件與微納米曝氣機結合可以提高氣體在水中的溶解度,從而可增強水中好氧微生物、浮游生物以及水生動物的生物活性,加速其對水體及底泥中污染物的生物降解過程,實現水質凈化目的。
權利要求書
1.一種促進水體循環的水處理設備,包括
支架;
浮體,設于前述支架的下端;
電機,設于前述支架上;
機械夾組件,能轉動地設于前述支架上;
傳動箱,設于前述支架的上端,該傳動箱的動力輸入端與前述的電機相連,動力輸出端與前述的機械夾組件相連;
執行元件,在水體里轉動狀態下能產生水力脈沖,該執行元件與前述的機械夾組件連接;
其特征在于所述的支架上還設有微納米曝氣機,該微納米曝氣機的出氣端伸入到所述執行元件的工作區域。
2.根據權利要求1所述的促進水體循環的水處理設備,其特征在于所述執行元件的輪廓由兩個相互垂直的平面構成,每個平面由半圓和等腰三角形組成,前述半圓的直線邊與等腰三角形的底邊相連,前述半圓的弧線中點與另一個平面的等腰三角形的頂點相交,所述半圓的半徑與三角形的高相等;并且,所述執行元件的外輪廓線外包裹有弧形曲面,且內部為實心。
3.根據權利要求2所述的促進水體循環的水處理設備,其特征在于所述執行元件的兩個半圓面上開設有通孔,對應地,所述的機械夾組件為一對并間隔布置,每個機械夾組件的指爪貫穿通過執行元件的通孔。
4.根據權利要求1所述的促進水體循環的水處理設備,其特征在于所述的電機連接有一轉速控制器。
5.根據權利要求1所述的促進水體循環的水處理設備,其特征在于所述的傳動箱內或支架上設有WiFi裝置和定位導航裝置,并且,所述浮體的下端面設有水體監測傳感器。
6.根據權利要求5所述的促進水體循環的水處理設備,其特征在于所述的定位導航裝置為BDS監測裝置或GPS監測裝置。
7.根據權利要求1所述的促進水體循環的水處理設備,其特征在于所述的傳動箱外側設有一防水密封罩。
說明書
促進水體循環的水處理設備
技術領域
本實用新型涉及一種水質凈化設備。屬于水處理技術領域。
背景技術
現今社會很多地方為了追求經濟的片面發展對當地的水資源造成了很多可以避免的污染和浪費,同時,在居民的日常生活、工業領域及農業生產方面,造成很多水資源被破壞,水資源顯得緊缺,保護水資源,合理使用水資源是十分必要的。
現有技術中公開了很多關于水處理的方法、設備和經驗,主要有物理法、生物法和化學法對污染的水體進行處理,而這些處理方式所需要消耗的處理成本十分大。
如何降低能耗同時提高凈化效果和凈化效率一直是本領域技術人員所追求的。
實用新型內容
本實用新型所要解決的技術問題是針對上述的技術現狀而提供一種單位時間內能迅速提高水體溶氧量的促進水體循環的水處理設備。
本實用新型解決上述技術問題所采用的技術方案為:一種促進水體循環的水處理設備,包括
支架;
浮體,設于前述支架的下端;
電機,設于前述支架上;
機械夾組件,能轉動地設于前述支架上;
傳動箱,設于前述支架的上端,該傳動箱的動力輸入端與前述的電機相連,動力輸出端與前述的機械夾組件相連;
執行元件,在水體里轉動狀態下能產生水力脈沖,該執行元件與前述的機械夾組件連接;
其特征在于所述的支架上還設有微納米曝氣機,該微納米曝氣機的出氣端伸入到所述執行元件的工作區域。
作為優選,所述執行元件的輪廓由兩個相互垂直的平面構成,每個平面由半圓和等腰三角形組成,前述半圓的直線邊與等腰三角形的底邊相連,前述半圓的弧線中點與另一個平面的等腰三角形的頂點相交,所述半圓的半徑與三角形的高相等;并且,所述執行元件的外輪廓線外包裹有弧形曲面,且內部為實心。
進一步,所述執行元件的兩個半圓面上開設有通孔,對應地,所述的機械夾組件為一對并間隔布置,每個機械夾組件的指爪貫穿通過執行元件的通孔。
作為改進,所述的電機連接有一轉速控制器。
作為改進,所述的傳動箱內或支架上設有WiFi裝置和定位導航裝置,并且,所述浮體的下端面設有水體監測傳感器。
進一步,所述的定位導航裝置為BDS監測裝置或GPS監測裝置。
進一步,所述的傳動箱外側設有一防水密封罩。
與現有技術相比,本實用新型的優點在于:執行元件與微納米曝氣機結合可以提高氣體在水中的溶解度,從而可增強水中好氧微生物、浮游生物以及水生動物的生物活性,加速其對水體及底泥中污染物的生物降解過程,實現水質凈化目的。



