申請日2016.05.13
公開(公告)日2016.10.12
IPC分類號C02F9/02; F24D15/00
摘要
本實用新型提供一種家用供暖水處理裝置及家用供暖系統。其中具有進口和出口的家用供暖水處理裝置包括:旋流裝置,其包括從上至下漸縮的錐壁、圍繞該錐壁設置且與該錐壁之間的距離從上至下逐漸增大以限定出與所述進口連通的旋流空間的圍擋以及與該旋流空間連通的射流孔,所述旋流裝置被構造成使進入旋流空間的流體繞錐壁形成旋流;處理水容納部,其具有與該旋流空間相連通的處理水入口,所述出口設在所述處理水容納部上;以及沉淀部,其具有位于該旋流裝置和該處理水容納部下方并與該旋流空間和該處理水入口連通的內腔以及與該內腔連通的排污結構。本實用新型能夠在不影響供暖水循環的情況下將雜質從供暖水分離。
權利要求書
1.一種具有進口和出口的家用供暖水處理裝置(1),其特征在于,包括:
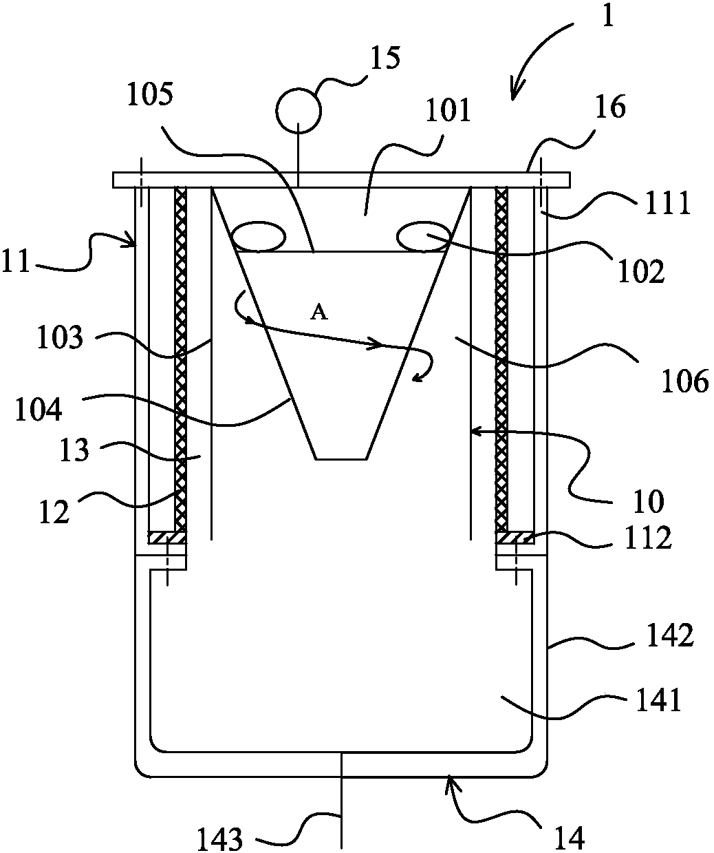
旋流裝置(10),其包括從上至下漸縮的錐壁(104)、圍繞該錐壁(104)設置且與該錐壁(104)之間的距離從上至下逐漸增大以限定出與所述進口連通的旋流空間(106)的圍擋(103)以及與該旋流空間(106)連通的射流孔(102),所述旋流裝置(10)被構造成使進入旋流空間(106)的流體繞錐壁(104)形成旋流;
處理水容納部(11),其具有與該旋流空間(106)相連通的處理水入口,所述出口設在所述處理水容納部(11)上;以及
沉淀部(14),其具有位于該旋流裝置(10)和該處理水容納部(11)下方并與該旋流空間(106)和該處理水入口連通的內腔(141)以及與該內腔(141)連通的排污結構(143)。
2.根據權利要求1所述的家用供暖水處理裝置(1),其特征在于,射流孔(102)形成在錐壁(104)上,在沿水平方向截取的截面中,所述射流孔(102)相對于錐壁(104)徑向傾斜延伸。
3.根據權利要求1或2所述的家用供暖水處理裝置(1),其特征在于,多個射流孔(102)沿該錐壁(104)的周向均勻間隔布置。
4.根據權利要求1所述的家用供暖水處理裝置(1),其特征在于,還包括覆蓋該處理水容納部(11)的整個處理水入口的過濾層(12)。
5.根據權利要求4所述的家用供暖水處理裝置(1),其特征在于,該過濾層(12)和該圍擋(103)相間隔并限定出與該旋流空間(106)和該內腔(141)相連通的夾層空間(13)。
6.根據權利要求1所述的家用供暖水處理裝置(1),其特征在于,該沉淀部(14)的限定出內腔(141)的外殼(142)是透明的。
7.一種家用供暖系統,其特征在于,包括:
相連通的供水管路(2)和回水管路(3);
加熱裝置(4),其連接在所述供水管路(2)和回水管路(3)之間并與所述供水管路(2)和回水管路(3)共同限定出供暖回路;
根據權利要求1至6中任一項所述的家用供暖水處理裝置(1),其中該旋流裝置(10)的射流孔(102)通過所述進口與回水管路(3)相連通,所述出口與供水管路(2)相連通,所述家用供暖水處理裝置(1)、供水管路(2)和回水管路(3)共同限定出處理回路;以及
控制裝置,其控制所述供暖回路和處理回路交替運行。
8.權利要求7所述的家用供暖系統,其特征在于,所述出口通過第一連接管路(5)連通至該供水管路(2),在該加熱裝置(4)和第一連接管路(5)之間設有安裝在供水管路(2)上的第一單向閥(21),在第一連接管路(5)上安裝有第二單向閥(51),所述進口通過第二連接管路(6)連通至該回水管路(3),該家用供暖系統還包括作用于該供暖回路的第一泵(9)和作用于該處理回路的第二泵(52),該控制裝置包括連接至第一泵(9)和第二泵(52)并控制第一泵(9)和第二泵(52)交替運行的繼電器。
9.根據權利要求7所述的家用供暖系統,其特征在于,所述出口通過第一連接管路(5)連通至該供水管路(2),在該加熱裝置(4)和第一連接管路(5)之間設有安裝在該供水管路(2)上的第一通斷閥(22),第一連接管路(5)上安裝有第二通斷閥(53),所述進口通過第二連接管路(6)連通至該回水管路(3),該家用供暖系統還包括安裝在第二連接管路(6)和加熱裝置(4)的上游的第一泵(9),該控制裝置包括連接至第一通斷閥(22)和第二通斷閥(53)并根據供暖水溫度使第一通斷閥(22)和第二通斷閥(53)交替啟閉的溫控裝置(7)。
10.根據權利要求8或9所述的家用供暖系統,其特征在于,至少所述加熱裝置(4)和第一泵(9)設置在鍋爐(8)中。
說明書
家用供暖水處理裝置及家用供暖系統
技術領域
本實用新型涉及供暖技術領域,尤其涉及家用供暖水處理裝置及家用供暖系統。
背景技術
目前很多家庭都采用自供暖系統,每個家庭的暖氣系統就是一個獨立的供暖水循環系統。在使用一段時間后,供暖水會由于氧化、銹蝕、結垢等原因變得充滿污物,而循環過程又會加劇污物的產生。當污物板結在供暖系統的管路中之后會導致管路直徑變窄,嚴重時會發生管路堵塞。而銹蝕又會使管路壁和暖氣散熱器壁變薄,甚至破裂跑水,供暖系統的使用壽命也會隨之降低。
為了克服這一問題,有人提出在供暖系統中加裝過濾裝置。安裝方法是將帶過濾層的過濾裝置與鍋爐等串聯設置在管路中。這種系統仍舊存在問題,因為整個供暖系統實際上只有一條供暖水循環回路,濾出的雜質實際上仍然存在于這條回路中,對回路造成堵塞,使供暖水循環阻力增加。而且,在將雜質從回路排出的過程中需要將回路斷開。這些都會對供暖水循環造成影響,降低家庭供暖效果。
因此,行業內存在著對家用供暖系統進行改進的需求。
實用新型內容
本實用新型旨在提供一種能夠在不影響供暖水循環的情況下將雜質從供暖水分離的家用供暖水處理裝置。
本實用新型還旨在提供一種采用上述改進的家用供暖水處理裝置的家用供暖系統。
根據本實用新型的一個技術方案,提供一種具有進口和出口的家用供暖水處理裝置,包括:旋流裝置,其包括從上至下漸縮的錐壁、圍繞該錐壁設置且與該錐壁之間的距離從上至下逐漸增大以限定出與所述進口連通的旋流空間的圍擋以及與該旋流空間連通的射流孔,所述旋流裝置被構造成使進入旋流空間的流體繞錐壁形成旋流;處理水容納部,其具有與該旋流空間相連通的處理水入口,所述出口設在所述處理水容納部上;以及沉淀部,其具有位于該旋流裝置和該處理水容納部下方并與該旋流空間和該處理水入口連通的內腔以及與該內腔連通的排污結構。
這樣,從進口經射流孔進入旋流空間的供暖水在繞錐壁旋轉過程中,在向心力的作用下,固體雜質不斷向錐壁靠攏并沿錐壁下落。落至沉淀部的內腔中的供暖水由于水溫較高且比重較輕,因此會與沉積在底部的比重較大的固體雜質分離。供暖水隨后進入處理水容納部并繼續循環,而由于沉淀部位于下方,其中含有的沉積下來的比重較大固體雜質則幾乎不會再參與到供暖水的循環中,避免了對回路造成堵塞和對供暖水循環造成影響。
根據一個優選實施例,射流孔形成在錐壁上,在沿水平方向截取的截面中,所述射流孔相對于錐壁徑向傾斜延伸。這樣,便于進入旋流空間的流體形成繞錐壁的旋流。
根據一個優選實施例,多個射流孔沿該錐壁的周向均勻間隔布置。
根據一個優選實施例,家用供暖水處理裝置還包括覆蓋該處理水容納部的整個處理水入口的過濾層。這樣,在使比重較大的固體雜質沉積至沉淀部之外,比重較輕的固體雜質會進一步被過濾層阻擋而不能參與進供暖水的循環中,提高處理效果。
優選地,該過濾層和該圍擋相間隔并限定出與該旋流空間和該內腔相連通的夾層空間。這樣,提供了一種便于安裝的過濾層結構。
根據一個優選實施例,該沉淀部的限定出內腔的外殼是透明的。這樣便于對內腔中雜質的積累高度進行觀察,以在適當時機排污。
根據本實用新型的另一個技術方案,提供一種家用供暖系統,包括:相連通的供水管路和回水管路;加熱裝置,其連接在所述供水管路和回水管路之間并與所述供水管路和回水管路共同限定出供暖回路;前述的家用供暖水處理裝置,其中該旋流裝置的射流孔通過所述進口與回水管路相連通,所述出口與供水管路相連通,所述家用供暖水處理裝置、供水管路和回水管路共同限定出處理回路;以及控制裝置,其控制所述供暖回路和處理回路交替運行。
這樣,在供暖回路之外并聯一個處理回路,需要除雜的時候,將供暖水引入處理回路中,在不妨礙供暖水正常循環的情況下使雜質留在處理回路中。當供暖水在供暖回路中循環的時候,可以打開排污結構對留存在處理回路中的雜質進行排污,不會對供暖回路造成影響。無論是在供暖回路還是在處理回路中,供暖水都能不間斷正常循環,避免對家庭供暖造成不利影響。
根據一個優選實施例,所述出口通過第一連接管路連通至該供水管路,在該加熱裝置和第一連接管路之間設有安裝在供水管路上的第一單向閥,在第一連接管路上安裝有第二單向閥,所述進口通過第二連接管路連通至該回水管路,該家用供暖系統還包括作用于該供暖回路的第一泵和作用于該處理回路的第二泵,該控制裝置包括連接至第一泵和第二泵并控制第一泵和第二泵交替運行的繼電器。這樣,提供了一種簡單的使供暖回路和處理回路相并聯且交替運行的方式。
根據一個優選實施例,所述出口通過第一連接管路連通至該供水管路,在該加熱裝置和第一連接管路之間設有安裝在該供水管路上的第一通斷閥,第一連接管路上安裝有第二通斷閥,所述進口通過第二連接管路連通至該回水管路,該家用供暖系統還包括安裝在第二連接管路和加熱裝置的上游的第一泵,該控制裝置包括連接至第一通斷閥和第二通斷閥并根據供暖水溫度使第一通斷閥和第二通斷閥交替啟閉的溫控裝置。這樣,提供了一種簡單的使供暖回路和處理回路相并聯且交替運行的方式。
優選地,至少所述加熱裝置和第一泵設置在鍋爐中。這樣提供了多種家用供暖系統的實施方式,如在鍋爐外并聯處理回路或將整個系統置于鍋爐中,無論哪種方式,對現有供暖裝置的改造都很簡單,經濟成本不會增加很多。
本實用新型的其它特征和優點的一部分將會是本領域技術人員在閱讀本申請后顯見的,另一部分將在下文的具體實施方式中結合附圖描述。



