申請日2016.05.13
公開(公告)日2016.11.16
IPC分類號C02F9/04
摘要
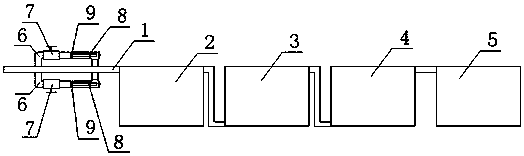
本實用新型公開了一種循環冷卻水處理裝置,包括依次連接的進水管、沉淀箱、自清洗過濾器、石英砂過濾器和循環水箱,進水管并聯有至少一個加藥裝置,所述的加藥裝置均包括一個與進水管并聯的支管,支管上設置有控制閥,支管的內部設置有用于盛裝固體藥劑的藥劑網盒和一個用于安裝所述藥劑網盒的支架。本實用新型的有益效果是:實現對冷卻水的循環處理,避免了因冷卻水污垢影響熱傳輸及裝置壽命的現象。實現了固體藥劑的自動添加,并且添加量與水流流速成正比。
權利要求書
1.一種循環冷卻水處理裝置,其特征在于:包括依次連接的進水管、沉淀箱、自清洗過濾器、石英砂過濾器和循環水箱,進水管并聯有至少一個加藥裝置,所述的加藥裝置均包括一個與進水管并聯的支管,支管上設置有控制閥,支管的內部設置有用于盛裝固體藥劑的藥劑網盒和一個用于安裝所述藥劑網盒的支架,所述的支管連接有一個三通,三通的第一個端口連接支管,三通的第二個端口連接進水管,三通的第三個端口安裝有封蓋,所述的第一個端口和第三個端口的軸心線重合。
2.根據權利要求1所述的一種循環冷卻水處理裝置,其特征在于:還包括控制裝置,所述的控制裝置為PLC可編程控制系統,所述的控制閥為電磁閥,所述的PLC可編程控制系統連接控制閥。
3.根據權利要求2所述的一種循環冷卻水處理裝置,其特征在于:還包括無線網絡組件,所述無線網絡組件與所述控制裝置連接。
說明書
一種循環冷卻水處理裝置
技術領域
本實用新型涉及一種循環冷卻水處理裝置。
背景技術
為了節約用水,降低成本,在現代工業冷卻系統以及民用中央空調等制冷設備中,冷卻用水一般都會循環再利用,但在冷卻水循環過程中,受到沉積物、水溫、濃縮等因素的影響,冷卻水的水質逐漸惡化,容易滋生細菌、藻類,并出現大量污垢,以致影響熱交換率,甚至于引起管道的堵塞,使設備無法正常工作。為了延緩、減少菌藻以及污垢的形成,人們通常會對循環水進行處理,現有的循環冷卻水的處理方法是在循環系統中投入殺菌滅藻劑、阻垢劑等化學藥劑,以殺滅細菌、抑制藻類及垢的形成,在污垢積累到一定程度影響系統運行時,通常人們采取用化學藥劑浸泡的方法去除污垢(也叫通炮)。但是上述處理方法存在下列缺點:必須定期定量添加化學藥劑,消耗的藥劑量大,且耗費人工,處理效率低。
實用新型內容
本實用新型的目的在于克服現有技術的缺點,提供一種循環冷卻水處理裝置。
本實用新型的目的通過以下技術方案來實現:一種循環冷卻水處理裝置,包括依次連接的進水管、沉淀箱、自清洗過濾器、石英砂過濾器和循環水箱,進水管并聯有至少一個加藥裝置,所述的加藥裝置均包括一個與進水管并聯的支管,支管上設置有控制閥,支管的內部設置有用于盛裝固體藥劑的藥劑網盒和一個用于安裝所述藥劑網盒的支架,所述的支管連接有一個三通,三通的第一個端口連接支管,三通的第二個端口連接進水管,三通的第三個端口安裝有封蓋,所述的第一個端口和第三個端口的軸心線重合,從而打開封蓋即可完成藥劑網盒的更換。
藥劑網盒為采用金屬網制成的盒子,通過水流流過藥劑網盒時的沖刷作用,從藥劑網盒內將藥劑攜帶走,實現了固體藥劑的自動添加,并且添加量與水流流速成正比。
進水管接收完成熱交換后的冷卻水,實現對冷卻水的處理凈化。
所述的循環冷卻水處理裝置還包括控制裝置,所述的控制裝置為PLC可編程控制系統,所述的控制閥為電磁閥,所述的PLC可編程控制系統連接控制閥。
所述的循環冷卻水處理裝置還包括無線網絡組件,所述無線網絡組件與所述控制裝置連接,從而實現無線監控和運轉。
本實用新型具有以下優點:
實現對冷卻水的循環處理,避免了因冷卻水污垢影響熱傳輸及裝置壽命的現象。實現了固體藥劑的自動添加,并且添加量與水流流速成正比。



