申請日2016.05.13
公開(公告)日2016.10.12
IPC分類號C02F1/461; C02F1/66
摘要
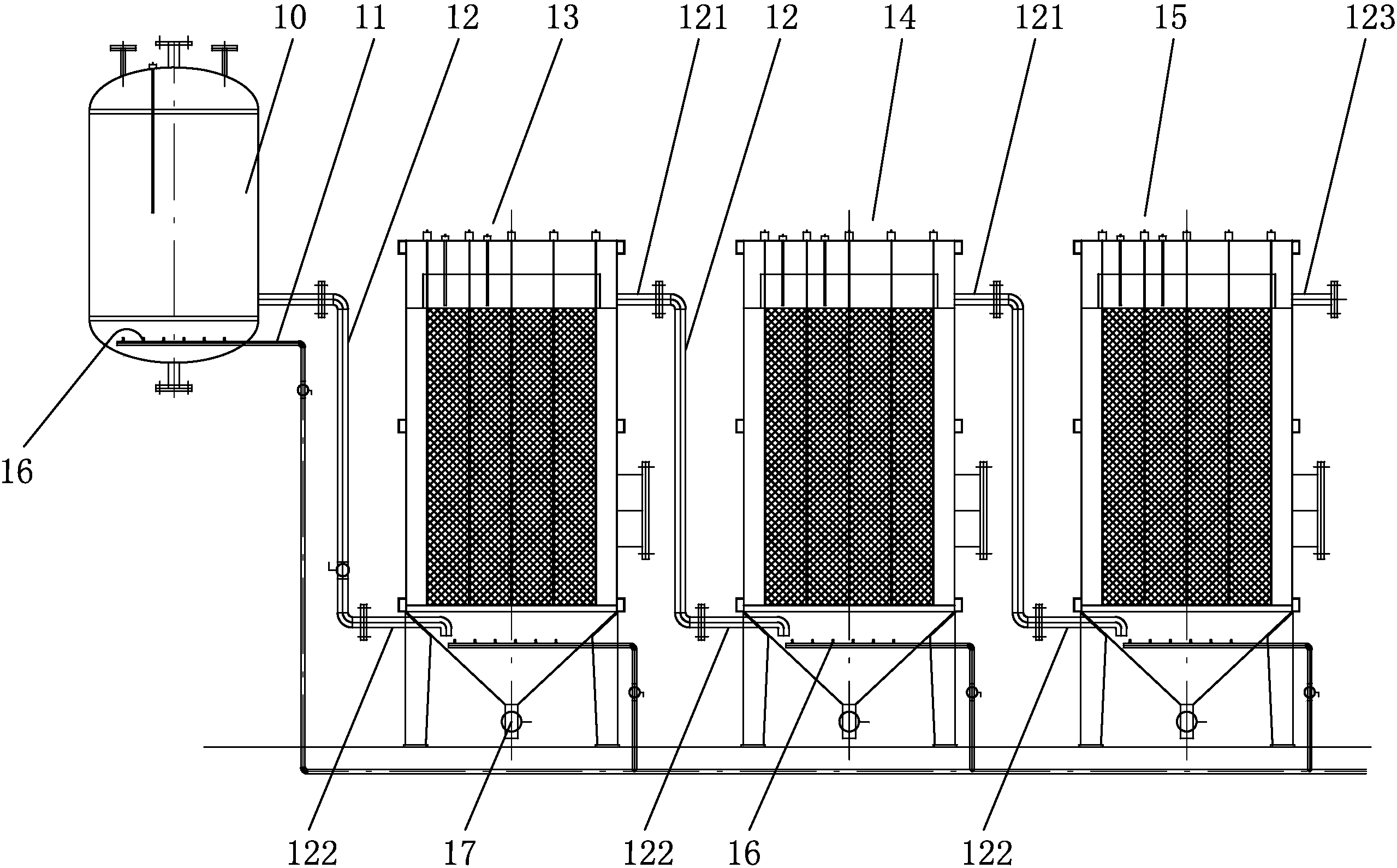
本實用新型屬于電解廢水處理技術領域,涉及脈沖電解廢水處理裝置,兩個以上的電解機形成多級電解系統,電解機包括上筒體和下筒體,上筒體的下端設置有格柵支架、上端設置有隔板,隔板上設置有溢流板,隔板與溢流板之間的上筒體內的正極板與負極板間隔設置,正負極板之間設置有電解載體填料,調節筒的內腔與一級電解機的下筒體內腔連通,下一級電解機的下筒體內腔與上一級電解機的上筒體的隔板上部的腔室連通,最后一級電解機的上筒體的隔板上部的腔室側壁上設置有出料接頭,高壓曝氣管分別連通至調節筒底部、電解機下筒體內并安裝有曝氣頭,電解機的底部設置有排污接頭,優點是:廢水處理的速度快、質量高,適用于脈沖電解法的廢水處理。
權利要求書
1.脈沖電解廢水處理裝置,包括電解機,其特征在于:兩個以上的電解機形成多級電解系統,所述的電解機包括矩形的上筒體和錐形的下筒體,上筒體的下端設置有格柵支架、上端設置有隔板,隔板上設置有溢流板,隔板與溢流板之間的上筒體內的兩塊以上的正極板與兩塊以上的負極板間隔設置,正極板與負極板之間設置有電解載體填料,連通有加料裝置的調節筒的內腔通過導管與一級電解機的下筒體內腔連通,下一級電解機的下筒體內腔通過導管與上一級電解機的上筒體的隔板上部的腔室連通,最后一級電解機的上筒體的隔板上部的腔室側壁上設置有出料接頭,高壓曝氣管分別連通至調節筒底部、電解機的下筒體內腔內并安裝有曝氣頭,電解機的下筒體底部設置有排污接頭。
2.根據權利要求1所述的脈沖電解廢水處理裝置,其特征在于:所述電解機的上蓋上安裝有PH計和溫度計,PH計和溫度計的測量部伸入上筒體的隔板上側的腔室內,所述的正極板、負極板、PH計、溫度計及加料裝置均與電器控制器電連接,并由電器控制器控制其工作。
3.根據權利要求1或2所述的脈沖電解廢水處理裝置,其特征在于:所述電解機的正、負極板之間設置有30~40mm的極板間距。
4.根據權利要求1或2所述的脈沖電解廢水處理裝置,其特征在于:所述電解機的格柵支架的上表面安裝有均布有沖孔的擾流板,所述的正極板、負極板及電解載體填料支撐在擾流板上。
5.根據權利要求1或2所述的脈沖電解廢水處理裝置,其特征在于:所述的曝氣頭在分別連通至調節筒底部、電解機的下筒體內腔內的高壓曝氣管上安裝有三個以上。
6.根據權利要求1或2所述的脈沖電解廢水處理裝置,其特征在于:所述的電解機的上筒體的側壁上設置有視窗。
7.根據權利要求1或2所述的脈沖電解廢水處理裝置,其特征在于:所述的電解機有三個。
8.根據權利要求1或2所述的脈沖電解廢水處理裝置,其特征在于:所述的高壓曝氣管連接有空氣壓縮機。
9.根據權利要求1或2所述的脈沖電解廢水處理裝置,其特征在于:所述的正極板和負極板均是用鈦網材料制造的。
說明書
脈沖電解廢水處理裝置
技術領域
本實用新型屬于電解廢水處理技術領域,特指一種脈沖電解廢水處理裝置。
背景技術
中國專利CN 102616893 B公開了一種《廢水處理系統》,包括反應槽體和電解裝置,所述反應槽體包括入水口和出水口,所述入水口和出水口分別設于所述反應槽體相對的兩個側壁的上端,所述電解裝置包括正極板、負極板和電源,所述正極板和負極板設于所述反應槽體內,所述電源電性連接于所述正極板和負極板,所述廢水處理系統還包括電解供氣系統、催化材料和分離網,所述電解供氣系統包括曝氣管和空氣泵,所述曝氣管設于所述反應槽體的底部,所述催化材料裝填于所述反應槽體內,所述催化材料為負載過渡金屬的碳基或二氧化硅基顆粒,所述分離網設于所述出水口處,其不足之處在于:一是對于不同酸堿度的廢水使用同樣的電解方法,其電解效果不同,導致廢水處理有些合格、有些不夠合格;二是一級電解,廢水處理不夠徹底,廢水處理質量低。
發明內容
本實用新型的目的是提供一種脈沖電解廢水處理裝置。
本實用新型的目的是這樣實現的:
脈沖電解廢水處理裝置,包括電解機,兩個以上的電解機形成多級電解系統,所述的電解機包括矩形的上筒體和錐形的下筒體,上筒體的下端設置有格柵支架、上端設置有隔板,隔板上設置有溢流板,隔板與溢流板之間的上筒體內的兩塊以上的正極板與兩塊以上的負極板間隔設置,正極板與負極板之間設置有電解載體填料,連通有加料裝置的調節筒的內腔通過導管與一級電解機的下筒體內腔連通,下一級電解機的下筒體內腔通過導管與上一級電解機的上筒體的隔板上部的腔室連通,最后一級電解機的上筒體的隔板上部的腔室側壁上設置有出料接頭,高壓曝氣管分別連通至調節筒底部、電解機的下筒體內腔內并安裝有曝氣頭,電解機的下筒體底部設置有排污接頭。
上述電解機的上蓋上安裝有PH計和溫度計,PH計和溫度計的測量部伸入上筒體的隔板上側的腔室內,所述的正極板、負極板、PH計、溫度計及加料裝置均與電器控制器電連接,并由電器控制器控制其工作。
上述電解機的正、負極板之間設置有30~40mm的極板間距。
上述電解機的格柵支架的上表面安裝有均布有沖孔的擾流板,所述的正極板、負極板及電解載體填料支撐在擾流板上。
上述的曝氣頭在分別連通至調節筒底部、電解機的下筒體內腔內的高壓曝氣管上安裝有三個以上。
上述的電解機的上筒體的側壁上設置有視窗。
上述的電解機有三個。
上述的高壓曝氣管連接有空氣壓縮機。
上述的正極板和負極板均是用鈦網材料制造的。
本實用新型相比現有技術突出且有益的技術效果是:
1、本實用新型的將廢水泵入調節桶后,在調節桶內調節pH至設定的范圍,使得后期的多級脈沖電解中的效果性近似,廢水處理效果好。
2、本實用新型在調節桶和電解機內均安裝曝氣頭,使得曝氣后調節桶內廢氣pH值的調節過程快速,調節的均勻性好;而曝氣后電解機內的氧化還原反應去除廢水中的污染物的速度快,廢水參與反應的幾率高,廢水處理的效果好。
3、本實用新型的采用多級電解機電解,對廢水內的污染物的處理徹底,廢水處理質量高。
4、本實用新型的適用于脈沖電解法的廢水處理。



