申請日2016.05.28
公開(公告)日2016.10.12
IPC分類號C02F9/14
摘要
一種農村戶用污水處理器,具有太陽能電池板、蓄電池、進水管、上箱體和下箱體,上箱體由縱向隔板分隔成左型腔、當作植物凈化池的右型腔,上箱體的左型腔由橫向隔板分隔為當作初沉池的后部型腔、當作過濾池的前部型腔,橫向隔板與上箱體的左型腔的底面之間具有滲水缺口,初沉池、過濾池內具有石英砂層,植物凈化池內設有水生植物;下箱體由縱向分隔板分隔成當作生物接觸氧化池的左側型腔、當作活性炭過濾池的右側型腔,生物接觸氧化池內從下到上具有石英砂層和生物膜填料,活性炭過濾池通過輸水管、第一水泵與植物凈化池相連接,植物凈化池通過輸水管道、第二水泵與外界相連通。它處理污水效果好,出水穩定,免維護,使用壽命長,運行成本低。
摘要附圖
權利要求書
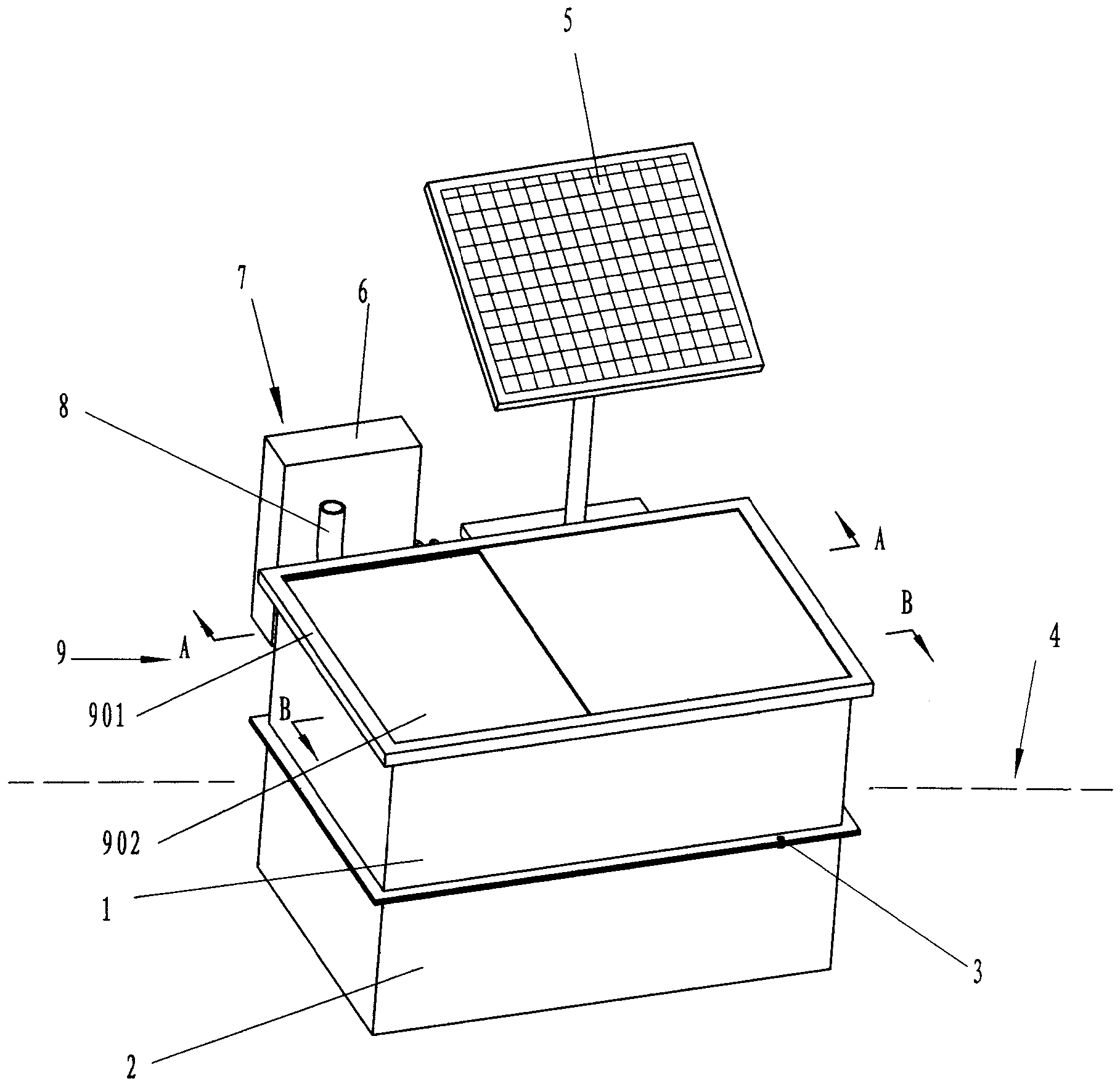
1.一種農村戶用污水處理器,具有太陽能電池板(5)、蓄電池(7)、用于承接污水的帶過濾網的進水管(8),其特征在于所述的農村戶用污水處理器還具有固定連接在一起的上箱體(1)和下箱體(2),上箱體(1)由設于上箱體的型腔內的縱向隔板(12)分隔成左型腔、當作植物凈化池(101)的右型腔,上箱體的所述左型腔由橫向隔板(24)分隔為當作初沉池(102)的后部型腔、當作過濾池(103)的前部型腔,橫向隔板(24)與上箱體(1)的所述左型腔的底面之間具有滲水缺口(24′),初沉池(102)內具有石英砂層(10),過濾池(103)內具有石英砂層(10″),上述植物凈化池(101)內設有凈化水質的水生植物(15);下箱體(2)由設于下箱體的型腔內的縱向分隔板(19)分隔成當作生物接觸氧化池(202)的左側型腔、當作活性炭過濾池(201)的右側型腔,所述生物接觸氧化池(202)內從下到上具有石英砂層(10′)和生物膜填料(20),所述過濾池(103)與所述生物接觸氧化池(202)通過排水管(23)而連通,所述活性炭過濾池(201)的底面設置有數個相串聯的活性炭過濾棒(21),這數個相串聯的活性炭過濾棒(21)的進水口通過帶過濾網的滲水管(22)與生物接觸氧化池(202)的底部相連通,所述活性炭過濾池(201)通過輸水管(13)、第一水泵(6′)與所述植物凈化池(101)相連接,所述植物凈化池(101)通過輸水管道(14)、第二水泵(6″)與外界相連通。
2.根據權利要求1所述的農村戶用污水處理器,其特征在于上述上箱體(1)和下箱體(2)皆為長方體形殼體,上箱體(1)和下箱體(2)在它們的結合處四周皆帶有橫向邊緣,多個螺栓(3)穿過所述的橫向邊緣而將上箱體(1)和下箱體(2)固定連接在一起。
3.根據權利要求1所述的農村戶用污水處理器,其特征在于上述初沉池(102)內石英砂層(10)的厚度大于過濾池(103)內石英砂層(10″)的厚度;上述排水管(23)的頂端的進水口高出過濾池(103)內石英砂層(10″)的頂端1~2厘米。
4.根據權利要求1所述的農村戶用污水處理器,其特征在于上述上箱體(1)和下箱體(2)皆為長方體形殼體,兩者的長度皆為100~110厘米,兩者的高度皆為35~45厘米,兩者的寬度皆為65~75厘米,初沉池(102)內石英砂層(10)的厚度為15~20厘米,過濾池(103)內石英砂層(10″)的厚度為13~20厘米,初沉池(102)內石英砂層(10)的厚度比過濾池(103)內石英砂層(10″)的厚度高出2厘米,上述滲水缺口(24′)的高度為5~6厘米,所述生物接觸氧化池(202)內石英砂層(10′)的厚度為10~13厘米。
5.根據權利要求1所述的農村戶用污水處理器,其特征在于上述水生植物(15)為水葫蘆。
6.根據權利要求1所述的農村戶用污水處理器,其特征在于上述生物膜填料(20)為懸浮球填料。
7.根據權利要求1所述的農村戶用污水處理器,其特征在于上述植物凈化池(101)的側壁上部具有溢流孔(16)。
8.根據權利要求1所述的農村戶用污水處理器,其特征在于上箱體的所述左型腔的頂端設有蓋板(11);上述上箱體(1)的頂端設有端蓋(9),該端蓋(9)具有框體(901)、安裝于框體上的推拉式玻璃板(902)。
9.根據權利要求1所述的農村戶用污水處理器,其特征在于上述植物凈化池(101)的側壁上安裝有消毒棒(17)。
10.根據權利要求1所述的農村戶用污水處理器,其特征在于上述植物凈化池(101)的側壁上安裝有電加熱棒(18)。
說明書
農村戶用污水處理器
技術領域
本實用新型涉及一種污水處理設備,特別是一種農村戶用污水處理器。
背景技術
隨著我國經濟的發展,農村污水的污染情況也日趨嚴重,已經成為了農村污染的重要來源。①從環境、資源背景方面看,我國大部分農村地區的生活污水處于未經任何處理就隨意排放的狀態,對農村的整體生態環境造成了巨大的破壞,同時給廣大農民的飲用水安全也構成了極大的威脅。再者,農村地區的河流總體水質變差,以氮、磷為主的營養物質超標嚴重,部分河流、湖泊已經呈現嚴重富營養化狀態。經調查,現在農村中對生活污水的排放方式有兩種:一是隨意潑灑,二是在院中打“旱井“,將污水全部滲入地下。第一種污水排放方式,會使周圍的環境變得惡臭、蚊蠅滋生;第二種污水排放方式,將直接污染地下水資源,即污染大多數農村的飲用水。現在,全國有大量的人群因為環境及水污染感染腸道性疾病,甚至喪生。在我國廣大的農村地區這種問題尤為突出。其次,我國是一個缺水嚴重的國家,雖然水資源總量為28000億立方米,位居世界前列,但是由于我國人口基數大,所以人均擁有水量僅2200立方米,大約是世界人均擁有水量的1/4,是全球13個人均水資源最匱乏的國家之一。水環境污染的問題十分嚴重,使我國缺水的現狀更加嚴重。水環境的污染也直接制約了農村的經濟發展。農村污水造成的環境污染不僅威脅著農村水源地,還會加劇淡水資源的危機,使耕地灌溉用水得不到有效的保障,威脅著農民的生存發展。②從社會背景(國家政策)方面看,我國“十一五”規劃中提出了建設社會主義新農村的重大歷史任務,并明確了“生產發展、生活富裕、鄉村文明、村容整潔、管理民生”的建設目標。農村生活污水的處理問題是社會主義新農村建設的重要內容,同時也是農村人居環境改善需要解決的迫切問題。因此,致力于農村污水污染的治理刻不容緩。
相對于早已形成的城市污水處理而言,農村污水的處理是目前環境治理的一道難題。城市污水可由城市排水管網匯集并輸送至污水處理廠處理,但農村污水的處理不能借鑒城市污水處理方法,我國農村居住分散,農村的排水管道無法聯通,即使能夠隨著主要道路延伸,投資費用也很高。
發明人檢索到以下相關專利文獻:CN105036420A公開了一種利用太陽能進行污水處理系統,包括太陽能發電系統和污水處理系統,所述的太陽能發電系統包括太陽能電池板、充電控制器、蓄電池和逆變器,所述的太陽能電池板通過充電控制器對蓄電池進行充電,所述的逆變器連接在蓄電池與充電控制器之間的電路上輸出交流;所述的污水處理系統包括原水池、消毒凈化池、膜組件裝置、凈水池和控制器,所述原水池內的污水經管道引入消毒凈化池,所述的消毒凈化池內經消毒凈化處理過的水通過管道引入膜組件裝置內,所述膜組件裝置內經過濾后的凈化水經管道引入凈水池,所述逆變器與污水處理系統上控制污水處理的控制器連接提供電源。CN104016504A公開了一種簡便太陽能污水處理池,包括分離池、集油池、沉淀池、活性炭層、隔板、抽水機、太陽能電池板、蓄電池、市電電源、開關;所述集油池設于分離池左側并與分離池連通,所述沉淀池設于分離池右側并與分離池連通,所述活性炭層設于沉淀池底部,所述隔板設于沉淀池內,所述抽水機設于分離池與沉淀池連接處,所述太陽能電池板設于沉淀池上方,所述蓄電池設于沉淀池上方并分別與太陽能電池板和開關連接,所述市電電源與開關連接。CN205076832U公開了一種太陽能污水處理裝置,包括沉淀池、過濾池、太陽能電池板、控制箱、加熱室、降溫室和蓄水池,所述過濾池與沉淀池通過連通管固定連接,所述沉淀池與加熱室通過連通管固定連接,且沉淀池與加熱室之間的連通管上安裝有水泵,所述加熱室內安裝有加熱器,且加熱室的內壁上安裝有水位傳感器,所述降溫室內安裝有冷凝管和空氣壓縮機,且冷凝管的頂部與加熱室的頂部通過連通管固定連接,所述水位傳感器和蓄電池電性輸入連接微控制器,微控制器電性輸入連接加熱器、水泵和空氣壓縮機。CN201424418Y公開了一種無耗能污水處理裝置,包括池體和蓋板,池體上設有蓋板,池體兩端分別設有進水口和出水口;所述的蓋板上設有太陽能電池板;所述的池體內由隔板依次分隔為厭氧除碳區、好氧硝化區和污泥沉淀區;池體外設有生態濕地。CN104773917A公開了一種中小型污水處理一體化裝置,包括依次連接的生化處理單元、沉淀及污泥回流單元、光催化氧化單元、深度處理單元、消毒單元;沉淀及污泥回流單元分別與光催化氧化單元的進水口以及生化處理單元的進水口、出水口連接;所述生化處理單元包括依次連接的進水區、缺氧處理區、厭氧處理區和好氧處理區;所述深度處理單元包括自上而下依次連接的配水槽、顆粒活性炭濾料層、石英砂濾層、鵝卵石承托層。CN102674637A公開了一種家用污水處理設備,它由入水閥、隔網、隔板、排污閥、排氣閥、過濾層、空氣泵、中空纖維超濾膜組件、膜生物反應器、導氣管、-導水管、水泵、水位計、儲水箱外殼、紫外消毒燈、出水閥、海綿層、改性煤渣層、石英砂層、活性炭層組成。CN204824462U公開了一種生活污水處理裝置,包括格柵倉、調節倉、水泵、水解倉、沉淀倉、消毒倉、儲水倉、石英砂過濾倉、活性炭過濾倉和清水倉。CN204958576U公開了一種家庭生活污水處理設備,包括排氣口、出水口、支架、裝濾料口和罐體,所述罐體的上方連接有進水口,所述進水口的一端設有排氣口,所述罐體的側壁兩端分別設有裝濾料口和備用口,所述罐體的內部設有無煙煤濾料層,所述無煙煤濾料層的下端設有石英砂濾料層,所述石英砂濾料層的下端設有第一活性炭層,所述第一活性炭層的下端設有卵石墊層,所述負氧離子層設在卵石墊層的下端,所述第二活性炭層的設在負氧離子層的下端,所述罐體的底部設有出水口,所述罐體焊接在支架的上端。
以上這些技術對于如何使農村戶用污水處理器處理污水效果好,且出水穩定,安裝便捷,免維護,并未給出具體的指導方案。
發明內容
本實用新型所要解決的技術問題在于,提供一種農村戶用污水處理器,該污水處理器處理污水效果好,經過處理的生活污水符合國家規定的中水回用標準,同時該污水處理器出水穩定,安裝便捷,免維護,使用壽命長,運行成本低。
為解決上述技術問題,本實用新型采用的技術方案如下:
一種農村戶用污水處理器(或者說是農村戶用太陽能污水處理器),具有太陽能電池板、蓄電池、用于承接污水的帶過濾網的進水管,其技術方案在于所述的農村戶用污水處理器還具有固定連接在一起的上箱體和下箱體,上箱體由設于上箱體的型腔內的縱向隔板分隔成左型腔、當作植物凈化池的右型腔,上箱體的所述左型腔由橫向隔板分隔為當作初沉池的后部型腔、當作過濾池的前部型腔,橫向隔板與上箱體的所述左型腔的底面之間具有滲水缺口,初沉池內具有石英砂層,過濾池內具有石英砂層,上述植物凈化池內設有凈化水質的水生植物;下箱體由設于下箱體的型腔內的縱向分隔板分隔成當作生物接觸氧化池的左側型腔、當作活性炭過濾池的右側型腔,所述生物接觸氧化池內從下到上具有石英砂層和生物膜填料(或者說是生物膜填料層),所述過濾池與所述生物接觸氧化池通過排水管而連通,所述活性炭過濾池的底面設置有數個相串聯的活性炭過濾棒,這數個相串聯的活性炭過濾棒的進水口通過帶過濾網的滲水管與生物接觸氧化池的底部相連通,所述活性炭過濾池通過輸水管、第一水泵與所述植物凈化池相連接,所述植物凈化池通過輸水管道、第二水泵與外界相連通。太陽能電池板分別通過電路與第一水泵和第二水泵以及蓄電池電氣連接。在無太陽的天氣情況下,第一水泵和第二水泵可利用蓄電池中的電能運行,利用太陽能為第一水泵和第二水泵提供電量,節約了電能。
上述技術方案中,所述的上箱體和下箱體最好皆為長方體形殼體,上箱體和下箱體在它們的結合處四周最好皆帶有橫向邊緣,多個螺栓穿過所述的橫向邊緣而將上箱體和下箱體固定連接在一起。上述初沉池內石英砂層的厚度最好大于過濾池內石英砂層的厚度。上述排水管的頂端的進水口最好高出過濾池內石英砂層的頂端1~2厘米。上述上箱體和下箱體兩者的長度最好皆為100~110厘米,兩者的高度最好皆為35~45厘米,兩者的寬度最好皆為65~75厘米,初沉池內石英砂層的厚度最好為15~20厘米,過濾池內石英砂層的厚度最好為13~20厘米,初沉池內石英砂層的厚度最好比過濾池內石英砂層的厚度高出2厘米,上述滲水缺口的高度最好為5~6厘米,所述生物接觸氧化池內石英砂層的厚度最好為10~13厘米。上述水生植物最好為水葫蘆(即鳳眼藍、鳳眼蓮),水生植物還可以為水草或者其它水生植物。上述生物膜填料最好為懸浮球填料(可以選用聚丙烯球形懸浮填料),當然,生物膜填料還可以為其它型式的填料。上述植物凈化池的側壁上部最好具有溢流孔。上箱體的所述左型腔的頂端最好設有蓋板。上箱體的頂端最好設有端蓋,該端蓋可以具有框體、安裝于框體上的推拉式玻璃板。上述植物凈化池的側壁上最好安裝有消毒棒。上述植物凈化池的側壁上最好安裝有電加熱棒。
本實用新型由于采用了上述結構,這樣污水由進水管經過過濾網濾去懸浮物后進入初沉池,經石英砂沉淀泥沙后由滲水缺口進入過濾池,在過濾池內再過濾泥沙后,通過排水管進入下面的生物接觸氧化池內,以生物膜填料(懸浮球填料)為生物膜載體吸附并分解可溶性有機物,生物接觸氧化池的底部的石英砂對老化的生物膜進行沉淀、過濾,污水再通過滲水管進入活性炭過濾棒內,利用活性炭吸附水中的有色、有味、有毒等其它高分子化合物,隨后進入活性炭過濾池,用第一水泵將活性炭過濾池內的水抽進植物凈化池內,由植物凈化池內的水生植物(水葫蘆)吸附污水中剩余的磷、氮,最后通過在消毒棒內加氯消毒后,用第二水泵抽出使用。
本實用新型的農村戶用污水處理器通過三級過濾高效去除水中的污染物,處理污水效果好,經過處理的生活污水經河北省檢驗檢測中心的檢測,符合國家規定的中水回用標準,可直接用于噴灑路面、澆花、澆菜、沖廁所等。本實用新型采用組件結構,能夠滿足廣大農村地區的生活污水處理要求,適用于我國農村沒有污水管道的分散式家庭的污水處理要求,屬于分散式污水處理設備,它出水穩定,安裝便捷,免維護,使用壽命長,運作成本低,滿足了普通家庭的生活污水處理要求,日處理污水規模達到0.25噸。再者,本實用新型的上、下箱體可以采用環保材質玻璃鋼為原料注模一次成型,輕質高強,耐腐蝕,使用壽命長,安裝快捷,不易破損。它利用太陽電池板發電用直流電機進行水循環(和鼓風),達到了使用安全、低消耗(零消耗)、低碳環保的效果。
本實用新型在具備了施工方便、施工周期短、操作簡單、初期投資及運行費用低等特點外,還具備以下特點:(1)節能化,在分散式污水處理系統中,在注重水質達標狀況的同時,還要特別注重節能工作。本實用新型在確保污水處理工藝技術的可靠性和有效性的基礎上,采用陽能電池板、蓄電池,使用太陽能供電及儲電裝置,從而實現處理污水達到低耗能、高水質的目的。(2)生態化,要解決這一問題,就需要研究如何將分散式污水處理系統與生態恢復技術進行完美結合,本實用新型通過水生生態系統中各種生物群落共同發揮的綜合作用而去除掉污水中各污染物。(3)景觀化,本實用新型通過生態恢復技術與節能技術的結合應用,可以使分散式污水處理系統出水水質達到規范要求的相關標準。通過水系植物來增加農村一定量的綠化面積,同時也可以增強分散式污水處理系統的景觀化效果,從而實現生態環境友好的目的。


