申請日2016.05.13
公開(公告)日2016.09.21
IPC分類號C02F9/14
摘要
本發明公開了環保型污水處理設備,屬于環保及污水處理設備技術領域,包括:殼體,殼體兩側設置有進水口和出水口,污水從進水口進入殼體后依次經過折流調節區、初沉區、多層過濾系統、兼性厭氧沉淀區、緩沖區、好氧區、二沉區、出水池,最后從出水口流出,初沉區設有第一出污泥管;二沉區設置有第二出污泥管,第一出污泥管和第二出污泥管通過回流管道均連接有反應罐,反應罐內設有高鐵酸鹽儲存罐;好氧區內懸掛有好氧區填料,好氧區底部設置有微動力曝氣系統。本發明能有效處理污水中的有毒有害及重金屬,實現了對污水中污泥的有效利用,提高了污水的回收再利用效率,節約了水資源,降低了經濟投資成本,適宜推廣使用,滿足了實際使用要求。
權利要求書
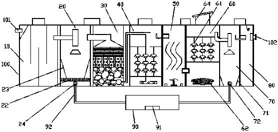
1.環保型污水處理設備,包括:殼體(100),其特征在于:所述殼體(100)兩側設置有進水口(101)和出水口(102),污水從進水口(101)進入殼體(100)后依次經過折流調節區(10)、初沉區(20)、多層過濾系統(30)、兼性厭氧沉淀區(40)、緩沖區(50)、好氧區(60)、二沉區(70)、出水池(80),最后從出水口(102)流出,所述初沉區(20)底部設置有過濾網(22),所述過濾網(22)上方設置有第一倒錐形污泥收集裝置(23),所述過濾網(33)下方設置有第一出污泥管(24);所述二沉區(70)底部設置有第二倒錐形污泥收集裝置(71),所述第二倒錐形污泥收集裝置(71)底部設置有第二出污泥管(72),且所述第一出污泥管(24)和所述第二出污泥管(72)通過回流管道(92)連接有反應罐(90),所述反應罐(90)內設置有高鐵酸鹽儲存罐(91);所述好氧區(60)內懸掛有好氧區填料(61),所述好氧區(60)底部設置有微動力曝氣系統(62)。
2.根據權利要求1所述環保型污水處理設備,其特征在于:所述折流調節區(10)內設置有引流板(11)和隔板(12),所述引流板(11)傾斜設置在進水口(101)下方,所述隔板(12)之間間隔錯開設置,所述折流調節區(10)靠近初沉區(20)一側上端設置有第一導流管(13),所述第一導流管(13)下方設置有三角形擋板(21)。
3.根據權利要求1所述環保型污水處理設備,其特征在于:所述初沉區(20)靠近多層過濾系統(30)一側上端設置有第二導流管(25),所述多層過濾系統(30)按照自上而下的順序依次包括固體顆粒過濾層(31)、有機物過濾層(32)、卵石層(33),位于所述多層過濾系統(30)底部設置有水泵(34),所述水泵(34)上設有一端與水泵(34)相連通的輸水管道(35),所述輸水管道(35)另一端與兼性厭氧沉淀區(40)上端側壁相連通且輸水管道(35)伸入至兼性厭氧沉淀區(40)底部。
4.根據權利要求1所述環保型污水處理設備,其特征在于:所述兼性厭氧沉淀區(40)內懸掛有兼性厭氧沉淀區填料(41),所述兼性厭氧沉淀區(40)靠近緩沖區(50)一側上端設置有第一溢流堰(42),第一溢流堰(42)下方設置有與其連通的第三導流管(43)。
5.根據權利要求1所述環保型污水處理設備,其特征在于:所述緩沖區(50)內并排設置有若干S型緩流板(51),所述緩沖區(50)內靠近好氧區(60)一側下端設置有第四導流管(52),所述緩沖區(50)內靠近第四導流管(52)的位置設置有攪拌機(53),所述緩沖區(50)底部還設置有pH傳感器(54)、酸儲存罐(55)以及堿儲存罐(56)。
6.根據權利要求1所述環保型污水處理設備,其特征在于:所述好氧區(60)頂部設置有太陽能電池板(64),所述好氧區(60)靠近二沉區(70)一側的上端設置有第五導流管(63),所述第五導流管(63)下方設置有三角形擋板(21);所述二沉區(70)靠近出水池(80)一側上端設置有第二溢流堰(73),第二溢流堰(73)下方設置有與其連通的第六導流管(74),所述出水池(80)內靠近第六導流管(74)排液端上方設置有紫外殺菌裝置(81),所述出水池(80)內靠近出水口(102)上設置有流量計(82)。
7.根據權利要求1所述環保型污水處理設備,其特征在于:所述殼體(100)上方設置有檢修口,所述檢修口包括設置在折流調節區(10)上方的第一檢修口(1)、設置在初沉區(20)與多層過濾系統(30)交界處的第二檢修口(2),設置在兼性厭氧沉淀區(40)上的第三檢修口(3)、設置在緩沖區(50)與好氧區(60)交界處上方的第四檢修口(4)、設置在二沉區(70)與出水池(80)上方的第五檢修口(5)。
說明書
環保型污水處理設備
技術領域
本發明具體涉及一種環保型污水處理設備,屬于環保及污水處理設備技術領域。
背景技術
隨著人們生活水平的顯著提高,污水處理的要求也隨之增長,1990年后,我國污水處理迅速發展,污水處理量增長率為全球的2.3倍,由于國家和各級政府對環境保護重視程度不斷提高,中國污水處理行業得以快速增長,鄉鎮污水處理效率也不斷提高。
中國水資源缺乏和水污染嚴重地制約著我國總體經濟的健康持續發展,特別是在農村地區,由于基礎設施滯后和管理水平低下,嚴重的抑制了各個地區居民生活質量的改善和提高,因此地區的水環境治理成為我國環境綜合治理的重要組成部分。目前針對污水處理技術主要有生物接觸氧化法、活性污泥法、生物濾池等,但是由于污水混雜物嚴重泛濫以及現有污水處理流程的簡單和技術的落后,造成在實際運行處理過程中對污水的處理效果嚴重不足,處理后的污水依然存在嚴重的有毒有害及凝聚物;特別是一些生產化工企業等,產生的污水嚴重污染環境,且污水處理過程中會產生大量的污泥,而污泥中含有的有毒、有害物質極大污染環境及破壞生態平衡。對于污泥的一般通將污泥作為肥料進行利用,因為污泥中含有大量的有機物以及氮、磷、鉀等生物體生長所必須的微量元素,污泥具有可以為生物體充分利用,但是,污泥中含有的大量有毒、有害物質、如笨、殺蟲劑以及一些重金屬,從而造成土地和地下水資源的嚴重污染,而且植物富集的有毒、有害物質隨著食物鏈進入人體,對人體造成傷害;此外,現有技術中對污水的處理設備投資較大,運行成本太高,不適宜推廣使用。為此,需要設計一種新型的污水處理設備,能夠綜合性地克服上述現有技術中的污水處理設備中存在的不足。
發明內容
本發明正是針對現有技術存在的不足,提供一種環保型污水處理設備,在滿足使用方便的前提下,實現對污水的一體化處理,能夠有效處理掉污水中含有的有毒、有害及重金屬,且能夠實現對污水中污泥的有效利用,進而提高了污水的回收再利用效率,節約了水資源,降低了設備的經濟投資成本,適宜推廣使用,具有較好的安全性能,滿足了實際使用要求。
為解決上述問題,本發明所采取的技術方案如下:
環保型污水處理設備,包括:殼體,所述殼體兩側設置有進水口和出水口,污水從進水口進入殼體后依次經過折流調節區、初沉區、多層過濾系統、兼性厭氧沉淀區、緩沖區、好氧區、二沉區、出水池,最后從出水口流出,所述初沉區底部設置有過濾網,所述過濾網上方設置有第一倒錐形污泥收集裝置,所述過濾網下方設置有第一出污泥管;所述二沉區底部設置有第二倒錐形污泥收集裝置,所述第二倒錐形污泥收集裝置底部設置有第二出污泥管,且所述第一出污泥管和所述第二出污泥管通過回流管道均與反應罐相連通,所述反應罐內設置有高鐵酸鹽儲存罐;所述好氧區內懸掛有好氧區填料,所述好氧區底部設置有微動力曝氣系統。
作為上述技術方案的改進,所述折流調節區內設置有引流板和隔板,所述引流板傾斜設置在進水口下方,所述隔板之間間隔錯開設置,所述折流調節區靠近初沉區一側上端設置有第一導流管,所述第一導流管下方設置有三角形擋板。
作為上述技術方案的改進,所述初沉區靠近多層過濾系統一側上端設置有第二導流管,所述多層過濾系統按照自上而下的順序依次包括固體顆粒過濾層、有機物過濾層、卵石層,位于所述多層過濾系統底部設置有水泵,所述水泵上設有一端與水泵相連通的輸水管道,所述輸水管道另一端與兼性厭氧沉淀區上端側壁相連通且輸水管道伸入至兼性厭氧沉淀區底部。
作為上述技術方案的改進,所述兼性厭氧沉淀區內懸掛有兼性厭氧沉淀區填料,所述兼性厭氧沉淀區靠近緩沖區一側上端設置有第一溢流堰,第一溢流堰下方設置有與其連通的第三導流管。
作為上述技術方案的改進,所述緩沖區內并排設置有若干S型緩流板,所述緩沖區內靠近好氧區一側下端設置有第四導流管,所述緩沖區內靠近第四導流管的位置設置有攪拌機,所述緩沖區底部還設置有pH傳感器、酸儲存罐以及堿儲存罐。
作為上述技術方案的改進,所述好氧區頂部設置有太陽能電池板,所述好氧區靠近二沉區一側的上端設置有第五導流管;所述二沉區靠近出水池一側上端設置有第二溢流堰,第二溢流堰下方設置有與其連通的第六導流管,所述出水池內靠近第六導流管排液端上方設置有紫外殺菌裝置,所述出水池內靠近出水口上設置有流量計。
作為上述技術方案的改進,所述殼體上方設置有檢修口,所述檢修口包括設置在折流調節區上方的第一檢修口、設置在初沉區與多層過濾系統交界處的第二檢修口,設置在兼性厭氧沉淀區上的第三檢修口、設置在緩沖區與好氧區交界處上方的第四檢修口、設置在二沉區與出水池上方的第五檢修口。
本發明所述微動力曝氣系統、所述紫外殺菌裝置均由所述太陽能電池板提供輸出的動力。
本發明與現有技術相比較,本發明的實施效果如下:
本發明所述的環保型污水處理設備,通過一體化的污水處理裝置設計,能夠與任何污水排放端口直接連接,有效實現了對污水的流程處理,處理效果好,通過初沉區和二沉區的配合,有效實現了對污水中污泥的回收,再配合反應罐內高鐵磷酸鹽的處理,使得污泥中參雜的有機物被氧化為二氧化態、水等無害物質;最后通過多級處理區和多層凈化系統能夠徹底的將污水中的有毒有害物質、微生物以及凝聚物處理掉,其中,兼性厭氧沉淀區和好氧區的配合設置,實現了對污水中的氮磷有機物進行深度處理(脫氮過程包括將氨氮氧化為硝酸鹽氮或亞硝酸鹽氮的硝化反應和將硝酸鹽氮或亞硝酸鹽氮還原為氮氣的反硝化反應。硝化反應是一個好氧過程,由自養茵完成;而反硝化反應是一個缺氧過程,由異養菌完成。傳統的生物脫氮工藝中,硝化和反硝化是在兩個或多個獨立的具有不同溶解氧濃度的反應器中進行,或是在時間上造成交替缺氧和好氧環境的同一個反應器中進行。這樣的工藝往往存在著需進行硝化液回流或外加有機碳源和補充堿度,運行費用高,占地面積大,投資高等缺點,針對這些問題,微動力曝氣系統能夠實現循環一體化同時硝化反硝化生物膜反應器用于污水的脫 氮和脫碳脫磷處理,硝化反應和反硝化反應分別在反應器不同分區內完成,利用給氧曝氣動力實現硝化液在反應器內的循環)進而提高了污水的回收再利用效率,節約了水資源,且降低了經濟投資成本,同時在設備上預留檢修口,方便設備保養檢修,解決了維修不便的問題,適宜推廣使用,具有較好的安全性能,滿足了實際使用要求。



