申請日2016.05.13
公開(公告)日2016.09.21
IPC分類號C02F9/06; C02F103/36
摘要
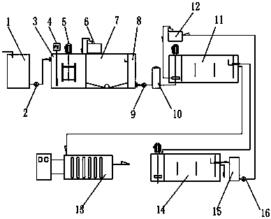
本實用新型公開了一種金剛烷胺廢水萃取和電滲析處理的系統,包括按照水流方向依次連通的中和反應池(3)、沉淀池(7)、萃取裝置(11)和雙極膜電滲析裝置(13),連通沉淀池(7)與萃取裝置(11)的之間設有輸送泵(9),萃取裝置(11)外接有萃取劑投加裝置(12),所述的中和反應池(3)連通有廢水收集池(1),中和反應池(3)與廢水收集池(1)之間的管道上連通有提升泵(2)。本實用新型的有益效果是:本實用新型能夠將胺化廢水和溴化廢水進行中和以去除部分溶解性固體和有機物,然后在萃取裝置內分離回收廢水中的金剛烷胺等有價物,最后在雙極膜電滲析裝置內回收酸和堿,其具有成本低、處理效率高、物質回收利用率高等優點。
權利要求書
1.一種金剛烷胺廢水萃取和電滲析處理的系統,其特征在于:包括按照水流方向依次通過管道連通的中和反應池(3)、沉淀池(7)、萃取裝置(11)和雙極膜電滲析裝置(13),連通沉淀池(7)與萃取裝置(11)的管道上設有輸送泵(9),萃取裝置(11)外接有萃取劑投加裝置(12)。
2.根據權利要求1所述的一種金剛烷胺廢水萃取和電滲析處理的系統,其特征在于:所述的中和反應池(3)通過管道連通有廢水收集池(1),中和反應池(3)與廢水收集池(1)之間的管道上連通有提升泵(2)。
3.根據權利要求1或2所述的一種金剛烷胺廢水萃取和電滲析處理的系統,其特征在于:所述的中和反應池(3)內設有pH檢測儀(4)。
4.根據權利要求1或2所述的一種金剛烷胺廢水萃取和電滲析處理的系統,其特征在于:所述的中和反應池(3)內設有攪拌機(5)。
5.根據權利要求1或2所述的一種金剛烷胺廢水萃取和電滲析處理的系統,其特征在于:所述的中和反應池(3)外接加藥裝置(6)。
6.根據權利要求1所述的一種金剛烷胺廢水萃取和電滲析處理的系統,其特征在于:所述的沉淀池(7)連通有中間池(8),中間池(8)與輸送泵(9)連通。
7.根據權利要求1所述的一種金剛烷胺廢水萃取和電滲析處理的系統,其特征在于:所述的萃取裝置(11)連通有反萃取裝置(14)。
8.根據權利要求7所述的一種金剛烷胺廢水萃取和電滲析處理的系統,其特征在于:所述的反萃取裝置(14)連通有萃取劑中間槽(15),萃取劑中間槽(15)與萃取劑投加裝置(12)連通。
9.根據權利要求8所述的一種金剛烷胺廢水萃取和電滲析處理的系統,其特征在于:所述的萃取劑中間槽(15)與萃取劑投加裝置(12)之間連通有萃取劑循環泵(16)。
10.根據權利要求1所述的一種金剛烷胺廢水萃取和電滲析處理的系統,其特征在于:所述的輸送泵(9)與萃取裝置(11)連通有過濾器(10)。
說明書
一種金剛烷胺廢水萃取和電滲析處理的系統
技術領域
本實用新型涉及污水處理領域,具體的說,是一種金剛烷胺廢水萃取和電滲析處理的系統。
背景技術
在抗病毒藥物制藥生產中,金剛烷胺在臨床上廣泛用于流感病毒A型感染性疾病的預防和治療。此外,金剛烷胺還是治療帕金森病、帕金森綜合癥等神經性疾病的藥物。目前,國內企業多采用化學合成法生產金剛烷胺,該工藝生產過程中產生的胺化廢水和溴化廢水是兩種典型的難降解廢水。其中,胺化廢水水量較大且呈強堿性,COD高達15 g/L以上,溶解性固體含量更是高達200~250 g/L。相比而言,溴化廢水水量較小,污染物濃度較低,但廢水呈極端的酸性,溶解性固體含量也高達200 g/L以上。
由于金剛烷胺制藥廢水具有成分復雜、污染物濃度高、含鹽量大等特點,且廢水中的金剛烷胺及其衍生物具有很強的抗菌活性,可生物降解極差,長期以來一直缺乏經濟、有效的處理方法,給企業的正常生產和廢水處理帶來嚴重的困擾。有研究表明,結晶法雖然可以降低廢水中金剛烷胺濃度并實現對產物的回收,但會產生大量的堿液,容易導致二次污染。Fenton法(亞鐵鹽和過氧化氫的組合)和鐵碳微電解法雖然具有較好的處理效果,但在實際應用中存在處理成本高、資源浪費大等方面的問題,并且無法實現廢水中有價物的回收利用。
實用新型內容
本實用新型的目的在于提供一種處理成本低、物質回收利用率高、能夠避免造成二次污染的金剛烷胺廢水萃取和電滲析處理的系統。
本實用新型通過下述技術方案實現:一種金剛烷胺廢水萃取和電滲析處理的系統,包括按照水流方向依次通過管道連通的中和反應池、沉淀池、萃取裝置和雙極膜電滲析裝置,連通沉淀池與萃取裝置的管道上設有輸送泵,萃取裝置外接有萃取劑投加裝置。
所述的中和反應池通過管道連通有廢水收集池,中和反應池與廢水收集池之間的管道上連通有提升泵。
所述的中和反應池內設有pH檢測儀。
所述的中和反應池內設有攪拌機。
所述的中和反應池外接加藥裝置。
所述的沉淀池連通有中間池,中間池與輸送泵連通。
所述的萃取裝置連通有反萃取裝置。
所述的反萃取裝置連通有萃取劑中間槽,萃取劑中間槽與萃取劑投加裝置連通。
所述的萃取劑中間槽與萃取劑投加裝置之間連通有萃取劑循環泵。
所述的輸送泵與萃取裝置連通有過濾器。
本實用新型與現有技術相比,具有以下優點及有益效果:
(1)本實用新型能夠將金剛烷胺生產過程中產生的胺化廢水和溴化廢水在中和反應池內進行酸堿中和以去除部分溶解性固體和有機物,然后在萃取裝置內采用絡合萃取法分離回收廢水中的金剛烷胺等有價物,最后在雙極膜電滲析裝置內采用雙極膜電滲析技術回收酸和堿,其具有成本低、處理效率高、物質回收利用率高等優點;
(2)本實用新型通過設置pH檢測儀能夠實時檢測中和反應池內液體的pH值,以便于監控中和反應的進度,通過設置攪拌機能夠幫助液體快速混合均勻,從而提高反應的速度以及效率,通過設置加藥裝置能夠向中和反應池內添加藥物以控制pH值保持在合適的范圍內,保證反應正常進行;
(3)本實用新型通過設置反萃取裝置能夠使萃取劑回收再利用,從而節約了成本,提高了物質利用率,通過使用萃取劑循環泵,能夠將反萃取后回收的萃取劑再次添加到取劑投加裝置內,有利于保證反應的進度不被打斷。



