申請日2016.05.13
公開(公告)日2016.11.30
IPC分類號B01D21/02; B01D21/28; B01D21/24
摘要
本實用新型公開了一種污水處理用斜管沉淀池,包括池體,所述池體由攪拌區和沉淀區組成,攪拌區設置在池體的左側,攪拌區內中心位置豎直設置有攪拌軸,攪拌軸上等間距安裝有多根攪拌桿,攪拌軸上一體式設置有螺旋葉片,攪拌軸底端設置有攪拌框,攪拌框上設置有側面刮板和底部刮板;所述沉淀區設置在池體的右邊,沉淀區底端設置有泥斗,泥斗上方正中心位置設置有倒置的喇叭形吸泥斗,吸泥斗通過排污管與排泥閥連接;所述沉淀區內設置有一級蜂窩斜管和二級蜂窩斜管,本實用新型污水在攪拌區內與藥劑混合充分,利于后面的沉淀作用,在沉淀池內,泥水分離率高,同時泥斗內的排泥效率高,泥斗不易堵塞。
權利要求書
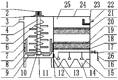
1.一種污水處理用斜管沉淀池,包括池體,其特征在于,所述池體由攪拌區和沉淀區組成,攪拌區設置在池體的左側,攪拌區的上側壁設置有進水口,攪拌區內中心位置豎直設置有攪拌軸,攪拌軸通過減速機與設置在攪拌區頂部的電機連接;所述攪拌軸上等間距安裝有多根攪拌桿,攪拌軸上一體式設置有螺旋葉片,螺旋葉片為渦輪結構;所述攪拌軸底端通過軸套固定設置有攪拌框,攪拌框呈U型結構,攪拌框兩側設置有側面刮板,攪拌框底部設置有底部刮板;所述沉淀區設置在池體的右邊,沉淀區和攪拌區通過通孔連通,通孔上設置有電磁閥,電磁閥與設在池體外部的PLC控制器電接;所述沉淀區底端設置有泥斗,泥斗上方正中心位置設置有倒置的喇叭形吸泥斗,吸泥斗通過排污管與排泥閥連接,排泥閥出口處連接有排泥口;所述沉淀區上設置有一級蜂窩斜管,一級蜂窩斜管通過連接筋連接,連接筋設置在一級蜂窩斜管的上端;所述一級蜂窩斜管上方設置有一組二級蜂窩斜管,二級蜂窩斜管上設有連接筋;所述沉淀區上部設置有溢流堰,溢流堰內設置有出水口。
2.根據權利要求1所述的污水處理用斜管沉淀池,其特征在于,所述側面刮板和底部刮板與攪拌區內壁相接觸。
3.根據權利要求1所述的污水處理用斜管沉淀池,其特征在于,所述一級蜂窩斜管下端設置有阻流板。
說明書
一種污水處理用斜管沉淀池
技術領域
本實用新型涉及一種沉淀池,具體是一種污水處理用斜管沉淀池。
背景技術
隨著人類社會的發展,人們對生態環境的破壞越來越大,人們為了保護環境,在排出污水之前一般都會進行處理。污水在處理前一般都會進行沉淀,這是由于污水內一般含有大量的污泥,污泥會對污水的后處理較大的影響,所以需要出去污水中大量的污泥。但是現代的沉淀池一般采用一級斜管沉降層,這樣沉淀效果不盡人意,而且污水經過沉降后,其中的污泥會沉降到沉淀池內的泥斗內,在利用污泥自身的重力從泥斗內排出,但是這種傳統的排泥方式,容易造成泥斗排泥閥的堵塞,排泥效率不高,針對上述問題,需要一種新型的沉淀池。
實用新型內容
本實用新型的目的在于提供一種污水處理用斜管沉淀池,以解決上述背景技術中提出的問題。
為實現上述目的,本實用新型提供如下技術方案:
一種污水處理用斜管沉淀池,包括池體,所述池體由攪拌區和沉淀區組成,攪拌區設置在池體的左側,攪拌區的上側壁設置有進水口,攪拌區內中心位置豎直設置有攪拌軸,攪拌軸通過減速機與設置在攪拌區頂部的電機連接;所述攪拌軸上等間距安裝有多根攪拌桿,攪拌軸上一體式設置有螺旋葉片,螺旋葉片為渦輪結構;所述攪拌軸底端通過軸套固定設置有攪拌框,攪拌框呈U型結構,攪拌框兩側設置有側面刮板,攪拌框底部設置有底部刮板;所述沉淀區設置在池體的右邊,沉淀區和攪拌區通過通孔連通,通孔上設置有電磁閥,電磁閥與設在池體外部的PLC控制器電接;所述沉淀區底端設置有泥斗,泥斗上方正中心位置設置有倒置的喇叭形吸泥斗,吸泥斗通過排污管與排泥閥連接,排泥閥出口處連接有排泥口;所述沉淀區上設置有一級蜂窩斜管,一級蜂窩斜管通過連接筋連接,連接筋設置在一級蜂窩斜管的上端;所述一級蜂窩斜管上方設置有一組二級蜂窩斜管,二級蜂窩斜管上設有連接筋;所述沉淀區上部設置有溢流堰,溢流堰內設置有出水口。
進一步的,所述側面刮板和底部刮板與攪拌區內壁相接觸。
進一步的,所述一級蜂窩斜管下端設置有阻流板。
與現有技術相比,本實用新型污水由管道混合器加藥后通過進水口進入攪拌區內,攪拌區內設置的攪拌軸上設置有攪拌桿、螺旋葉片、側面刮板和底部刮板,攪拌效率高,污水和藥劑混合更加充分,防止污泥沉降在攪拌區的內側壁上;在沉淀區設置有一級蜂窩斜管和二級蜂窩斜管,泥水分離效率更高,污泥被吸泥斗洗出,改變了傳統的排泥方法,排泥效率更高,防止泥斗堵塞。



