申請日2016.05.13
公開(公告)日2016.11.30
IPC分類號B01F13/10; C02F1/52; C02F101/20
摘要
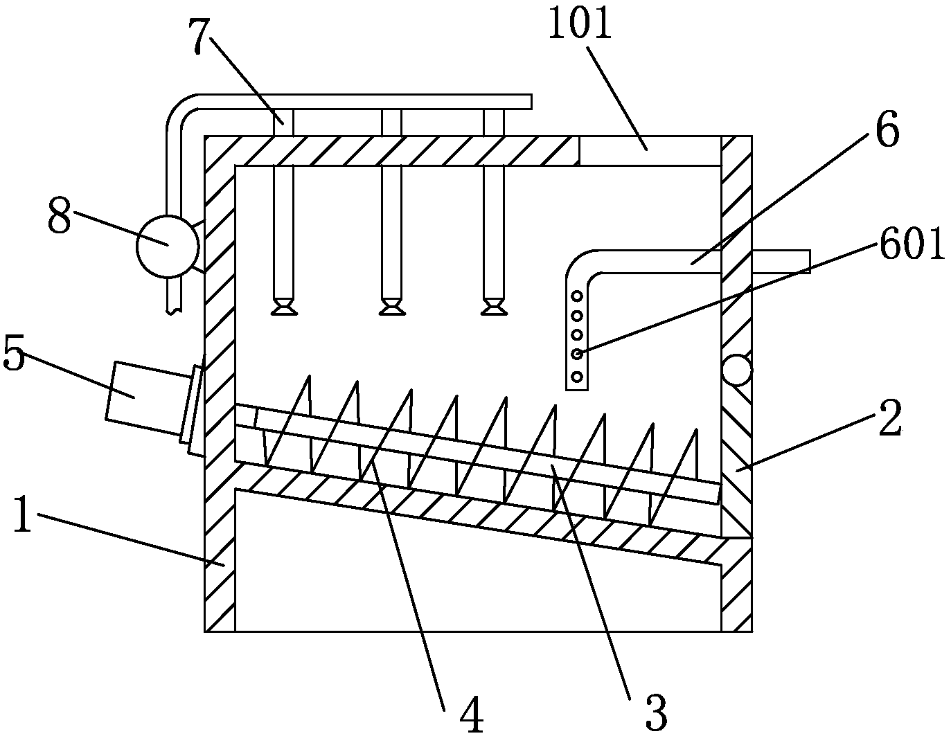
本實用新型涉及一種工業工程用污水凈化設備,包括設備外殼,所述設備外殼一側上設置有排料蓋板,所述設備外殼上端設置有進液孔,所述設備外殼底部呈傾斜布置,所述設備外殼底部設置有排料桿,所述排料桿上設置有螺旋葉片,所述排料桿一端與驅動電機相連接,所述設備外殼一側上設置有藥液加注管,所述藥液加注管上設置有若干個加液孔,所述設備外殼上設置有若干個進氣噴頭,所述進氣噴頭與進氣泵連接。本實用新型使用時,從藥液加注管加入到藥液,同時進氣泵經過進氣噴頭噴出氣體實現藥液與污水的充分混合,便于藥液對污水中的重金屬進行沉降,沉降速度快,效率高,且當沉降后在螺旋葉片的作用下可以將沉淀物的連續排出,提高了工作效率。
權利要求書
1.一種工業工程用污水凈化設備,包括設備外殼(1),所述設備外殼(1)一側上設置有排料蓋板(2),所述設備外殼(1)上端設置有進液孔(101),所述設備外殼(1)底部呈傾斜布置,其特征在于:所述設備外殼(1)底部設置有排料桿(3),所述排料桿(3)上設置有螺旋葉片(4),所述排料桿(3)一端與驅動電機(5)相連接,所述設備外殼(1)一側上設置有藥液加注管(6),所述藥液加注管(6)上設置有若干個加液孔(601),所述設備外殼(1)上設置有若干個進氣噴頭(7),所述進氣噴頭(7)與進氣泵(8)連接。
2.根據權利要求1所述的工業工程用污水凈化設備,其特征在于:所述排料桿(3)與螺旋葉片(4)之間為焊接連接。
3.根據權利要求1所述的工業工程用污水凈化設備,其特征在于:所述加液孔(601)的形狀為圓形或橢圓形。
4.根據權利要求1所述的工業工程用污水凈化設備,其特征在于:所述進氣噴頭(7)噴嘴處呈喇叭狀。
說明書
一種工業工程用污水凈化設備
技術領域
本實用新型涉工業技術領域,尤其涉及一種工業工程用污水凈化設備。
背景技術
污水,通常指受一定污染的、來自生活和生產的排出水。污水主要有生活污水、工業廢水和初期雨水。污水的主要污染物有病原體污染物、耗氧污染物、植物營養物和有毒污染物等。
根據污水來源的觀點,污水可以定義為從住宅、機關、商業或者工業區排放的與地下水、地表水、暴風雪等混合的攜帶有廢物的液體或者水。污水由許多類別,相應地減少污水對環境的影響也有許多技術和工藝。按照污水來源,污水可以分為這四類。第一類:工業廢水來自制造采礦和工業生產活動的污水,包括來自與工業或者商業儲藏、加工的徑流活滲瀝液,以及其它不是生活污水的廢水。第二類:生活污水來自住宅、寫字樓、機關或相類似的污水;衛生污水;下水道污水,包括下水道系統中生活污水中混合的工業廢水。第三類:商業污水來自商業設施而且某些成分超過生活污水的無毒、無害的污。如餐飲污水。洗衣房污水、動物飼養污水,發廊產生的污水等。第四類:表面徑流來自雨水、雪水、高速公路下水,來自城市和工業地區的水等等,表面徑流沒有滲進土壤,沿街道和陸地進入地下水。
現有污水在處理過程中需要對污水中的重金屬進行沉降,現有凈化池在沉降過程中一般只依靠重力來實現沉降,這樣沉降效果差,且沉降后的沉淀物需要人工挖出,造成工作強度大,效率低。
實用新型內容
本實用新型的目的是為了克服現有技術的不足,提供了一種 工業工程用污水凈化設備。
本實用新型是通過以下技術方案實現:
一種工業工程用污水凈化設備,包括設備外殼,所述設備外殼一側上設置有排料蓋板,所述設備外殼上端設置有進液孔,所述設備外殼底部呈傾斜布置,所述設備外殼底部設置有排料桿,所述排料桿上設置有螺旋葉片,所述排料桿一端與驅動電機相連接,所述設備外殼一側上設置有藥液加注管,所述藥液加注管上設置有若干個加液孔,所述設備外殼上設置有若干個進氣噴頭,所述進氣噴頭與進氣泵連接。
作為本實用新型的優選技術方案,所述排料桿與螺旋葉片之間為焊接連接。
作為本實用新型的優選技術方案,所述加液孔的形狀為圓形或橢圓形。
作為本實用新型的優選技術方案,所述進氣噴頭噴嘴處呈喇叭狀。
與現有的技術相比,本實用新型的有益效果是:本實用新型結構簡單,設計合理,本實用新型通過設置藥液加注管、螺旋葉片與進氣噴頭,這樣使用時,從藥液加注管加入到藥液,同時進氣泵經過進氣噴頭噴出氣體實現藥液與污水的充分混合,便于藥液對污水中的重金屬進行沉降,沉降速度快,效率高,且當沉降后在螺旋葉片的作用下可以將沉淀物的連續排出,避免了人工挖出,降低了勞動強度,提高了工作效率。



