申請日2016.05.13
公開(公告)日2016.11.30
IPC分類號B01D36/04
摘要
本實用新型公開了一種用于水處理的過濾器,包括箱體,箱體的內部設置有將箱體內部空間分隔為沉淀腔和過濾腔的隔板,隔板的頂端與箱體的頂面之間形成溢流口,箱體的頂部設置有連通沉淀腔的進水管,箱體的底部設置有連通過濾腔的出水管,沉淀腔的頂部設置有擋流板,過濾腔的內部設置有過濾網組件,所述的進水管并聯有至少一個加藥裝置。本實用新型的有益效果是:運行穩定,同時兼具了加藥、沉淀和過濾功能,降低了運行成本。實現了固體藥劑的自動添加,并且添加量與水流流速成正比。
權利要求書
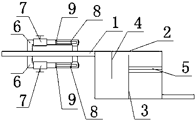
1.一種用于水處理的過濾器,其特征在于:包括箱體,箱體的內部設置有將箱體內部空間分隔為沉淀腔和過濾腔的隔板,隔板的頂端與箱體的頂面之間形成溢流口,箱體的頂部設置有連通沉淀腔的進水管,箱體的底部設置有連通過濾腔的出水管,沉淀腔的頂部設置有擋流板,過濾腔的內部設置有過濾網組件,所述的進水管并聯有至少一個加藥裝置,所述的加藥裝置均包括一個與進水管并聯的支管,支管上設置有控制閥,支管的內部設置有用于盛裝固體藥劑的藥劑網盒和一個用于安裝所述藥劑網盒的支架,所述的支管連接有一個三通,三通的一個端口連接支管,三通的第二個端口連接進水管,三通的第三個端口安裝有封蓋,所述的第一端口和第三端口的軸心線重合。
2.根據權利要求1所述的一種用于水處理的過濾器,其特征在于:所述的過濾網組件由多層過濾層構成。
3.根據權利要求1所述的一種用于水處理的過濾器,其特征在于:還包括控制裝置,所述的控制裝置為PLC可編程控制系統,所述的控制閥為電磁閥,所述的PLC可編程控制系統連接控制閥。
4.根據權利要求3所述的一種用于水處理的過濾器,其特征在于:還包括無線網絡組件,所述無線網絡組件與所述控制裝置連接。
說明書
一種用于水處理的過濾器
技術領域
本實用新型涉及一種用于水處理的過濾器。
背景技術
污水處理中,磷是重要的監測指標,對于內陸水體,磷是水體富營養化的主要限制因素,《城鎮污水處理廠污染物排放標準》(GB18918-2002)確定的城鎮污水處理廠出水標準,對總磷排放要求的標準為:一級A標準為0.5mg/l(以P計,下同),一級B標準為1.0mg/l,二級標準為3.0mg/l。近兩年來,國家對環境治理的力度加大,污水處理工藝也朝著注重生化處理、物化處理、生態處理相結合,注重水回用方面發展。
目前,化學除磷方法在深度處理中對磷的去除率能達到99%以上,且穩定可靠,因而得到了越來越多的廣泛應用。
但是,目前的化學除磷方法仍存在以下幾點不足,一是運行管理較生物處理復雜,由于化學除磷方法中需要加藥、絮凝沉淀、過濾等多個步驟分別進行工藝較復雜,需分別建設加藥裝置、絮凝沉淀裝置以及過濾裝置,投資、運行費用以及占地面積較大。
發明內容
本實用新型的目的在于克服現有技術的缺點,提供一種用于水處理的過濾器。
本實用新型的目的通過以下技術方案來實現:一種用于水處理的過濾器,包括箱體,箱體的內部設置有將箱體內部空間分隔為沉淀腔和過濾腔的隔板,隔板的頂端與箱體的頂面之間形成溢流口,箱體的頂部設置有連通沉淀腔的進水管,箱體的底部設置有連通過濾腔的出水管,沉淀腔的頂部設置有擋流板,過濾腔的內部設置有過濾網組件,所述的進水管并聯有至少一個加藥裝置,所述的加藥裝置均包括一個與進水管并聯的支管,支管上設置有控制閥,支管的內部設置有用于盛裝固體藥劑的藥劑網盒和一個用于安裝所述藥劑網盒的支架,所述的支管連接有一個三通,三通的一個端口連接支管,三通的第二個端口連接進水管,三通的第三個端口安裝有封蓋,所述的第一端口和第三端口的軸心線重合,從而打開封蓋即可完成藥劑網盒的更換。
藥劑網盒為采用金屬網制成的盒子,通過水流流過藥劑網盒時的沖刷作用,從藥劑網盒內將藥劑攜帶走,實現了固體藥劑的自動添加,并且添加量與水流流速成正比。
所述的過濾網組件由多層過濾層構成。
所述的用于水處理的過濾器還包括控制裝置,所述的控制裝置為PLC可編程控制系統,所述的控制閥為電磁閥,所述的PLC可編程控制系統連接控制閥。
所述的用于水處理的過濾器還包括無線網絡組件,所述無線網絡組件與所述控制裝置連接,從而實現無線監控和運轉。
本實用新型具有以下優點:
本實用新型運行穩定,同時兼具了加藥、沉淀和過濾功能,降低了運行成本。實現了固體藥劑的自動添加,并且添加量與水流流速成正比。



