申請日2016.05.13
公開(公告)日2016.11.30
IPC分類號C02F11/12
摘要
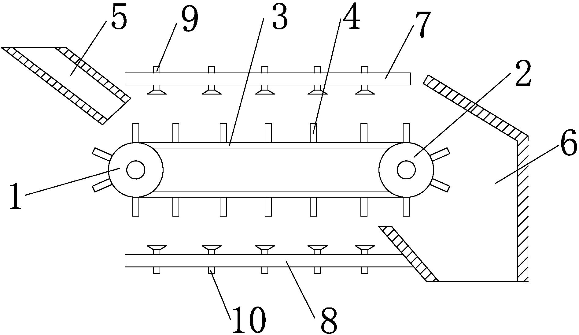
本實用新型涉及一種工業污泥干燥設備,包括進料管、排料管,還包括第一驅動輥、第二驅動輥,所述第一驅動輥、第二驅動輥外側纏繞有輸送帶,所述輸送帶呈網狀結構,所述輸送帶表面上設置有若干個排料葉片,所述輸送帶上側設置有上固定板,下側設置有下固定板,所述上固定板上設置有若干個上烘干噴頭,所述下固定板上設置有若干個下烘干噴頭。本實用新型使用時,從進料管將污泥加入第一驅動輥、第二驅動輥上的輸送帶上,此時上烘干噴頭與下烘干噴頭產生熱風將污泥在輸送過程中快速烘干,實現連續烘干,烘干速度快,且效果好。
權利要求書
1.一種工業污泥干燥設備,包括進料管(5)、排料管(6),其特征在于:還包括第一驅動輥(1)、第二驅動輥(2),所述第一驅動輥(1)、第二驅動輥(2)外側纏繞有輸送帶(3),所述輸送帶(3)呈網狀結構,所述輸送帶(3)表面上設置有若干個排料葉片(4),所述輸送帶(3)上側設置有上固定板(7),下側設置有下固定板(8),所述上固定板(7)上設置有若干個上烘干噴頭(9),所述下固定板(8)上設置有若干個下烘干噴頭(10)。
2.根據權利要求1所述的工業污泥干燥設備,其特征在于:所述輸送帶(3)與排料葉片(4)之間為固定連接。
3.根據權利要求1所述的工業污泥干燥設備,其特征在于:所述上烘干噴頭(9)噴氣方向朝下,所述下烘干噴頭(10)噴氣方向朝上。
4.根據權利要求1所述的工業污泥干燥設備,其特征在于:所述上烘干噴頭(9)、下烘干噴頭(10)噴嘴處呈喇叭狀。
說明書
一種工業污泥干燥設備
技術領域
本實用新型涉工業技術領域,尤其涉及一種工業污泥干燥設備。
背景技術
污水,通常指受一定污染的、來自生活和生產的排出水。污水主要有生活污水、工業廢水和初期雨水。污水的主要污染物有病原體污染物、耗氧污染物、植物營養物和有毒污染物等。
根據污水來源的觀點,污水可以定義為從住宅、機關、商業或者工業區排放的與地下水、地表水、暴風雪等混合的攜帶有廢物的液體或者水。污水由許多類別,相應地減少污水對環境的影響也有許多技術和工藝。按照污水來源,污水可以分為這四類。第一類:工業廢水來自制造采礦和工業生產活動的污水,包括來自與工業或者商業儲藏、加工的徑流活滲瀝液,以及其它不是生活污水的廢水。第二類:生活污水來自住宅、寫字樓、機關或相類似的污水;衛生污水;下水道污水,包括下水道系統中生活污水中混合的工業廢水。第三類:商業污水來自商業設施而且某些成分超過生活污水的無毒、無害的污。如餐飲污水。洗衣房污水、動物飼養污水,發廊產生的污水等。第四類:表面徑流來自雨水、雪水、高速公路下水,來自城市和工業地區的水等等,表面徑流沒有滲進土壤,沿街道和陸地進入地下水。污泥是由水和污水處理過程所產生的固體沉淀物質。
現有污泥在處理過程中需要對污泥中進行干燥,現有的干燥箱在干燥過程中連續性差,烘干效率低。
實用新型內容
本實用新型的目的是為了克服現有技術的不足,提供了一種工業污泥干燥設備。
本實用新型是通過以下技術方案實現:
一種工業污泥干燥設備,包括進料管、排料管,還包括第一驅動輥、第二驅動輥,所述第一驅動輥、第二驅動輥外側纏繞有輸送帶,所述輸送帶呈網狀結構,所述輸送帶表面上設置有若干個排料葉片,所述輸送帶上側設置有上固定板,下側設置有下固定板,所述上固定板上設置有若干個上烘干噴頭,所述下固定板上設置有若干個下烘干噴頭。
作為本實用新型的優選技術方案,所述輸送帶與排料葉片之間為固定連接。
作為本實用新型的優選技術方案,所述上烘干噴頭噴氣方向朝下,所述下烘干噴頭噴氣方向朝上。
作為本實用新型的優選技術方案,所述上烘干噴頭、下烘干噴頭噴嘴處呈喇叭狀。
與現有的技術相比,本實用新型的有益效果是:本實用新型結構簡單,設計合理,本實用新型通過設置第一驅動輥、第二驅動輥、排料葉片、上烘干噴頭與下烘干噴頭,這樣使用時,從進料管將污泥加入第一驅動輥、第二驅動輥上的輸送帶上,此時上烘干噴頭與下烘干噴頭產生熱風將污泥在輸送過程中快速烘干,實現連續烘干,烘干速度快,且效果好。



