申請日2016.05.13
公開(公告)日2016.12.07
IPC分類號F25B30/02; F25B30/06
摘要
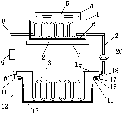
本實用新型公開了一種污水水源熱泵,包括冷凝箱、冷凝換熱管和蒸發換熱管,所述冷凝箱上端設有排風管,排風管中設有風機,風機的作用是將冷凝箱中的熱風和冷風帶出,冷凝箱底面設有漏水板,漏水板下端設有集水槽,冷凝箱中設有冷凝換熱管,冷凝換熱管的左右管口分布穿過冷凝箱左右側壁,且分別于一號導管和二號導管上端口相接,一號導管和二號導管上分別設有壓縮機和膨脹閥,一號導管和二號導管下端分別連接左右固定連接管,左右固定連接管之間設有蒸發換熱管,本實用新型結構簡單、合理,通過不同季節城市污水中熱量的不同,從而減輕了熱泵的工作負擔,保證了熱泵的制熱性能,同時也實現了熱量的回收利用,起到節能環保的作用。
權利要求書
1.一種污水水源熱泵,包括冷凝箱、冷凝換熱管和蒸發換熱管,其特征在于,所述冷凝箱上端設有排風管,排風管中設有風機,風機的作用是將冷凝箱中的熱風和冷風帶出,冷凝箱底面設有漏水板,漏水板下端設有集水槽,冷凝箱中設有冷凝換熱管,冷凝換熱管的左右管口分布穿過冷凝箱左右側壁,且分別于一號導管和二號導管上端口相接,一號導管和二號導管上分別設有壓縮機和膨脹閥,一號導管和二號導管下端分別連接左右固定連接管,左右固定連接管之間設有蒸發換熱管,蒸發換熱管外側設有保護罩,保護罩外側設有安裝板,安裝板下端兩側設有支腿,與保護罩相接的安裝板上設有支承,支承的作用是方便保護罩的轉動,保護罩上端外側設有從動齒環,靠近從動齒環的安裝板上端設有驅動電機,驅動電機的輸出端設有驅動齒輪,驅動齒輪與從動齒環嚙合。
2.根據權利要求1所述的一種污水水源熱泵,其特征在于,所述冷凝換熱管和蒸發換熱管為蛇形盤管。
3.根據權利要求1所述的一種污水水源熱泵,其特征在于,所述保護罩表面均勻布有換水孔。
4.根據權利要求1所述的一種污水水源熱泵,其特征在于,所述驅動電機通過螺栓固定在安裝板上。
5.根據權利要求1所述的一種污水水源熱泵,其特征在于,所述固定連接管上還設有支撐套,支撐套和安裝板之間設有支撐桿。
說明書
一種污水水源熱泵
技術領域
本實用新型涉及一種換熱裝置,具體是一種污水水源熱泵。
背景技術
常規的水源熱泵熱水器,通常利用外部水源為熱泵機組提供熱源,通過水源熱泵機組的熱轉移來制備熱水,外部水源有地下水、地表水、海水、污水或地埋管的循環水,這些外部水源的獲取,需要附加管道、一號水泵,投資較高。家用熱泵熱水器通常使用空氣源熱泵熱水器來制備熱水,空氣源熱泵熱水器,制備熱水的熱源來源于空氣,在外界空氣氣溫較低的情況下,制熱水的能耗就會增大,實際上城市下水道中的污水也含有大量的熱量,但是下水道中垃圾較多,垃圾覆蓋在換熱管上會影響裝置的換熱效果,為了避免上述問題的發生,現提供一種污水水源熱泵。
實用新型內容
本實用新型的目的在于提供一種污水水源熱泵,以解決上述背景技術中提出的問題。
為實現上述目的,本實用新型提供如下技術方案:
一種污水水源熱泵,包括冷凝箱、冷凝換熱管和蒸發換熱管,所述冷凝箱上端設有排風管,排風管中設有風機,風機的作用是將冷凝箱中的熱風和冷風帶出,冷凝箱底面設有漏水板,漏水板下端設有集水槽,冷凝箱中設有冷凝換熱管,冷凝換熱管的左右管口分布穿過冷凝箱左右側壁,且分別于一號導管和二號導管上端口相接,一號導管和二號導管上分別設有壓縮機和膨脹閥,一號導管和二號導管下端分別連接左右固定連接管,左右固定連接管之間設有蒸發換熱管,蒸發換熱管外側設有保護罩,保護罩外側設有安裝板,安裝板下端兩側設有支腿,與保護罩相接的安裝板上設有支承,支承的作用是方便保護罩的轉動,保護罩上端外側設有從動齒環,靠近從動齒環的安裝板上端設有驅動電機,驅動電機的輸出端設有驅動齒輪,驅動齒輪與從動齒環嚙合。
作為本實用新型進一步的方案:所述冷凝換熱管和蒸發換熱管為蛇形盤管。
作為本實用新型進一步的方案:所述保護罩表面均勻布有換水孔。
作為本實用新型進一步的方案:所述驅動電機通過螺栓固定在安裝板上。
作為本實用新型進一步的方案:所述固定連接管上還設有支撐套,支撐套和安裝板之間設有支撐桿。
與現有技術相比,本實用新型的有益效果是:本實用新型在蒸發換熱管外側設有保護罩,保護罩的作用是避免垃圾覆蓋在蒸發換熱管表面,與保護罩相接的安裝板上設有支承,支承的作用是方便保護罩的轉動,保護罩上端外側設有從動齒環,靠近從動齒環的安裝板上端設有驅動電機,驅動電機通過螺栓固定在安裝板上,驅動電機的輸出端設有驅動齒輪,驅動齒輪與從動齒環嚙合,驅動電機的作用是通過驅動齒輪帶動從動齒環轉動,進而帶動保護罩轉動,這樣就避免污水流動時垃圾全部堵在保護罩外側,進而保證了保護罩內污水良好的流通性,進而保證了裝置的換熱性能,本實用新型結構簡單、合理,通過不同季節城市污水中熱量的不同,從而減輕了熱泵的工作負擔,保證了熱泵的制熱性能,同時也實現了熱量的回收利用,起到節能環保的作用。



